Честно говоря, про такой режим работы указателей поворотов на некоторых новых автомобилях слышал: при кратковременном перемещении и отпускании рычага включения указателей поворотов, поворотники автоматически отрабатывают 3 «моргания». Это очень удобно при движении на трассе: для указания начала перестроения достаточно 2 – 3 «морганий», а переводить рычаг включения «поворотников» в фиксированное положение не хочется, т.к. режим самовозврата при минимальном повороте руля не работает. Поэтому приходится удерживать рычаг пару секунд пальцем.
Собственно, ездил бы я и без этого спокойно… Но некоторые поставили себе такую «фичу». Кто-то «радуется жизни»….
А у меня нету. Не справедливо! Решил и я повторить конструкцию «ленивых поворотников». Уже мечтал: наконец-то я «прошью» ATtiny13 контроллер… Открываю электрическую схему… Во, блин, а в Субару схема поворотников не такая: там подрулевой выключатель «подаёт массу» на один из входов «реле указателей поворотов и аварийной сигнализации», а уже с него выходят провода на лампы. Современный автомобиль – не стали они силовые цепи ламп через выключатель на рулевой колонке пускать! Кстати, и кнопка включения аварийной сигнализации до безумного проста — один контакт на замыкание (тоже на массу).
.
С одной стороны «не так», а с другой стороны — проще в реализации будет, не потребуются силовые реле и мощные ключи в эту «приспособу» ставить — достаточно будет «удерживать землю» любым маломощным ключом.
Вот с такими мыслями я лёг спать в пятницу.
Просыпаюсь в субботу, жена с дочкой готовят завтрак, я потягиваюсь в постели… И тут в голове выстраивается логическая цепочка: «превратить короткий импульс в длинный» — «сформировать импульс определённой длительности» — «формирователь импульса» — «одновибратор» — блин, да это же одна микросхема 155АГ3 !
Выскакиваю из постели, бегом к книжному шкафу – вот она: В.Л.Шило «Популярные цифровые микросхемы». Отыскиваю микросхему 155АГ3. Читаю: «Микросхема содержит два перезапускаемых одновибратора, с возможностью прерывания импульса». Это мне как раз и нужно! К тому же полная свобода выбора: «Одновибратор имеет 2 входа – один для запуска отрицательным импульсом, второй – положительным, а также два парафазных выхода». Да ещё и внешние ключи не потребуются – «Максимальный выходной ток микросхемы 40 мА». Надо же, микросхема, разработанная более 40 лет назад, точно подходит для Subaru! Невероятно!
Какой завтрак, какой кофе! Вытаскиваю из «закромов» кассеты с микросхемами… вот она: К555АГ3! Аж 3 штуки. Отлично, 555 серия имеет меньший потребляемый ток, по сравнению со 155. Конструкции быть! Сегодня же.
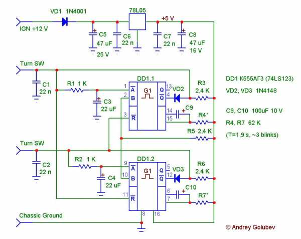
Позавтракав, набрасываю карандашом схемку. Вот её окончательный вариант:

Так как включение поворотника – это замыкание выключателя на землю, т.е отрицательный импульс – сигнал подаём на вход Ā одновибратора. Вход B не используем, поэтому «притягиваем» его к +5 В через резистор. Выход используем тоже инверсный – подключаем его ко входу через диод, чтобы не коротить его на землю при включении поворотника.
При подаче кратковременного отрицательного импульса на вывод 1 (9), одновибратор формирует отрицательный импульс на выводе 4 (12) заданной длительности. Длительность устанавливается RC цепочкой, подключенной к выводам 14 и 15 (6 и 7). При указанных на схеме номиналах R4C9 (R7C10), длительность формируемого импульса составляет около 1,8 с, что соответствует трём морганиям поворотников.
Одновибраторы перезапускаемые, т.е. если в течении этих «трёх морганий» мы снова кратковременно дёрнем рычаг в ту же сторону, то сигнал продлится ещё на три моргания. Так можно делать до бесконечности.
Если же мы переведём рычаг в фиксированное положение, и выключим его уже после трёх морганий, т.е. когда импульс на выходе одновибратора прекратится, то «продления» сигнала не произойдёт.
Чтобы при включении одного поворотника (во время трёх морганий противоположного) сигнал противоположного прерывался – заводим вход одного одновибратора на вход Reset другого одновибратора и наоборот. При поступлении отрицательного импульса на вывод 3 (11) — формируемый импульс на выходе прекращается.
Вот, собственно и всё. Питание +12 В (от цепи зажигания) подаём на микросхему через интегральный стабилизатор 78L05. От случайной переполюсовки вход защищаем диодом. Для защиты от импульсных помех и высокочастотных наводок входы защищаем конденсаторами (C1, C2).
Забегая вперёд скажу о назначении интегрирующих RC цепочек на входах одновибраторов. При отлаживании устройства в машине, выяснилась странная особенность работы выключателя поворотников: при переводе рычага из фиксированного положения в нейтральное (в момент перехода из фиксированного в нефиксированное положение), происходит кратковременное размыкание цепи, что равносильно выключению и повторному кратковременному включению поворотников. Естественно одновибратор воспринимает это как повторный запускающий импульс и начинает «продлевать» сигнал. Кроме того, при резком переводе рычага из фиксированного положения в нейтральное, рычаг «выстреливает» и успевает кратковременно замкнуть цепь противоположного направления, что также воспринимается одновибратором как запускающий импульс. Поэтому пришлось ввести некоторую задержку сигнала на элементах R1C3 и R2C4. Ёмкость этих конденсаторов можно поднять до 47 мкФ.
Подбираю остальные детали. Нашёлся и подходящий корпус – упаковка от магнитной головки кассетного магнитофона. Отпиливаю по размерам корпуса кусок макетной платы. Сажусь паять.

«Засада» ждала меня в виде отсутствующего дома подходящего миниатюрного 4-х контактного разъёма. Нашлось два 2-х контактных. Пришлось один покрасить в красный цвет перманентным маркером…
Итак, схема спаяна.

Из корпуса удаляются лишние перегородки, рёбра по краям оставлены для фиксации платы. В корпусе «проделаны» отверстия под разъёмы.

Устанавливаем плату. Как «родная».

Закрываем корпус, прихватив его на пару капель моментального клея.

Проверяем в работе. Измеряем потребляемый ток – 14 мА. Отлично, можно идти устанавливать в машину.

Разбираем торпеду: «отдираем» боковую панель. Откручиваем 2 винта и снимаем нижнюю панель. Вот и искомое реле «FLASHER».

Снимаем всю панель с реле, отсоединяем «FLASHER», и к его разъёму подключаем провода: «Масса» – чёрный. «+12 В зажигание» – зелёный с синей полосой (не спутайте с просто зелёным – это включение «аварийки»!). «Выключатель поворотов, левый» – синий с чёрной полосой. «Выключатель поворотов, правый» – красный с чёрной полосой. Для моего устройства, куда подключается левый куда правый, не важно.

Закрепляем на самоклеящуюся «липучку» прямо к корпусу реле.

Проверяем. Работает правильно (после добавления RC цепочек на входе :). Сбоев нет. Собираем торпеду в обратном порядке.

Сегодня поездил по городу. На ТТК при интенсивном движении на обгонах помогает, хотя и непривычно. Может бы я довольно резко перестраиваюсь в потоке, но мне почему-то двух морганий хватает… Появляется желание «выключить» рукой. Привыкнуть нужно.
Другие функции на это устройство я не возлагал. Мне они не нужны. —————————————
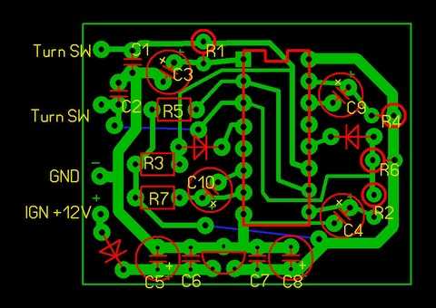
Один из вариантов платы, доработанный мною:

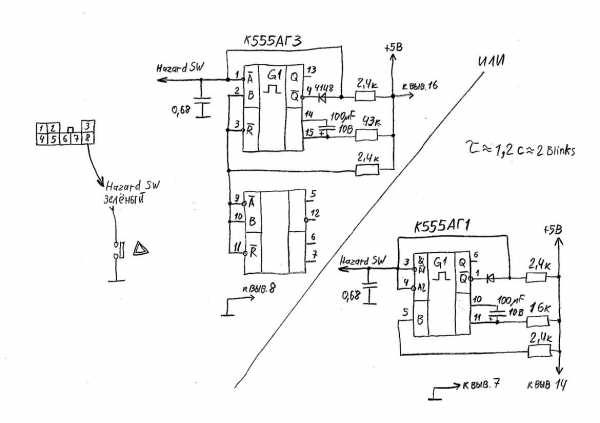
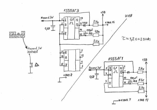
Если у вас есть желание сделать режим «спасибо» – продление «аварийки» на 2 моргания – нужно добавить ещё один одновибратор: либо поставить вторую 555АГ3, и использовать в ней только один одновибратор, либо поставить 555АГ1, которая содержит только один одновибратор. Подключается он к зелёному (без полосы) проводу того же реле. Вот схема:

Можно сделать и автоматическое включение «аварийки» при движении задним ходом – один транзистор, 2 резистора. Тогда придётся в этот «девайс» завести ещё и сигнал от цепи фонарей заднего хода.
По прошестви месяца хочу поделиться впечатлениями. Первую неделю непривычно, даже раздражает, успокаивал себя тем, что любой момент могу отключить, отсоединив разъём.
А потом… Это такой кайф! Это «правильный поворотник»! Я часто маневрирую в потоке, и всегда моргаю поворотником. С «удлиннителем» это делать намного приятнее.
За майские праздники проехал 750 км по подмосковным (и калужским) дорогам — так удобно! Если затягиваешь манёвр и чувствуешь, что в «три моргания» не завершишь — тыкаешь ещё раз и время продлевается ещё на «три моргания».
Теперь не представляю, как раньше жил без этого? А всего-то… одна микросхема!
И еще хочу отметить один момент, кто из нас не мечтает об отпуске, отдохнуть, попутешествовать. Всем нам требуется отдых , хочется иногда просто собраться, бросить работу и уехать к примеру тур в испанию из москвы. Говорят в Испании отличный туризм, съездить отдохнуть пару недель и вернуться, бодрым, отдохнувшим и полным сил…
www.elektrik-avto.ru

Комфортное и безопасное вождение с «Комфортными поворотниками»!!!
Во многих автомобилях не хватает удобной функции — несколько миганий поворотниками после легкого касания переключателя. Тронул переключатель и перестроился в другой ряд, поворотник мигнул несколько раз и отключился сам. А еще и при движении задним ходом хорошо бы привлечь к себе внимание, включив аварийку. Без таких простых и нужных автоматических функций отвлекаешься на включение-выключение, забываешь выключить, дезинформируешь других водителей. Даже просто сказать «спасибо», мигнув аварийкой — не самое безопасное занятие. Ведь нужно включить и выключить аварийку, маневрируя при этом в плотном потоке автомобилей… Попробуем добавить немного комфорта и безопасности!
С устройством «Комфортные поворотники + Спасибо» вы получаете сразу три автоматических устройства в одном — удлинение сигнала поворота, аварийная сигнализация при движении задним ходом и «спасибо». Теперь вам не надо заботиться об удобном использовании поворотников при перестроении, о включении аварийки при движении задом и о неудобном включении-выключении аварийки, когда хотите поблагодарить других водителей. И все это — в одном маленьком устройстве с большими возможностями:
«Комфортные поворотники» не изменяют, а всего лишь дополняют штатные возможности поворотников! Есть всего лишь одна проблема — к комфорту очень быстро привыкаешь, а безопасности никогда не бывает слишком много!
ХАРАКТЕРИСТИКИ
КОМПЛЕКТАЦИЯ
ПОЛНЫЙ НАБОР — готовое к установке устройство с дополнительными элементами в наборе:
— устройство Комфортные поворотники с проводами — 1шт
— стяжка пластиковая — 2шт
— диод — 1шт
— инструкция по установке и настройке — 1шт
Комплект упакован в полиэтиленовый Zip-пакет. Для доставки почтовыми службами комплект дополнительно упаковывается в жесткую картонную коробку с пузырьковой пленкой. Возможна упаковка более одного комплекта в одну коробку.
СКАЧАТЬ инструкцию «Комфортные поворотники 12 ВОЛЬТ» ПОЛНЫЙ НАБОР (PDF)
СКАЧАТЬ инструкцию «Комфортные поворотники ЗЕМЛЯ» ПОЛНЫЙ НАБОР (PDF)
СОБРАННАЯ ПЛАТА — собранная и прошитая плата устройства Комфортные поворотники:
— собранная плата — 1шт
— инструкция по установке и настройке — 1шт
Для установки потребует пайки пяти проводов к плате. Этот набор для сборки не включает в себя провода и стяжки и подразумевает самостоятельный выбор способа установки в автомобиль. Комплект упакован в полиэтиленовый Zip-пакет. Для доставки почтовыми службами комплект дополнительно упаковывается в жесткую картонную коробку с пузырьковой пленкой. Возможна упаковка более одного комплекта в одну коробку.
СКАЧАТЬ инструкцию «Комфортные поворотники 12 ВОЛЬТ» СОБРАННАЯ ПЛАТА (PDF)
СКАЧАТЬ инструкцию «Комфортные поворотники ЗЕМЛЯ» СОБРАННАЯ ПЛАТА (PDF)
Видео от нашего клиента по настройке и использованию устройства:
Обзор функции удлиннения:
Видео работы на SUZUKI Grand Vitara:
ledtune.com
Честно говоря, про такой режим работы указателей поворотов на некоторых новых автомобилях слышал: при кратковременном перемещении и отпускании рычага включения указателей поворотов, поворотники автоматически отрабатывают 3 «моргания». Это очень удобно при движении на трассе: для указания начала перестроения достаточно 2 – 3 «морганий», а переводить рычаг включения «поворотников» в фиксированное положение не хочется, т.к. режим самовозврата при минимальном повороте руля не работает. Поэтому приходится удерживать рычаг пару секунд пальцем.
Собственно, ездил бы я и без этого спокойно… Но некоторые поставили себе такую «фичу». Кто-то «радуется жизни»….
А у меня нету. Не справедливо! Решил и я повторить конструкцию «ленивых поворотников». Уже мечтал: наконец-то я «прошью» ATtiny13 контроллер… Открываю электрическую схему… Во, блин, а в Субару схема поворотников не такая: там подрулевой выключатель «подаёт массу» на один из входов «реле указателей поворотов и аварийной сигнализации», а уже с него выходят провода на лампы. Современный автомобиль – не стали они силовые цепи ламп через выключатель на рулевой колонке пускать! Кстати, и кнопка включения аварийной сигнализации до безумного проста — один контакт на замыкание (тоже на массу).
.Вот с такими мыслями я лёг спать в пятницу.
Просыпаюсь в субботу, жена с дочкой готовят завтрак, я потягиваюсь в постели… И тут в голове выстраивается логическая цепочка: «превратить короткий импульс в длинный» — «сформировать импульс определённой длительности» — «формирователь импульса» — «одновибратор» — блин, да это же одна микросхема 155АГ3 !
Выскакиваю из постели, бегом к книжному шкафу – вот она: В.Л.Шило «Популярные цифровые микросхемы». Отыскиваю микросхему 155АГ3. Читаю: «Микросхема содержит два перезапускаемых одновибратора, с возможностью прерывания импульса». Это мне как раз и нужно! К тому же полная свобода выбора: «Одновибратор имеет 2 входа – один для запуска отрицательным импульсом, второй – положительным, а также два парафазных выхода». Да ещё и внешние ключи не потребуются – «Максимальный выходной ток микросхемы 40 мА». Надо же, микросхема, разработанная более 40 лет назад, точно подходит для Subaru! Невероятно!
Какой завтрак, какой кофе! Вытаскиваю из «закромов» кассеты с микросхемами… вот она: К555АГ3! Аж 3 штуки. Отлично, 555 серия имеет меньший потребляемый ток, по сравнению со 155. Конструкции быть! Сегодня же.Позавтракав, набрасываю карандашом схемку. Вот её окончательный вариант:

При подаче кратковременного отрицательного импульса на вывод 1 (9), одновибратор формирует отрицательный импульс на выводе 4 (12) заданной длительности. Длительность устанавливается RC цепочкой, подключенной к выводам 14 и 15 (6 и 7). При указанных на схеме номиналах R4C9 (R7C10), длительность формируемого импульса составляет около 1,8 с, что соответствует трём морганиям поворотников.
Одновибраторы перезапускаемые, т.е. если в течении этих «трёх морганий» мы снова кратковременно дёрнем рычаг в ту же сторону, то сигнал продлится ещё на три моргания. Так можно делать до бесконечности.
Если же мы переведём рычаг в фиксированное положение, и выключим его уже после трёх морганий, т.е. когда импульс на выходе одновибратора прекратится, то «продления» сигнала не произойдёт.
Чтобы при включении одного поворотника (во время трёх морганий противоположного) сигнал противоположного прерывался – заводим вход одного одновибратора на вход Reset другого одновибратора и наоборот. При поступлении отрицательного импульса на вывод 3 (11) — формируемый импульс на выходе прекращается.
Вот, собственно и всё. Питание +12 В (от цепи зажигания) подаём на микросхему через интегральный стабилизатор 78L05. От случайной переполюсовки вход защищаем диодом. Для защиты от импульсных помех и высокочастотных наводок входы защищаем конденсаторами (C1, C2).
Забегая вперёд скажу о назначении интегрирующих RC цепочек на входах одновибраторов. При отлаживании устройства в машине, выяснилась странная особенность работы выключателя поворотников: при переводе рычага из фиксированного положения в нейтральное (в момент перехода из фиксированного в нефиксированное положение), происходит кратковременное размыкание цепи, что равносильно выключению и повторному кратковременному включению поворотников. Естественно одновибратор воспринимает это как повторный запускающий импульс и начинает «продлевать» сигнал. Кроме того, при резком переводе рычага из фиксированного положения в нейтральное, рычаг «выстреливает» и успевает кратковременно замкнуть цепь противоположного направления, что также воспринимается одновибратором как запускающий импульс. Поэтому пришлось ввести некоторую задержку сигнала на элементах R1C3 и R2C4. Ёмкость этих конденсаторов можно поднять до 47 мкФ.
Подбираю остальные детали. Нашёлся и подходящий корпус – упаковка от магнитной головки кассетного магнитофона. Отпиливаю по размерам корпуса кусок макетной платы. Сажусь паять.
Итак, схема спаяна.
Другие функции на это устройство я не возлагал. Мне они не нужны.
—————————————
Один из вариантов платы, доработанный мною:
Если у вас есть желание сделать режим «спасибо» – продление «аварийки» на 2 моргания – нужно добавить ещё один одновибратор: либо поставить вторую 555АГ3, и использовать в ней только один одновибратор, либо поставить 555АГ1, которая содержит только один одновибратор. Подключается он к зелёному (без полосы) проводу того же реле. Вот схема:

По прошестви месяца хочу поделиться впечатлениями. Первую неделю непривычно, даже раздражает, успокаивал себя тем, что любой момент могу отключить, отсоединив разъём.
А потом… Это такой кайф! Это «правильный поворотник»! Я часто маневрирую в потоке, и всегда моргаю поворотником. С «удлиннителем» это делать намного приятнее.
За майские праздники проехал 750 км по подмосковным (и калужским) дорогам — так удобно! Если затягиваешь манёвр и чувствуешь, что в «три моргания» не завершишь — тыкаешь ещё раз и время продлевается ещё на «три моргания».
Теперь не представляю, как раньше жил без этого? А всего-то… одна микросхема!
И еще хочу отметить один момент, кто из нас не мечтает об отпуске, отдохнуть, попутешествовать. Всем нам требуется отдых , хочется иногда просто собраться, бросить работу и уехать к примеру тур в испанию из москвы. Говорят в Испании отличный туризм, съездить отдохнуть пару недель и вернуться, бодрым, отдохнувшим и полным сил…
mashyna.at.ua
Честно говоря, про такой режим работы указателей поворотов на некоторых новых автомобилях слышал: при кратковременном перемещении и отпускании рычага включения указателей поворотов, поворотники автоматически отрабатывают 3 «моргания». Это очень удобно при движении на трассе: для указания начала перестроения достаточно 2 – 3 «морганий», а переводить рычаг включения «поворотников» в фиксированное положение не хочется, т.к. режим самовозврата при минимальном повороте руля не работает. Поэтому приходится удерживать рычаг пару секунд пальцем.
Собственно, ездил бы я и без этого спокойно… Но некоторые поставили себе такую «фичу». Кто-то «радуется жизни»….
А у меня нету. Не справедливо! Решил и я повторить конструкцию «ленивых поворотников». Уже мечтал: наконец-то я «прошью» ATtiny13 контроллер… Открываю электрическую схему… Во, блин, а в Субару схема поворотников не такая: там подрулевой выключатель «подаёт массу» на один из входов «реле указателей поворотов и аварийной сигнализации», а уже с него выходят провода на лампы. Современный автомобиль – не стали они силовые цепи ламп через выключатель на рулевой колонке пускать! Кстати, и кнопка включения аварийной сигнализации до безумного проста — один контакт на замыкание (тоже на массу).
.Вот с такими мыслями я лёг спать в пятницу.
Просыпаюсь в субботу, жена с дочкой готовят завтрак, я потягиваюсь в постели… И тут в голове выстраивается логическая цепочка: «превратить короткий импульс в длинный» — «сформировать импульс определённой длительности» — «формирователь импульса» — «одновибратор» — блин, да это же одна микросхема 155АГ3 !
Выскакиваю из постели, бегом к книжному шкафу – вот она: В.Л.Шило «Популярные цифровые микросхемы». Отыскиваю микросхему 155АГ3. Читаю: «Микросхема содержит два перезапускаемых одновибратора, с возможностью прерывания импульса». Это мне как раз и нужно! К тому же полная свобода выбора: «Одновибратор имеет 2 входа – один для запуска отрицательным импульсом, второй – положительным, а также два парафазных выхода». Да ещё и внешние ключи не потребуются – «Максимальный выходной ток микросхемы 40 мА». Надо же, микросхема, разработанная более 40 лет назад, точно подходит для Subaru! Невероятно!
Какой завтрак, какой кофе! Вытаскиваю из «закромов» кассеты с микросхемами… вот она: К555АГ3! Аж 3 штуки. Отлично, 555 серия имеет меньший потребляемый ток, по сравнению со 155. Конструкции быть! Сегодня же.Позавтракав, набрасываю карандашом схемку. Вот её окончательный вариант:

При подаче кратковременного отрицательного импульса на вывод 1 (9), одновибратор формирует отрицательный импульс на выводе 4 (12) заданной длительности. Длительность устанавливается RC цепочкой, подключенной к выводам 14 и 15 (6 и 7). При указанных на схеме номиналах R4C9 (R7C10), длительность формируемого импульса составляет около 1,8 с, что соответствует трём морганиям поворотников.
Одновибраторы перезапускаемые, т.е. если в течении этих «трёх морганий» мы снова кратковременно дёрнем рычаг в ту же сторону, то сигнал продлится ещё на три моргания. Так можно делать до бесконечности.
Если же мы переведём рычаг в фиксированное положение, и выключим его уже после трёх морганий, т.е. когда импульс на выходе одновибратора прекратится, то «продления» сигнала не произойдёт.
Чтобы при включении одного поворотника (во время трёх морганий противоположного) сигнал противоположного прерывался – заводим вход одного одновибратора на вход Reset другого одновибратора и наоборот. При поступлении отрицательного импульса на вывод 3 (11) — формируемый импульс на выходе прекращается.
Вот, собственно и всё. Питание +12 В (от цепи зажигания) подаём на микросхему через интегральный стабилизатор 78L05. От случайной переполюсовки вход защищаем диодом. Для защиты от импульсных помех и высокочастотных наводок входы защищаем конденсаторами (C1, C2).
Забегая вперёд скажу о назначении интегрирующих RC цепочек на входах одновибраторов. При отлаживании устройства в машине, выяснилась странная особенность работы выключателя поворотников: при переводе рычага из фиксированного положения в нейтральное (в момент перехода из фиксированного в нефиксированное положение), происходит кратковременное размыкание цепи, что равносильно выключению и повторному кратковременному включению поворотников. Естественно одновибратор воспринимает это как повторный запускающий импульс и начинает «продлевать» сигнал. Кроме того, при резком переводе рычага из фиксированного положения в нейтральное, рычаг «выстреливает» и успевает кратковременно замкнуть цепь противоположного направления, что также воспринимается одновибратором как запускающий импульс. Поэтому пришлось ввести некоторую задержку сигнала на элементах R1C3 и R2C4. Ёмкость этих конденсаторов можно поднять до 47 мкФ.
Подбираю остальные детали. Нашёлся и подходящий корпус – упаковка от магнитной головки кассетного магнитофона. Отпиливаю по размерам корпуса кусок макетной платы. Сажусь паять.
Итак, схема спаяна.
Другие функции на это устройство я не возлагал. Мне они не нужны.
—————————————
Один из вариантов платы, доработанный мною:
Если у вас есть желание сделать режим «спасибо» – продление «аварийки» на 2 моргания – нужно добавить ещё один одновибратор: либо поставить вторую 555АГ3, и использовать в ней только один одновибратор, либо поставить 555АГ1, которая содержит только один одновибратор. Подключается он к зелёному (без полосы) проводу того же реле. Вот схема:

По прошестви месяца хочу поделиться впечатлениями. Первую неделю непривычно, даже раздражает, успокаивал себя тем, что любой момент могу отключить, отсоединив разъём.
А потом… Это такой кайф! Это «правильный поворотник»! Я часто маневрирую в потоке, и всегда моргаю поворотником. С «удлиннителем» это делать намного приятнее.
За майские праздники проехал 750 км по подмосковным (и калужским) дорогам — так удобно! Если затягиваешь манёвр и чувствуешь, что в «три моргания» не завершишь — тыкаешь ещё раз и время продлевается ещё на «три моргания».
Теперь не представляю, как раньше жил без этого? А всего-то… одна микросхема!
И еще хочу отметить один момент, кто из нас не мечтает об отпуске, отдохнуть, попутешествовать. Всем нам требуется отдых , хочется иногда просто собраться, бросить работу и уехать к примеру тур в испанию из москвы. Говорят в Испании отличный туризм, съездить отдохнуть пару недель и вернуться, бодрым, отдохнувшим и полным сил…
mashyna.at.ua