ΠΠ°ΠΊ Π²Π΅ΡΠ½ΠΎ ΠΏΡΠΎΠ²Π΅ΡΠΈΡΡ ΡΡΠΎΠ²Π΅Π½Ρ ΠΌΠ°ΡΠ»Π° Π² ΠΠΠΠ ΠΈ ΠΈΠ·Π±ΡΠ°ΡΡ Π½Π° ΡΠΌΠ΅Π½Ρ
Π‘ Π²ΠΎΠΏΡΠΎΡΠΎΠΌ ΠΊΠ°ΠΊ ΠΏΡΠΎΠ²Π΅ΡΠΈΡΡ ΡΡΠΎΠ²Π΅Π½Ρ ΠΌΠ°ΡΠ»Π° Π² ΠΠΠΠ, Π½Π°Π²Π΅ΡΠ½ΡΠΊΠ°, ΡΡΠ°Π»ΠΊΠΈΠ²Π°Π»ΡΡ ΠΊΠ°ΠΆΠ΄ΡΠΉ Π°Π²ΡΠΎΠ»ΡΠ±ΠΈΡΠ΅Π»Ρ, ΡΠΊΡΠΏΠ»ΡΠ°ΡΠΈΡΡΡΡΠΈΠΉ ΠΌΠ°ΡΠΈΠ½Ρ Ρ ΠΌΠ΅Ρ Π°Π½ΠΈΡΠ΅ΡΠΊΠΎΠΉ ΡΡΠ°Π½ΡΠΌΠΈΡΡΠΈΠ΅ΠΉ ΠΏΠ΅ΡΠ΅Π΄Π°Ρ. ΠΠΠΠ 2-ΠΎΠΉ ΠΏΠΎΡΠ»Π΅ ΠΠΠ‘ (Π±Π΅Π½Π·ΠΈΠ½ΠΎΠ²ΡΠΉ Π΄Π²ΠΈΠ³Π°ΡΠ΅Π»Ρ) ΠΏΠΎ Π·Π½Π°ΡΠΈΠΌΠΎΡΡΠΈ Π°Π³ΡΠ΅Π³Π°Ρ Π² Π°Π²ΡΠΎΠΌΠΎΠ±ΠΈΠ»Π΅, ΠΏΠΎΡΠΎΠΌΡ Π½ΡΠΆΠ½ΠΎ ΠΏΡΠΈΡΡΠ°Π»ΡΠ½ΠΎ ΡΠΌΠΎΡΡΠ΅ΡΡ Π·Π° Π΅Π³ΠΎ ΡΠ΅Ρ Π½ΠΈΡΠ΅ΡΠΊΠΈΠΌ ΡΠΎΡΡΠΎΡΠ½ΠΈΠ΅ΠΌ ΠΈ ΠΏΡΠΎΠ²ΠΎΠ΄ΠΈΡΡ ΡΠ²ΠΎΠ΅Π²ΡΠ΅ΠΌΠ΅Π½Π½ΠΎΠ΅ ΡΠ΅Ρ Π½ΠΈΡΠ΅ΡΠΊΠΎΠ΅ ΡΠ΅ΡΠ²ΠΈΡ.
Π’ΡΠ°Π½ΡΠΌΠΈΡΡΠΈΠΎΠ½Π½ΡΠ΅ ΠΌΠ°ΡΠ»Π° Π±ΡΠ²Π°ΡΡ: ΠΌΠΈΠ½Π΅ΡΠ°Π»ΡΠ½ΡΠ΅, ΡΠΈΠ½ΡΠ΅ΡΠΈΡΠ΅ΡΠΊΠΈΠ΅, ΠΏΠΎΠ»ΡΡΠΈΠ½ΡΠ΅ΡΠΈΡΠ΅ΡΠΊΠΈΠ΅.
Π§ΡΠΎΠ± ΠΏΠ΅ΡΠ΅ΠΊΠ»ΡΡΠ΅Π½ΠΈΠ΅ ΠΏΠ΅ΡΠ΅Π΄Π°Ρ Π±ΡΠ»ΠΎ ΠΏΠ»Π°Π²Π½ΡΠΌ ΠΈ ΡΠΎΡΠ½ΡΠΌ, Π² Π°Π³ΡΠ΅Π³Π°Ρ Π½Π΅ΠΎΠ±Ρ ΠΎΠ΄ΠΈΠΌΠΎ Π·Π°Π»ΠΈΠ²Π°ΡΡ ΠΎΡΠΎΠ±ΠΎΠ΅ ΡΡΠ°Π½ΡΠΌΠΈΡΡΠΈΠΎΠ½Π½ΠΎΠ΅ ΠΌΠ°ΡΠ»ΠΎ, ΠΊΠΎΡΠΎΡΠΎΠ΅ Π½Π΅ΡΠΊΠΎΠ»ΡΠΊΠΎ ΠΎΡΠ»ΠΈΡΠ°Π΅ΡΡΡ ΠΏΠΎ ΡΠ΅ΡΡΠ°ΠΌ ΠΈ ΡΠ²ΠΎΠΉΡΡΠ²Π°ΠΌ ΠΎΡ ΠΎΠ±ΡΠ΄Π΅Π½Π½ΡΡ Π°Π²ΡΠΎΠΌΠ°ΡΠ΅Π». ΠΡΠ½ΠΎΠ²Π½ΠΎΠ΅ Π΅Π³ΠΎ Π½Π°Π·Π½Π°ΡΠ΅Π½ΠΈΠ΅ ΡΡΠΎ:
ΠΠ° ΡΠΎΠ²ΡΠ΅ΠΌΠ΅Π½Π½ΠΎΠΌ ΡΡΠ½ΠΊΠ΅ ΠΏΡΠ΅Π΄ΡΡΠ°Π²Π»Π΅Π½ΠΎ ΠΎΠ³ΡΠΎΠΌΠ½ΠΎΠ΅ ΠΊΠΎΠ»ΠΈΡΠ΅ΡΡΠ²ΠΎ Π°Π²ΡΠΎΠΌΠΎΠ±ΠΈΠ»Π΅ΠΉ ΡΠ°Π·Π»ΠΈΡΠ½ΡΡ
ΠΌΠ°ΡΠΎΠΊ, ΠΊΠΎΡΠΎΡΡΠ΅ ΠΌΠΎΠ³ΡΡ Π·Π½Π°ΡΠΈΡΠ΅Π»ΡΠ½ΠΎ ΠΎΡΠ»ΠΈΡΠ°ΡΡΡ ΠΌΠ΅ΠΆ ΡΠΎΠ±ΠΎΠΉ ΠΊΠ°ΠΊ ΠΌΠΎΡΠ½ΠΎΡΡΡΡ, ΡΠ°ΠΊ ΠΈ ΠΊΠΎΠ½ΡΡΡΡΠΊΡΠΈΠ΅ΠΉ Π³Π»Π°Π²Π½ΡΡ
Π°Π³ΡΠ΅Π³Π°ΡΠΎΠ². ΠΠΎΡΠΎΠΌΡ Π΄Π»Ρ ΠΏΡΠ°Π²ΠΈΠ»ΡΠ½ΠΎΠ³ΠΎ ΠΎΡΠΎΠ·Π½Π°Π½ΠΈΡ ΡΠΎΠ³ΠΎ, ΠΊΠ°ΠΊΠΎΠ΅
Π‘Ρ Π΅ΠΌΠ° Π·Π°ΠΌΠ΅Π½Ρ ΠΌΠ°ΡΠ»Π° Π² ΠΊΠΎΡΠΎΠ±ΠΊΠ΅.
ΠΠΎΠ»ΡΡΠ°Ρ ΡΠ°ΡΡΡ ΡΠΎΠ²ΡΠ΅ΠΌΠ΅Π½Π½ΡΡ ΠΠΠΠ Π½Π΅ ΠΏΠΎΠ·Π²ΠΎΠ»ΡΡΡ ΠΏΡΠΎΠ²Π΅ΡΠΈΡΡ ΠΌΠ°ΡΠ»ΠΎ Π² ΠΊΠΎΡΠΎΠ±ΠΊΠ΅ Π±Π΅Π· Π½Π°Π»ΠΈΡΠΈΡ ΡΠΏΠ΅ΡΠΈΠ°Π»ΡΠ½ΠΎΠ³ΠΎ ΠΎΠ±ΠΎΡΡΠ΄ΠΎΠ²Π°Π½ΠΈΡ, ΠΏΠΎΡΠΎΠΌΡ, Π²Π΅ΡΠΎΡΡΠ½Π΅Π΅ Π²ΡΠ΅Π³ΠΎ, Π½ΡΠΆΠ½ΠΎ Π±ΡΠ΄Π΅Ρ ΠΎΠ±ΡΠ°ΡΠΈΡΡΡΡ Π½Π° ΡΠ΅Ρ Π½ΠΎ ΡΡΠ°Π½ΡΠΈΡ. ΠΠΎ Π΅ΡΠ»ΠΈ Π²ΡΠ΅ ΡΠ°ΠΊΠΈ ΡΠ°ΠΊΠΎΠ²ΠΎΠΉ ΡΠΏΠΎΡΠΎΠ±Π½ΠΎΡΡΠΈ Π½Π΅Ρ, ΠΌΠΎΠΆΠ½ΠΎ ΠΏΠΎΠ»ΡΠ·ΠΎΠ²Π°ΡΡΡΡ ΠΏΠΎΡΠ»Π΅Π΄ΡΡΡΠΈΠΌΠΈ ΡΠΎΠ²Π΅ΡΠ°ΠΌΠΈ:
ΠΠ°ΠΊ ΡΡΡΠ΅ΠΌΠΈΡΠ΅Π»ΡΠ½ΠΎ Π½Π°ΠΉΡΠΈ ΡΡΠΎΠ²Π΅Π½Ρ ΠΌΠ°ΡΠ»Π° Π² ΠΌΠ΅Ρ Π°Π½ΠΈΡΠ΅ΡΠΊΠΎΠΉ ΠΊΠΎΡΠΎΠ±ΠΊΠ΅ Π»ΠΈΠ±ΠΎ ΡΠ΅Π΄ΡΠΊΡΠΎΡΠ΅.
ΠΠ°ΠΊ Π²Π΅ΡΠ½ΠΎ, ΠΏΠΎΠ»Π΅Π·Π½ΡΠ΅ ΡΠΎΠ²Π΅ΡΡ, ΡΠΎΠ²Π΅Ρ, ΠΏΠΎΠ»Π΅Π·Π½ΠΎΠ΅, ΠΏΠΎΠ·Π½Π°Π²Π°ΡΠ΅Π»ΡΠ½ΠΎ, ΠΏΠΎΠ·Π½Π°Π²Π°ΡΠ΅Π»ΡΠ½ΡΠΉ ΠΊΠ°Π½Π°Π»,.
ΠΡΠΈΠ½ΡΠΈΠΏΠΈΠ°Π»ΡΠ½ΠΎ! ΠΠ°ΡΠ»ΠΎ ΠΌΠΎΠΆΠ΅Ρ Π²ΡΡΠ΅ΠΊΠ°ΡΡ. ΠΡΠ»ΠΈ ΡΡΠΎ ΡΠ°ΠΊ, Π΅Π³ΠΎ ΡΡΠΎΠ²Π΅Π½Ρ Π΄ΠΎΡΡΠ°ΡΠΎΡΠ½ΡΠΉ. Π ΡΠ»ΡΡΠ°Π΅ Π½Π΅ΠΎΠ±Ρ ΠΎΠ΄ΠΈΠΌΠΎΡΡΠΈ, ΡΡΠΎΠ± Π²Π·ΡΡΡ ΠΌΠ°Π»ΠΎΡΡΡ ΠΌΠ°ΡΠ»Π° Π΄Π»Ρ Π°Π½Π°Π»ΠΈΠ·Π°, ΠΌΠΎΠΆΠ½ΠΎ ΠΏΠΎΠ»ΡΠ·ΠΎΠ²Π°ΡΡΡΡ ΡΠΏΡΠΈΡΠΎΠΌ.
ΠΠΊΠΎΠ½ΡΠΈΠ² ΡΡΠ½ΠΊΡΠΈΡ, Π·Π°ΠΊΡΡΡΠΈΠ²Π°Π΅ΠΌ ΠΊΡΡΡΠΊΡ ΠΏΠΎΡΠΎΠΌΡ ΡΡΠΎ ΡΡΠΎ ΠΎΠ±ΠΎΠ·Π½Π°ΡΠ΅Π½ΠΎ Π² ΡΠ΅ΡΠ²ΠΈΡΠ½ΠΎΠΉ ΠΊΠ½ΠΈΠ³Π΅ Π°Π²ΡΠΎΠΌΠΎΠ±ΠΈΠ»Ρ;
ΠΠ»Π°Π΄Π΅Ρ ΠΌΠ°Π»Π΅Π½ΡΠΊΠΈΠΌΠΈ ΠΏΠΎΠ·Π½Π°Π½ΠΈΡΠΌΠΈ ΠΈ ΡΠΏΠΎΡΠΎΠ±Π½ΠΎΡΡΡΠΌΠΈ, ΠΏΡΠΎΠ²Π΅ΡΠΈΡΡ ΠΌΠ°ΡΠ»ΠΎ ΠΌΠΎΠΆΠ½ΠΎ ΡΠ°ΠΌΠΎΠΌΡ, Π½ΠΎ ΠΊΡΠ΄Π° ΡΡΡΠ΅ΠΊΡΠΈΠ²Π½Π΅Π΅ Π΄ΠΎΠ²Π΅ΡΠΈΡ ΡΡΡ ΡΠ°Π±ΠΎΡΡ ΡΠΏΠ΅ΡΠΈΠ°Π»ΡΠ½ΠΎ ΠΎΠ±ΡΡΠ΅Π½Π½ΡΠΌ ΠΌΠ°ΡΡΠ΅ΡΠ°ΠΌ.
Π‘Ρ Π΅ΠΌΠ° ΡΡΡΡΠΎΠΉΡΡΠ²Π° ΠΊΠΎΡΠΎΠ±ΠΊΠΈ.
ΠΡΠ»ΠΈ ΠΏΡΠΎΠ²Π΅ΡΠΊΠ° ΠΏΠΎΠΊΠ°Π·Π°Π»Π°, ΡΡΠΎ ΡΡΠΎΠ²Π΅Π½Ρ ΠΌΠ°ΡΠ»Π° Π² ΠΠΠΠ Π½Π΅Π΄ΠΎΡΡΠ°ΡΡΠΈΠΉ, Π΅ΡΡΡ Π΄Π²Π° Π²Π°ΡΠΈΠ°Π½ΡΠ°. ΠΠΎΠΆΠ½ΠΎ Π²ΡΡΠ»Π΅Ρ ΡΠΎΠ±ΡΡΠ²Π΅Π½Π½ΠΎΠ³ΠΎ Β«ΠΆΠ΅Π»Π΅Π·Π½ΠΎΠ³ΠΎ ΠΊΠΎΠ½ΡΒ» Π½Π° 100, Π΄ΠΎΠ²Π΅ΡΠΈΠ² ΡΠ°Π±ΠΎΡΡ ΠΌΠ°ΡΡΠ΅ΡΠ°ΠΌ, Π° ΠΌΠΎΠΆΠ½ΠΎ ΠΈΡΠΏΡΡΠ°ΡΡ ΠΏΡΠΎΠΈΠ·Π²Π΅ΡΡΠΈ Π΄ΠΎΠ»ΠΈΠ² Π±Π΅Π· ΠΏΠΎΠΌΠΎΡΠΈ Π΄ΡΡΠ³ΠΈΡ . ΠΠ΅Ρ Π°Π½ΠΈΡΠ΅ΡΠΊΠ°Ρ ΠΊΠΎΡΠΎΠ±ΠΊΠ° ΠΏΠ΅ΡΠ΅Π΄Π°Ρ Π°Π²ΡΠΎΠΌΠΎΠ±ΠΈΠ»Ρ Π²ΠΎΠΎΡΡΠΆΠ΅Π½Π° Π·Π°Π»ΠΈΠ²Π½ΠΎΠΉ ΠΏΡΠΎΠ±ΠΊΠΎΠΉ, Π΄ΠΎΠ²ΠΎΠ»ΡΠ½ΠΎ Π΅Π΅ ΠΎΡΠΊΡΡΡΠΈΡΡ ΠΈ Π΄ΠΎΠ»ΠΈΡΡ Π½Π΅Π΄ΠΎΡΡΠ°ΡΡΡΡ ΠΆΠΈΠ΄ΠΊΠΎΡΡΡ. ΠΡΠ»ΠΈ ΠΏΡΠΎΠ±ΠΊΠΈ Π½Π΅ ΠΏΡΠ΅Π΄Π²ΠΈΠ΄Π΅Π½ΠΎ ΠΊΠΎΠ½ΡΡΡΡΠΊΡΠΈΠ΅ΠΉ Π°Π³ΡΠ΅Π³Π°ΡΠ°, Π΄ΠΎΠ»ΠΈΠ² ΠΎΡΡΡΠ΅ΡΡΠ²Π»ΡΠ΅ΡΡΡ ΡΠ΅ΡΠ΅Π· ΠΎΡΠΎΠ±ΠΎΠ΅ ΠΎΡΠ²Π΅ΡΡΡΠΈΡ ΡΡΠΏΠ°. ΠΠ»Ρ ΡΡΠΎΠ³ΠΎ ΠΏΡΠΈΠ³ΠΎΠ΄ΠΈΡΡΡ ΡΠΏΡΠΈΡ, ΠΊΠΎΡΠΎΡΡΠΌ ΠΌΠΎΠΆΠ½ΠΎ Π½Π°Π±ΠΈΡΠ°ΡΡ ΠΆΠΈΠ΄ΠΊΠΎΡΡΡ ΠΈ Β«Π²ΠΏΡΡΡΠΊΠΈΠ²Π°ΡΡΒ» Π² ΠΎΡΠ²Π΅ΡΡΡΠΈΠ΅. Π ΡΠ»ΡΡΠ°Π΅, Π΅ΡΠ»ΠΈ ΠΎΡΡΡΡΡΡΠ²ΡΠ΅Ρ ΠΊΠ°ΠΊ ΡΡΠΏ, ΡΠ°ΠΊ ΠΈ Π·Π°Π»ΠΈΠ²Π½Π°Ρ ΠΏΡΠΎΠ±ΠΊΠ° Π΄ΠΎΠ»ΠΈΡΡ ΡΡΠ°Π½ΡΠΌΠΈΡΡΠΈΠΎΠ½Π½ΠΎΠ΅ ΠΌΠ°ΡΠ»ΠΎ ΠΌΠΎΠΆΠ½ΠΎ ΡΠ΅ΡΠ΅Π· ΠΎΡΠ²Π΅ΡΡΡΠΈΡ Π΄Π°ΡΡΠΈΠΊΠΎΠ² (ΠΊΠ°ΠΊ ΠΏΡΠ°Π²ΠΈΠ»ΠΎ ΡΡΠΎ Π΄Π°ΡΡΠΈΠΊ ΡΠΊΠΎΡΠΎΡΡΠΈ Π»ΠΈΠ±ΠΎ Ρ ΠΎΠ»ΠΎΡΡΠΎΠ³ΠΎ Ρ ΠΎΠ΄Π°).
ΠΡΠΈΠ½ΡΠΈΠΏΠΈΠ°Π»ΡΠ½ΠΎ! ΠΡΠΆΠ½ΠΎ Π΄Π΅ΡΠΆΠ°ΡΡ ΠΏΠΎΠ΄ ΠΊΠΎΠ½ΡΡΠΎΠ»Π΅ΠΌ ΠΊΠΎΠ»ΠΈΡΠ΅ΡΡΠ²ΠΎ Β«Π΄ΠΎΠ»ΠΈΡΠΎΠΉΒ» Π²ΠΎΠ΄Ρ. Π Π½Π΅ΠΏΡΠΈΡΡΠ½ΠΎΠΌ ΡΠ»ΡΡΠ°Π΅, ΠΌΠΎΠΆΠ½ΠΎ Π½Π°Π½Π΅ΡΡΠΈ Π²ΡΠ΅Π΄ ΠΠΠΠ.
ΠΡΠΈΠ½ΡΠΈΠΏΠΈΠ°Π»ΡΠ½ΠΎ! ΠΡΠ»ΠΈ Π²ΡΠ΅ΠΌΡ Π·Π°ΠΌΠ΅Π½Ρ ΡΡΠ°Π½ΡΠΌΠΈΡΡΠΈΠΎΠ½Π½ΠΎΠ³ΠΎ ΠΌΠ°ΡΠ»Π° Π΅ΡΠ΅ Π½Π΅ ΠΏΡΠΈΡΠ»ΠΎ, Π° ΡΡΠΎΠ²Π΅Π½Ρ Π½Π΅Π΄ΠΎΡΡΠ°ΡΠΎΡΠ½ΡΠΉ, Π½Π΅ΠΎΠ±Ρ ΠΎΠ΄ΠΈΠΌΠΎ ΠΎΠ±ΡΠ°ΡΠΈΡΡΡ Π½Π° ΡΡΠ°Π½ΡΠΈΡ ΡΠ΅Ρ Π½ΠΈΡΠ΅ΡΠΊΠΎΠ³ΠΎ ΠΎΠ±ΡΠ»ΡΠΆΠΈΠ²Π°Π½ΠΈΡ Π΄Π»Ρ ΠΏΡΠΎΠ²Π΅Π΄Π΅Π½ΠΈΡ Π΄ΠΈΠ°Π³Π½ΠΎΡΡΠΈΠΊΠΈ.
ΠΡΠΈΠ½ΡΠΈΠΏΠΈΠ°Π»ΡΠ½ΠΎ! ΠΡΠ»ΠΈ ΡΠ²Π΅Ρ ΠΌΠ°ΡΠ»Π° Π±Π»ΠΈΠ·ΠΊΠΈΠΉ ΠΊ ΡΠ΅ΡΠ½ΠΎΠΌΡ, ΠΎΠ·Π½Π°ΡΠ°Π΅Ρ ΠΎΠ½ΠΎ ΠΏΡΠΎΡΠΈΡ ΠΏΠΎΠ΄ΠΌΠ΅Π½Ρ. ΠΡΠ»ΠΈ ΠΆΠΈΠ΄ΠΊΠΎΡΡΡ ΠΏΠ°Ρ Π½Π΅Ρ Π³Π°ΡΡΡ, ΠΎΠ½Π° ΡΠ°ΡΡΠ΅ΡΡΠ»Π° ΡΠ²ΠΎΠΈ Ρ Π°ΡΠ°ΠΊΡΠ΅ΡΠΈΡΡΠΈΠΊΠΈ ΠΈ Π²ΡΠ³ΠΎΡΠ°Π΅Ρ Π² ΠΏΡΠΎΡΠ΅ΡΡΠ΅ ΠΈΡΠΏΠΎΠ»ΡΠ·ΠΎΠ²Π°Π½ΠΈΡ ΠΠΠ.
ΠΠ»Ρ ΡΠΎΠ³ΠΎ, ΡΡΠΎ Π±Ρ ΠΏΡΠΎΠ²Π΅ΡΡΠΈ ΠΏΠΎΠ΄ΠΌΠ΅Π½Ρ ΠΌΠ°ΡΠ»Π° ΠΎΡΠΎΠ·Π½Π°Π½Π½ΠΎ, ΠΏΡΠΈΠ½ΡΠΈΠΏΠΈΠ°Π»ΡΠ½ΠΎ Ρ ΠΎΡΡ ΠΌΠ°Π»ΠΎΡΡΡ ΡΠ°Π·Π±ΠΈΡΠ°ΡΡΡΡ Π² Π΅Π³ΠΎ ΡΠ²ΠΎΠΉΡΡΠ²Π°Ρ ΠΈ Π³Π»Π°Π²Π½ΡΡ ΠΏΠ°ΡΠ°ΠΌΠ΅ΡΡΠ°Ρ .
Π’ΡΠ°Π½ΡΠΌΠΈΡΡΠΈΠΎΠ½Π½ΡΠ΅ ΠΌΠ°ΡΠ»Π° Π±ΡΠ²Π°ΡΡ:
ΠΠ° ΡΡΠ½ΠΊΠ΅ ΠΏΡΠ΅Π΄ΡΡΠ°Π²Π»Π΅Π½ ΡΠΈΡΠΎΠΊΠΈΠΉ Π°ΡΡΠΎΡΡΠΈΠΌΠ΅Π½Ρ ΡΡΠ°Π½ΡΠΌΠΈΡΡΠΈΠΎΠ½Π½ΡΡ ΠΌΠ°ΡΠ΅Π» ΠΎΡ ΡΠ°Π·Π»ΠΈΡΠ½ΡΡ Π±ΡΠ΅Π½Π΄ΠΎΠ², ΠΊΠΎΡΠΎΡΡΠ΅ Π²Π»Π°Π΄Π΅ΡΡ ΡΠ²ΠΎΠΈΠΌΠΈ ΠΎΡΠΎΠ±ΡΠΌΠΈ ΡΠ΅Ρ Π½ΠΈΡΠ΅ΡΠΊΠΈΠΌΠΈ ΠΊΠ°ΡΠ΅ΡΡΠ²Π°ΠΌΠΈ.
ΠΠΎΡ ΠΏΠΎΡΡΠΎΠΌΡ, Π²ΡΠ±ΠΈΡΠ°Ρ ΠΆΠΈΠ΄ΠΊΠΎΡΡΡ, ΠΎΡΠ΅Π½Ρ ΠΏΡΠΈΠ½ΡΠΈΠΏΠΈΠ°Π»ΡΠ½ΠΎ ΡΡΠ΅ΡΡΡ ΡΠΎΠ²Π΅ΡΡ Π·Π°Π²ΠΎΠ΄Π° ΠΈΠ·Π³ΠΎΡΠΎΠ²ΠΈΡΠ΅Π»Ρ. ΠΡΠΎ Π΄ΠΎΠ·Π²ΠΎΠ»ΠΈΡ Π΄ΠΎΡΡΠΈΠ³Π½ΡΡΡ Ρ ΠΎΡΠΎΡΠ΅Π³ΠΎ ΡΠ΅Π·ΡΠ»ΡΡΠ°ΡΠ° ΠΈ ΡΠ±Π΅ΡΠ΅ΡΡ Π½Π° ΡΠ΅ΠΌΠΎΠ½ΡΠ΅ Π°Π³ΡΠ΅Π³Π°ΡΠ° Π² Π΄Π°Π»ΡΠ½Π΅ΠΉΡΠ΅ΠΌ.
autoviber.ru
ΠΡΠ΅ΠΆΠ΄Π΅ ΡΠ΅ΠΌ ΠΎΠ±ΡΡΠ΄ΠΈΡΡ, ΠΊΠ°ΠΊ ΠΏΡΠΎΠ²Π΅ΡΠΈΡΡ ΠΊΠΎΡΠΎΠ±ΠΊΡ ΠΠΠ (ΠΈΠΌΠ΅Π΅ΡΡΡ Π² Π²ΠΈΠ΄Ρ ΠΊΠΎΡΠΎΠ±ΠΊΠ° ΠΏΠ΅ΡΠ΅Π΄Π°Ρ) Π½Π° ΡΡΠΎΠ²Π΅Π½Ρ ΠΌΠ°ΡΠ»Π°, ΡΠ½Π°ΡΠ°Π»Π° ΠΊΠΎΡΠΎΡΠΊΠΎ ΠΏΠΎΠ·Π½Π°ΠΊΠΎΠΌΠΈΠΌΡΡ Ρ ΡΡΠΈΠΌ ΡΠ·Π»ΠΎΠΌ Π΄Π²ΠΈΠ³Π°ΡΠ΅Π»Ρ. ΠΠ΅Π΄Ρ ΠΌΠ΅Ρ Π°Π½ΠΈΡΠ΅ΡΠΊΠ°Ρ, Π΄Π° ΠΈ Π°Π²ΡΠΎΠΌΠ°ΡΠΈΡΠ΅ΡΠΊΠ°Ρ ΠΊΠΎΡΠΎΠ±ΠΊΠ° ΠΏΠ΅ΡΠ΅Π΄Π°Ρ ΡΠ²Π»ΡΠ΅ΡΡΡ ΡΠ»ΠΎΠΆΠ½ΡΠΌ ΠΌΠ΅Ρ Π°Π½ΠΈΠ·ΠΌΠΎΠΌ. Π ΠΎΠ½Π° Π½Π΅ΠΎΠ±Ρ ΠΎΠ΄ΠΈΠΌΠ° Π² ΡΠ°Π±ΠΎΡΠ΅ Π°Π²ΡΠΎΠΌΠΎΠ±ΠΈΠ»Ρ, ΠΊΠ°ΠΊ ΠΈ ΠΏΡΠΎΡΠΈΠ΅ ΡΠ·Π»Ρ Π°Π³ΡΠ΅Π³Π°ΡΠ°. Π‘ ΠΏΠΎΠΌΠΎΡΡΡ ΡΡΠΎΠ³ΠΎ ΡΡΡΡΠΎΠΉΡΡΠ²Π° ΠΎΡΡΡΠ΅ΡΡΠ²Π»ΡΠ΅ΡΡΡ ΠΈΠ·ΠΌΠ΅Π½Π΅Π½ΠΈΠ΅ ΠΏΠ΅ΡΠ΅Π΄Π°ΡΠΎΡΠ½ΠΎΠ³ΠΎ ΡΠΈΡΠ»Π°, ΠΎΡ ΠΊΠΎΡΠΎΡΠΎΠ³ΠΎ, Π² ΡΠ²ΠΎΡ ΠΎΡΠ΅ΡΠ΅Π΄Ρ, Π·Π°Π²ΠΈΡΠΈΡ ΡΠΊΠΎΡΠΎΡΡΡ Π²ΡΠ°ΡΠ΅Π½ΠΈΡ Π²Π΅Π΄ΡΡΠ΅ΠΉ ΠΏΠ°ΡΡ ΠΊΠΎΠ»Π΅Ρ Π°Π²ΡΠΎΠΌΠΎΠ±ΠΈΠ»Ρ.

ΠΠΎΡΠΎΠ±ΠΊΠ° ΠΏΠ΅ΡΠ΅ΠΊΠ»ΡΡΠ΅Π½ΠΈΡ ΠΏΠ΅ΡΠ΅Π΄Π°Ρ ΠΏΡΠ΅Π΄ΡΡΠ°Π²Π»ΡΠ΅Ρ ΡΠΎΠ±ΠΎΠΉ ΡΠ»ΠΎΠΆΠ½ΡΠΉ ΠΌΠ½ΠΎΠ³ΠΎΡΡΡΠΏΠ΅Π½ΡΠ°ΡΡΠΉ ΡΠΈΠ»ΠΈΠ½Π΄ΡΠΈΡΠ΅ΡΠΊΠΈΠΉ ΡΠ΅Π΄ΡΠΊΡΠΎΡ. ΠΠ΅Ρ Π°Π½ΠΈΡΠ΅ΡΠΊΠ°Ρ ΠΊΠΎΡΠΎΠ±ΠΊΠ° ΠΈΠΌΠ΅Π΅Ρ ΡΡΡΠ½ΠΎΠ΅ ΠΏΠ΅ΡΠ΅ΠΊΠ»ΡΡΠ΅Π½ΠΈΠ΅, Π° ΠΠΠΠ ΡΠΆΠ΅ ΡΠ²Π»ΡΠ΅ΡΡΡ Π°Π²ΡΠΎΠΌΠ°ΡΠΈΠ·ΠΈΡΠΎΠ²Π°Π½Π½ΡΠΌ ΡΠΈΠΏΠΎΠΌ ΡΡΠ°Π½ΡΠΌΠΈΡΡΠΈΠΈ, ΠΊΠΎΡΠΎΡΠ°Ρ ΡΠ°Π±ΠΎΡΠ°Π΅Ρ Π±Π΅Π· ΠΏΡΡΠΌΠΎΠ³ΠΎ ΡΡΠ°ΡΡΠΈΡ Π²ΠΎΠ΄ΠΈΡΠ΅Π»Ρ. ΠΠ΅Ρ Π°Π½ΠΈΡΠ΅ΡΠΊΠ°Ρ ΠΊΠΎΡΠΎΠ±ΠΊΠ° ΠΏΠ΅ΡΠ΅ΠΊΠ»ΡΡΠ΅Π½ΠΈΡ ΠΈΠΌΠ΅Π΅Ρ ΠΎΡ 4 Π΄ΠΎ 7 ΡΡΡΠΏΠ΅Π½Π΅ΠΉ ΡΠΊΠΎΡΠΎΡΡΠ΅ΠΉ Π²ΡΠ°ΡΠ΅Π½ΠΈΡ. ΠΠΎΠ»ΡΡΠΈΠ½ΡΡΠ²ΠΎ Π°Π²ΡΠΎΠΌΠΎΠ±ΠΈΠ»Π΅ΠΉ ΠΠΠ ΠΈΠΌΠ΅ΡΡ 4- ΠΈΠ»ΠΈ 5-ΡΡΡΠΏΠ΅Π½ΡΠ°ΡΡΡ ΠΠΠ. ΠΠΎΠΆΠ½ΠΎ ΡΠΊΠ°Π·Π°ΡΡ, ΡΡΠΎ ΡΡΠΎΡ ΡΠ·Π΅Π» ΠΏΡΠ΅Π΄ΡΡΠ°Π²Π»ΡΠ΅Ρ ΡΠΎΠ±ΠΎΠΉ ΡΠ΅ΡΠ½ΠΎ ΡΠΎΠΏΡΠΈΠΊΠ°ΡΠ°ΡΡΠΈΠ΅ΡΡ Π΄ΡΡΠ³ Ρ Π΄ΡΡΠ³ΠΎΠΌ ΡΠ΅ΡΡΠ΅ΡΠ½ΠΈ ΠΈ Π²Π°Π»Ρ, ΡΠΎΠ΅Π΄ΠΈΠ½Π΅Π½Π½ΡΠ΅ Π² ΠΎΠ΄ΠΈΠ½ Π°Π³ΡΠ΅Π³Π°Ρ ΠΈ Π²ΡΠ°ΡΠ°ΡΡΠΈΠ΅ΡΡ Ρ Π±ΠΎΠ»ΡΡΠΎΠΉ ΡΠΊΠΎΡΠΎΡΡΡΡ.
ΠΠΎΡΡΠΎΠΌΡ ΡΠ°Π±ΠΎΡΠ° Π²ΡΡΡ ΡΡ ΡΠ°ΠΊΠΎΠ³ΠΎ ΡΠ·Π»Π° Π½Π΅Π΄ΠΎΠΏΡΡΡΠΈΠΌΠ°. ΠΡΠΎ ΡΡΠ΅Π²Π°ΡΠΎ ΠΏΠ΅ΡΠ΅Π³ΡΠ΅Π²ΠΎΠΌ ΠΈ Π±ΡΡΡΡΠΎΠΉ ΠΈΠ·Π½Π°ΡΠΈΠ²Π°Π΅ΠΌΠΎΡΡΡΡ Π΄Π΅ΡΠ°Π»Π΅ΠΉ Π΄Π²ΠΈΠ³Π°ΡΠ΅Π»Ρ. Π§ΡΠΎΠ±Ρ ΠΏΡΠ΅Π΄ΠΎΡΠ²ΡΠ°ΡΠΈΡΡ ΡΡΠΎΠ»Ρ Π½Π΅ΠΆΠ΅Π»Π°ΡΠ΅Π»ΡΠ½ΡΠ΅ ΠΏΠΎΡΠ»Π΅Π΄ΡΡΠ²ΠΈΡ, ΡΡΠ΅Π±ΡΠ΅ΡΡΡ ΡΠΌΠ°Π·ΡΠ²Π°ΡΡ Π²ΡΠ΅ Π΄Π²ΠΈΠΆΡΡΠΈΠ΅ΡΡ ΠΈ ΡΠΎΠΏΡΠΈΠΊΠ°ΡΠ°ΡΡΠΈΠ΅ΡΡ ΡΠ·Π»Ρ ΡΠΏΠ΅ΡΠΈΠ°Π»ΡΠ½ΡΠΌ ΡΡΠ°Π½ΡΠΌΠΈΡΡΠΈΠΎΠ½Π½ΡΠΌ ΠΌΠ°ΡΠ»ΠΎΠΌ.

Π’Π°ΠΊΠΎΠΉ ΡΠΈΠΏ ΡΠΌΠ°Π·ΠΊΠΈ Π²ΡΠΏΠΎΠ»Π½ΡΠ΅Ρ 2 ΡΡΠ½ΠΊΡΠΈΠΈ ΠΎΠ΄Π½ΠΎΠ²ΡΠ΅ΠΌΠ΅Π½Π½ΠΎ:
ΠΡΠΎΠ±Π΅Π½Π½ΠΎ Π²Π°ΠΆΠ½ΠΎ ΡΠ»Π΅Π΄ΠΈΡΡ Π·Π° ΡΠ΅ΠΌ, ΡΡΠΎΠ±Ρ ΡΡΠΎΠ²Π΅Π½Ρ ΠΌΠ°ΡΠ»Π° Π² ΠΊΠΎΡΠΎΠ±ΠΊΠ΅ ΠΏΠ΅ΡΠ΅ΠΊΠ»ΡΡΠ΅Π½ΠΈΡ ΡΠΊΠΎΡΠΎΡΡΠ΅ΠΉ Π°Π²ΡΠΎΠΌΠΎΠ±ΠΈΠ»Π΅ΠΉ ΠΠΠ Π½Π΅ ΠΏΠ°Π΄Π°Π» Π½ΠΈΠΆΠ΅ ΠΌΠΈΠ½ΠΈΠΌΠ°Π»ΡΠ½ΠΎ Π΄ΠΎΠΏΡΡΡΠΈΠΌΠΎΠ³ΠΎ. ΠΡΠΎ ΠΌΠΎΠΆΠ΅Ρ ΠΏΡΠΈΠ²Π΅ΡΡΠΈ ΠΊ ΠΏΠΎΠ»Π½ΠΎΠΉ Π½Π΅ΠΏΠΎΠ΄Π²ΠΈΠΆΠ½ΠΎΡΡΠΈ ΡΠ΅ΡΡΠ΅ΡΠ½Π΅ΠΉ Π΄Π²ΠΈΠ³Π°ΡΠ΅Π»Ρ. ΠΠ²ΡΠΎΠΌΠΎΠ±ΠΈΠ»ΠΈΡΡΡ Π² ΡΠ°ΠΊΠΈΡ ΡΠ»ΡΡΠ°ΡΡ Π³ΠΎΠ²ΠΎΡΡΡ: Β«ΠΠ²ΠΈΠ³Π°ΡΠ΅Π»Ρ Π·Π°ΠΊΠ»ΠΈΠ½ΠΈΠ»Β». Π’Π°ΠΊΠ°Ρ ΠΏΠΎΠ»ΠΎΠΌΠΊΠ° Π³ΡΠΎΠ·ΠΈΡ ΡΠ΅ΡΡΠ΅Π·Π½ΠΎΠΉ Π°Π²Π°ΡΠΈΠ΅ΠΉ Π½Π° Π΄ΠΎΡΠΎΠ³Π΅ Ρ Π²ΠΎΠ·ΠΌΠΎΠΆΠ½ΡΠΌΠΈ ΡΠ΅Π»ΠΎΠ²Π΅ΡΠ΅ΡΠΊΠΈΠΌΠΈ ΠΆΠ΅ΡΡΠ²Π°ΠΌΠΈ.
ΠΠ°ΠΊ ΠΎΡΡΡΠ΅ΡΡΠ²ΠΈΡΡ ΠΏΡΠ°Π²ΠΈΠ»ΡΠ½ΡΡ ΠΏΡΠΎΠ²Π΅ΡΠΊΡ ΠΌΠ°ΡΠ»Π° Π² ΠΊΠΎΡΠΎΠ±ΠΊΠ΅ ΡΠ΅ΡΠΈΠΈ ΠΠΠ? ΠΠ° Π°Π²ΡΠΎΠΌΠΎΠ±ΠΈΠ»ΡΡ Π»ΠΈΠ½Π΅ΠΉΠΊΠΈ ΠΠΠ ΡΡΠ° ΠΏΡΠΎΡΠ΅Π΄ΡΡΠ° ΠΎΡΡΡΠ΅ΡΡΠ²Π»ΡΠ΅ΡΡΡ ΠΏΡΠ°ΠΊΡΠΈΡΠ΅ΡΠΊΠΈ ΠΎΠ΄ΠΈΠ½Π°ΠΊΠΎΠ²ΠΎ ΠΈ Π½Π΅ ΠΏΡΠ΅Π΄ΡΡΠ°Π²Π»ΡΠ΅Ρ Π½ΠΈΠΊΠ°ΠΊΠΎΠΉ ΡΠ»ΠΎΠΆΠ½ΠΎΡΡΠΈ Π΄Π°ΠΆΠ΅ Π΄Π»Ρ Π½Π°ΡΠΈΠ½Π°ΡΡΠΈΡ Π°Π²ΡΠΎΠΌΠΎΠ±ΠΈΠ»ΠΈΡΡΠΎΠ². Π£ΡΠΎΠ²Π΅Π½Ρ ΠΌΠ°ΡΠ»Π° ΠΏΡΠΎΠ²Π΅ΡΡΠ΅ΡΡΡ ΡΠΏΠ΅ΡΠΈΠ°Π»ΡΠ½ΡΠΌ ΡΡΠΏΠΎΠΌ. ΠΡΠΎΡ ΡΡΠΏ ΡΠ°ΡΠΏΠΎΠ»Π°Π³Π°Π΅ΡΡΡ Π²Π½ΠΈΠ·Ρ ΠΏΠΎΠ΄ ΡΠ΅ΡΠΌΠΎΡΡΠ°ΡΠΎΠΌ, ΠΈ Π΅Π³ΠΎ ΠΌΠΎΠΆΠ½ΠΎ Ρ Π»Π΅Π³ΠΊΠΎΡΡΡΡ ΡΠ·Π½Π°ΡΡ ΠΏΠΎ ΠΊΠΎΠ»ΡΡΡ Π½Π° ΠΏΡΠΎΠ±ΠΊΠ΅. ΠΠΎ ΠΏΡΠ΅Π΄Π²Π°ΡΠΈΡΠ΅Π»ΡΠ½ΠΎ Π½ΡΠΆΠ½ΠΎ ΡΠ½ΡΡΡ Π²ΠΎΠ·Π΄ΡΡ ΠΎΡΠΈΠ»ΡΡΡ β ΡΡΠΎ ΡΠ°ΠΌΠ°Ρ Π±ΠΎΠ»ΡΡΠ°Ρ Π΄Π΅ΡΠ°Π»Ρ, ΠΈ ΠΎΠ½Π° ΡΡΠ°Π·Ρ Π±ΡΠΎΡΠ°Π΅ΡΡΡ Π² Π³Π»Π°Π·Π°, ΠΊΠΎΠ³Π΄Π° ΠΎΡΠΊΡΡΠ²Π°Π΅ΡΡΡ ΠΊΠ°ΠΏΠΎΡ.

ΠΠΎΡΠ»Π΅ Π²ΡΠΏΠΎΠ»Π½Π΅Π½ΠΈΡ ΡΡΠΈΡ Π½Π΅ΡΠ»ΠΎΠΆΠ½ΡΡ Π΄Π΅ΠΉΡΡΠ²ΠΈΠΉ Π½Π°Π΄ΠΎ Π·Π° ΠΊΠΎΠ»ΡΡΠΎ Π²ΡΡΠ°ΡΠΈΡΡ ΡΡΠΏ. ΠΠ³ΠΎ ΠΊΠΎΠ½Π΅Ρ Π±ΡΠ΄Π΅Ρ ΠΈΡΠΏΠ°ΡΠΊΠ°Π½ ΠΌΠ°ΡΠ»ΠΎΠΌ. ΠΡΠΎΡΡΠΈΡΠ΅ Π΅Π³ΠΎ Π²Π΅ΡΠΎΡΡΡ ΠΈ ΡΠ½ΠΎΠ²Π° ΠΏΠΎΠ³ΡΡΠ·ΠΈΡΠ΅ Π΄ΠΎ ΡΠΏΠΎΡΠ° Π² ΠΎΡΠ²Π΅ΡΡΡΠΈΠ΅, ΠΈΠ· ΠΊΠΎΡΠΎΡΠΎΠ³ΠΎ ΠΈΠ·Π²Π»Π΅ΠΊΠ»ΠΈ. ΠΡΠΌΠΎΡΡΠΈΡΠ΅ ΡΡΠΏ Π²ΡΠΎΡΠΈΡΠ½ΠΎ ΠΈ ΠΎΠΏΡΠ΅Π΄Π΅Π»ΠΈΡΠ΅, Π΄ΠΎ ΠΊΠ°ΠΊΠΎΠΉ ΠΌΠ΅ΡΠΊΠΈ Π΄ΠΎΡ ΠΎΠ΄ΠΈΡ ΡΡΠΎΠ²Π΅Π½Ρ ΠΌΠ°ΡΠ»Π° Π² ΠΠΠ. Π ΠΈΠ΄Π΅Π°Π»Π΅ ΠΎΠ½ Π΄ΠΎΠ»ΠΆΠ΅Π½ Π±ΡΡΡ ΠΏΡΠΈΠΌΠ΅ΡΠ½ΠΎ ΠΏΠΎΡΠ΅ΡΠ΅Π΄ΠΈΠ½Π΅ ΠΌΠ΅ΠΆΠ΄Ρ ΠΌΠ΅ΡΠΊΠ°ΠΌΠΈ.
ΠΠ°ΠΆΠ΄ΠΎΠΌΡ Π²Π»Π°Π΄Π΅Π»ΡΡΡ Π°Π²ΡΠΎΠΌΠΎΠ±ΠΈΠ»Ρ ΠΠΎΠ»ΠΆΡΠΊΠΎΠ³ΠΎ Π·Π°Π²ΠΎΠ΄Π° Π²Π°ΠΆΠ½ΠΎ Π·Π½Π°ΡΡ Π½Π΅ ΡΠΎΠ»ΡΠΊΠΎ ΠΎ ΡΠΎΠΌ, ΠΊΠ°ΠΊ ΠΏΡΠΎΠ²Π΅ΡΡΡΡ ΠΌΠ°ΡΠ»ΠΎ Π² ΠΊΠΎΡΠΎΠ±ΠΊΠ΅ Ρ ΠΠΠΠ°, Π½ΠΎ ΠΈ ΠΊΠ°ΠΊ ΠΎΡΡΡΠ΅ΡΡΠ²ΠΈΡΡ Π·Π°Π»ΠΈΠ²ΠΊΡ Π² ΡΠ»ΡΡΠ°Π΅ Π΅Π³ΠΎ Π½ΠΈΠ·ΠΊΠΎΠ³ΠΎ ΡΡΠΎΠ²Π½Ρ.
ΠΠ»Ρ ΡΠΎΠ³ΠΎ ΡΡΠΎΠ±Ρ ΠΎΡΡΡΠ΅ΡΡΠ²ΠΈΡΡ ΡΠ°ΠΊΡΡ ΠΌΠ°Π½ΠΈΠΏΡΠ»ΡΡΠΈΡ, ΠΊΠ°ΠΊ Π΄ΠΎΠ»ΠΈΠ²ΠΊΠ° ΠΌΠ°ΡΠ»Π°, ΡΠ°ΠΌΠΎΡΡΠΎΡΡΠ΅Π»ΡΠ½ΠΎ, Π½Π΅ ΠΎΠ±ΡΠ°ΡΠ°ΡΡΡ ΠΊ ΡΠΏΠ΅ΡΠΈΠ°Π»ΠΈΡΡΠ°ΠΌ, Π½Π°Π΄ΠΎ ΠΈΠΌΠ΅ΡΡ ΠΏΠΎΠ΄ ΡΡΠΊΠΎΠΉ Π½Π΅ΠΎΠ±Ρ ΠΎΠ΄ΠΈΠΌΡΠΉ ΠΈΠ½ΡΡΡΡΠΌΠ΅Π½Ρ. ΠΠ³ΠΎ ΠΌΠΎΠΆΠ½ΠΎ ΠΈΠ·Π³ΠΎΡΠΎΠ²ΠΈΡΡ ΡΠ°ΠΌΠΎΡΡΠΎΡΡΠ΅Π»ΡΠ½ΠΎ ΠΈΠ»ΠΈ ΠΏΡΠΈΠΎΠ±ΡΠ΅ΡΡΠΈ Π² ΡΠΏΠ΅ΡΠΈΠ°Π»ΠΈΠ·ΠΈΡΠΎΠ²Π°Π½Π½ΡΡ ΠΌΠ°Π³Π°Π·ΠΈΠ½Π°Ρ .
ΠΡΠ°ΠΊ, Π²Π°ΠΌ ΠΏΠΎΠ½Π°Π΄ΠΎΠ±ΠΈΡΡΡ:
ΠΡΠΆΠ½ΠΎ Π²ΡΡΠ°Π²ΠΈΡΡ ΡΠ»Π°Π½Π³ Π² ΠΎΡΠ²Π΅ΡΡΡΠΈΠ΅ ΠΊΠΎΡΠΎΠ±ΠΊΠΈ Π½ΠΈΠΆΠ½ΠΈΠΌ ΠΊΠΎΠ½ΡΠΎΠΌ ΠΈ ΠΌΠ΅Π΄Π»Π΅Π½Π½ΠΎ Π½Π°ΡΠ°ΡΡ Π·Π°Π»ΠΈΠ²Π°ΡΡ ΡΠΌΠ°Π·ΠΊΡ ΠΈΠ· Π±ΡΡΡΠ»ΠΊΠΈ Π² Π²ΠΎΡΠΎΠ½ΠΊΡ. ΠΠ΅ ΡΠΏΠ΅ΡΠΈΡΠ΅: ΠΌΠ°ΡΠ»ΠΎ Π΄ΠΎΠ»ΠΆΠ½ΠΎ ΡΠ°Π²Π½ΠΎΠΌΠ΅ΡΠ½ΠΎ ΡΠ°ΡΠΏΡΠΎΡΡΡΠ°Π½ΠΈΡΡΡΡ ΠΏΠΎ Π²ΡΠ΅ΠΌ ΠΏΠΎΠ»ΠΎΡΡΡΠΌ Π°Π³ΡΠ΅Π³Π°ΡΠ°. ΠΠ°ΡΠ΅ΠΌ ΠΏΡΠΎΠ²Π΅ΡΡΡΠ΅ Π΅ΡΠ΅ ΡΠ°Π· ΡΡΠΎΠ²Π΅Π½Ρ ΡΠΌΠ°Π·ΠΊΠΈ ΡΡΠΏΠΎΠΌ, ΠΊΠ°ΠΊ Π±ΡΠ»ΠΎ ΠΎΠΏΠΈΡΠ°Π½ΠΎ Π²ΡΡΠ΅.
ΠΡΠ»ΠΈ ΡΡΠΎΠ²Π΅Π½Ρ Π½Π΅Π΄ΠΎΡΡΠ°ΡΠΎΡΠ΅Π½, ΡΠΎ ΠΏΡΠΎΠ΄ΠΎΠ»ΠΆΠ°ΠΉΡΠ΅ Π·Π°Π»ΠΈΠ²ΠΊΡ Π΄ΠΎ Π½Π΅ΠΎΠ±Ρ ΠΎΠ΄ΠΈΠΌΠΎΠΉ ΠΎΡΠΌΠ΅ΡΠΊΠΈ.
ΠΠ»Ρ Π΄ΠΎΠ»ΠΈΠ²ΠΊΠΈ Π²ΡΠ΅Π³Π΄Π° ΡΠ΅ΠΊΠΎΠΌΠ΅Π½Π΄ΡΠ΅ΡΡΡ ΠΈΡΠΏΠΎΠ»ΡΠ·ΠΎΠ²Π°ΡΡ ΠΌΠ°ΡΠ»ΠΎ ΡΠΎΠΉ ΠΆΠ΅ ΠΌΠ°ΡΠΊΠΈ, ΠΊΠΎΡΠΎΡΠ°Ρ ΠΏΡΠΈΠΌΠ΅Π½ΡΠ»Π°ΡΡ ΡΠ°Π½Π΅Π΅.
ΠΠΏΠΈΡΠ°Π½Π½Π°Ρ ΠΏΡΠΎΡΠ΅Π΄ΡΡΠ° Π΄ΠΎΡΡΠ°ΡΠΎΡΠ½ΠΎ ΠΏΡΠΎΡΡΠ°, ΠΈ ΠΏΡΠΈ Π½Π°Π»ΠΈΡΠΈΠΈ Π½Π°Π²ΡΠΊΠ° ΠΎΠ½Π° Π²ΡΠΏΠΎΠ»Π½ΡΠ΅ΡΡΡ Π°Π²ΡΠΎΠ»ΡΠ±ΠΈΡΠ΅Π»ΡΠΌΠΈ Π»ΡΠ±ΠΎΠ³ΠΎ ΡΡΠΎΠ²Π½Ρ ΠΏΠΎΠ΄Π³ΠΎΡΠΎΠ²ΠΊΠΈ Π±Π΅Π· Π±ΠΎΠ»ΡΡΠΈΡ ΠΏΡΠΎΠ±Π»Π΅ΠΌ.
korchim.ru
ΠΡΡΠ΅ΠΊΡΠΈΠ²Π½ΠΎΡΡΡ ΡΠΌΠ°Π·ΡΠ²Π°Π½ΠΈΡ ΡΠ°Π±ΠΎΡΠΈΡ ΠΏΠΎΠ²Π΅ΡΡ Π½ΠΎΡΡΠ΅ΠΉ Π²ΡΡΠ°ΠΆΠ°Π΅ΡΡΡ Π² Π°Π½ΡΠΈΠΈΠ·Π½ΠΎΡΠ½ΡΡ ΡΠ²ΠΎΠΉΡΡΠ²Π°Ρ ΠΌΠ°ΡΠ»Π°. ΠΠ° ΠΏΡΠ΅Π΄ΡΠΏΡΠ΅ΠΆΠ΄Π΅Π½ΠΈΠ΅ Π·Π°Π΄ΠΈΡΠ°Π½ΠΈΡ ΠΈ ΡΠ²Π°ΡΠΈΠ²Π°Π½ΠΈΡ ΠΌΠ΅ΡΠ°Π»Π»ΠΈΡΠ΅ΡΠΊΠΈΡ ΠΌΠ΅Ρ Π°Π½ΠΈΠ·ΠΌΠΎΠ² ΠΠΠΠ ΠΎΡΠ²Π΅ΡΠ°ΡΡ Π°Π½ΡΠΈΠ·Π°Π΄ΠΈΡΠ½ΡΠ΅ ΡΠ²ΠΎΠΉΡΡΠ²Π° ΡΡΠ°Π½ΡΠΌΠΈΡΡΠΈΠΎΠ½Π½ΡΡ ΠΌΠ°ΡΠ΅Π». ΠΠ±Π° ΡΡΠΈΡ ΡΠ²ΠΎΠΉΡΡΠ²Π° ΡΡΠ΅Π·Π²ΡΡΠ°ΠΉΠ½ΠΎ Π²Π°ΠΆΠ½Ρ ΠΈ ΡΠ²Π»ΡΡΡΡΡ ΠΎΡΠ½ΠΎΠ²Π½ΡΠΌΠΈ ΡΡΠ΅Π±ΠΎΠ²Π°Π½ΠΈΡΠΌΠΈ ΠΊ ΡΡΠ°Π½ΡΠΌΠΈΡΡΠΈΠΎΠ½Π½ΡΠΌ ΠΆΠΈΠ΄ΠΊΠΎΡΡΡΠΌ ΠΌΠ΅Ρ Π°Π½ΠΈΡΠ΅ΡΠΊΠΎΠΉ ΠΊΠΎΡΠΎΠ±ΠΊΠΈ.
Π‘ΠΎΠ΄Π΅ΡΠΆΠ°Π½ΠΈΠ΅
[ Π Π°ΡΠΊΡΡΡΡ]
[ Π‘ΠΊΡΡΡΡ]
Π’ΡΠ°Π½ΡΠΌΠΈΡΡΠΈΠΎΠ½Π½ΡΠ΅ ΠΌΠ°ΡΠ»Π° ΠΈΠ³ΡΠ°ΡΡ ΡΠΎΠ»Ρ ΡΠΌΠ°Π·ΡΠ²Π°ΡΡΠ΅Π³ΠΎ Ρ Π°ΡΠ°ΠΊΡΠ΅ΡΠ° Π² ΡΠΈΡΡΠ΅ΠΌΠ΅ ΡΡΡΡΠΎΠΉΡΡΠ²Π° ΠΌΠ΅Ρ Π°Π½ΠΈΡΠ΅ΡΠΊΠΎΠΉ ΠΊΠΎΡΠΎΠ±ΠΊΠΈ ΠΏΠ΅ΡΠ΅Π΄Π°Ρ. Π Π°Π±ΠΎΡΠΈΠ΅ ΠΆΠΈΠ΄ΠΊΠΎΡΡΠΈ Ρ ΠΎΡΠΎΡΠ΅Π³ΠΎ ΠΊΠ°ΡΠ΅ΡΡΠ²Π° ΠΈ c ΠΎΡΠΌΠ΅Π½Π½ΡΠΌΠΈ Ρ Π°ΡΠ°ΠΊΡΠ΅ΡΠΈΡΡΠΈΠΊΠ°ΠΌΠΈ, Π² ΠΏΡΠΎΡΠ΅ΡΡΠ΅ ΡΠ°Π±ΠΎΡΡ ΠΠΠΠ ΠΎΠ±Π²ΠΎΠ»Π°ΠΊΠΈΠ²Π°ΡΡ Π²ΡΠ΅ Π·ΡΠ±ΡΠ°ΡΡΠ΅ ΠΈ ΡΡΠ΅ΠΏΠ»ΡΡΡΠΈΠ΅ ΠΌΠ΅Ρ Π°Π½ΠΈΠ·ΠΌΡ, ΡΠΎΠ·Π΄Π°Π²Π°Ρ Π½Π° ΠΈΡ ΠΏΠΎΠ²Π΅ΡΡ Π½ΠΎΡΡΠΈ Π·Π°ΡΠΈΡΠ½ΡΡ ΠΏΠ»ΡΠ½ΠΊΡ. Π’Π΅ΠΌ ΡΠ°ΠΌΡΠΌ ΠΏΡΠΎΠΈΡΡ ΠΎΠ΄ΠΈΡ ΠΏΠΎΠ²ΡΡΠ΅Π½ΠΈΠ΅ ΠΈΠ·Π½ΠΎΡΠΎΡΡΠΎΠΉΠΊΠΎΡΡΠΈ Π·Π°ΡΠΈΡΡΠ½Π½ΡΡ ΠΏΠΎΠ²Π΅ΡΡ Π½ΠΎΡΡΠ΅ΠΉ, ΡΡΠΎ, Π½Π΅ΡΠΎΠΌΠ½Π΅Π½Π½ΠΎ, ΡΠΊΠ°Π·ΡΠ²Π°Π΅ΡΡΡ Π½Π° ΠΈΡ ΠΏΡΠΎΡΠ½ΠΎΡΡΠΈ. ΠΠΎΡΡΠΎΠΌΡΒ ΠΌΠ°ΡΠ»ΠΎ Π΄Π»Ρ ΠΌΠ΅Ρ Π°Π½ΠΈΡΠ΅ΡΠΊΠΎΠΉ ΠΊΠΎΡΠΎΠ±ΠΊΠΈ ΠΏΠ΅ΡΠ΅Π΄Π°Ρ ΡΠ²Π»ΡΠ΅ΡΡΡ Π²Π°ΠΆΠ½ΡΠΌ ΡΠ»Π΅ΠΌΠ΅Π½ΡΠΎΠΌ.
Π’Π΅ΠΏΠ΅ΡΡ ΡΡΠ°Π»Π° Π½Π΅ΠΌΠ½ΠΎΠ³ΠΎ ΠΏΠΎΠ½ΡΡΠ½Π° ΠΊΠ°ΡΡΠΈΠ½Π°, ΡΡΠΎ ΠΏΡΠ΅Π΄ΡΡΠ°Π²Π»ΡΠ΅Ρ ΡΠΎΠ±ΠΎΠΉ ΡΠ°Π±ΠΎΡΠ°Ρ ΠΆΠΈΠ΄ΠΊΠΎΡΡΡ Π΄Π»Ρ ΠΌΠ΅Ρ Π°Π½ΠΈΡΠ΅ΡΠΊΠΎΠΉ ΠΠΠ. ΠΡ ΠΌΠΎΠΆΠ΅ΡΠ΅ ΡΠΎΠ²Π΅ΡΡΠ΅Π½Π½ΠΎ ΡΠΏΡΠ°Π²Π΅Π΄Π»ΠΈΠ²ΠΎ Π·Π°Π΄Π°ΡΡ Π²ΠΎΠΏΡΠΎΡΡ: Β«Π§Π΅ΠΌ ΡΡΠ°Π½ΡΠΌΠΈΡΡΠΈΠΎΠ½Π½ΠΎΠ΅ ΠΌΠ°ΡΠ»ΠΎ ΠΎΡΠ»ΠΈΡΠ°Π΅ΡΡΡ ΠΎΡ ΠΌΠΎΡΠΎΡΠ½ΠΎΠ³ΠΎ? Π, ΠΌΠΎΠ³Ρ Π»ΠΈ Ρ Π΅Π³ΠΎ Π·Π°Π»ΠΈΠ²Π°ΡΡ Π² ΠΌΠ΅Ρ Π°Π½ΠΈΡΠ΅ΡΠΊΡΡ ΠΊΠΎΡΠΎΠ±ΠΊΡ ΠΏΠ΅ΡΠ΅Π΄Π°Ρ?Β». ΠΡΠ²Π΅ΡΡ Π½Π° Π΄Π°Π½Π½ΡΠ΅ Π²ΠΎΠΏΡΠΎΡΡ Π²Π΅ΡΡΠΌΠ° Π½Π΅ΠΎΠ΄Π½ΠΎΠ·Π½Π°ΡΠ½Ρ.
7-ΠΌΠΈ ΡΡΡΠΏΠ΅Π½ΡΠ°ΡΠ°Ρ ΠΌΠ΅Ρ
Π°Π½ΠΈΡΠ΅ΡΠΊΠ°Ρ ΡΡΠ°Π½ΡΠΌΠΈΡΡΠΈΡΠΠΎ ΡΠ΅ΠΊΠΎΠΌΠ΅Π½Π΄Π°ΡΠΈΠΈ ΠΈΠ·Π³ΠΎΡΠΎΠ²ΠΈΡΠ΅Π»Π΅ΠΉ, ΠΌΠΎΡΠΎΡΠ½ΠΎΠ΅ Π² ΠΠΠΠ Π΄ΠΎΠΏΡΡΡΠΈΠΌΠΎ Π·Π°Π»ΠΈΠ²Π°ΡΡ Π² ΡΠ»Π΅Π΄ΡΡΡΠ΅ΠΌ ΡΠ»ΡΡΠ°Π΅Β βΒ Π΅ΡΠ»ΠΈ Π²Π°Ρ Π°Π²ΡΠΎΠΌΠΎΠ±ΠΈΠ»Ρ ΡΠ²Π»ΡΠ΅ΡΡΡ ΠΏΠ΅ΡΠ΅Π΄Π½Π΅ΠΏΡΠΈΠ²ΠΎΠ΄Π½ΡΠΌ. Π£ ΡΠ°ΠΊΠΈΡ Π°Π²ΡΠΎ, ΠΊΠΎΡΠΎΠ±ΠΊΠ° ΠΈΠΌΠ΅Π΅Ρ ΡΠ΅ΡΡΠ΅ΡΡΠ½ΠΊΠΈ ΡΠΈΠ»ΠΈΠ½Π΄ΡΠΈΡΠ΅ΡΠΊΠΎΠΉ ΡΠΎΡΠΌΡ, ΠΏΠΎΡΡΠΎΠΌΡ Π·Π°Π΄ΠΈΡΠ°Π½ΠΈΠ΅ Π² ΡΡΠΎΠΌ ΡΠ»ΡΡΠ°Π΅ Π½Π΅Π²Π΅Π»ΠΈΠΊΠΎ.
ΠΠ°ΠΆΠ΅ Π΅ΡΠ»ΠΈ Π²Π°Ρ Π°Π²ΡΠΎΠΌΠΎΠ±ΠΈΠ»Ρ ΠΏΠΎΠ΄Ρ ΠΎΠ΄ΠΈΡ ΠΏΠΎΠ΄ ΠΎΠΏΠΈΡΠ°Π½ΠΈΠ΅, ΠΏΡΠ΅ΠΆΠ΄Π΅ Π²ΡΠ΅Π³ΠΎ, ΠΏΠΎΠΏΡΠΎΠ±ΡΠΉΡΠ΅ ΡΡΠΎΡΠ½ΠΈΡΡ Ρ ΠΏΡΠΎΠΈΠ·Π²ΠΎΠ΄ΠΈΡΠ΅Π»Ρ, ΠΏΡΠΈΠ³ΠΎΠ΄Π½Π° Π»ΠΈ ΠΌΠΎΡΠΎΡΠ½Π°Ρ ΠΆΠΈΠ΄ΠΊΠΎΡΡΡ Π΄Π»Ρ Π²Π°ΡΠ΅ΠΉ ΠΌΠ΅Ρ Π°Π½ΠΈΠΊΠΈ. Π’Π΅ΠΌ ΡΠ°ΠΌΡΠΌ Π²Ρ ΠΌΠΎΠΆΠ΅ΡΠ΅ ΠΈΠ·Π±Π°Π²ΠΈΡΡ ΠΊΠ°ΡΡΠΎΠ²ΡΠΉ Π°ΠΏΠΏΠ°ΡΠ°Ρ Π°Π²ΡΠΎΡΠ΅ΡΠ²ΠΈΡΠ° ΠΎΡ Π½ΠΎΠ²ΠΎΠ³ΠΎ ΡΠ΅Π»Π΅ΡΡΠ° Π²Π°ΡΠΈΡ ΠΊΡΠΏΡΡ.
Π ΠΎΡΠ½ΠΎΠ²Π½ΠΎΠΌ ΡΠ°Π·Π»ΠΈΡΠΈΠ΅ ΠΌΠΎΡΠΎΡΠ½ΠΎΠ³ΠΎ ΠΈ ΡΡΠ°Π½ΡΠΌΠΈΡΡΠΈΠΎΠ½Π½ΠΎΠ³ΠΎ ΠΌΠ°ΡΠ»Π° ΡΠΎΡΡΠΎΠΈΡ Π² Π²ΡΠ·ΠΊΠΎΡΡΠΈ. ΠΠΎΡΠΎΡΠ½ΠΎΠ΅ Π±ΠΎΠ»Π΅Π΅ Β«ΠΆΠΈΠ΄ΠΊΠΎΠ΅Β», Π² ΡΡΠΎΠΌ ΠΌΠΎΠΆΠ½ΠΎ ΡΠ±Π΅Π΄ΠΈΡΡΡΡ Π΄Π°ΠΆΠ΅ ΠΏΠΎΠ΄ΡΡΡΠ½ΡΠΌ ΡΠΏΠΎΡΠΎΠ±ΠΎΠΌ, Π° ΠΈΠΌΠ΅Π½Π½ΠΎ Π²Π·Π±ΠΎΠ»ΡΠ°ΡΡ Π±ΡΡΡΠ»ΠΊΡ ΠΌΠΎΡΠΎΡΠ½ΠΎΠ³ΠΎ ΠΌΠ°ΡΠ»Π° ΠΈ ΡΡΠ°Π½ΡΠΌΠΈΡΡΠΈΠΎΠ½Π½ΠΎΠ³ΠΎ.
ΠΠΎΡΠΎΡΠ½Π°Ρ ΠΈ ΡΡΠ°Π½ΡΠΌΠΈΡΡΠΈΠΎΠ½Π½Π°Ρ ΠΆΠΈΠ΄ΠΊΠΎΡΡΡ ShellΠΡΠΈ Π²ΡΠ±ΠΎΡΠ΅ ΠΆΠΈΠ΄ΠΊΠΎΡΡΠΈ, ΠΊΠΎΡΠΎΡΡΡΒ Π½ΡΠΆΠ½ΠΎ Π·Π°Π»ΠΈΠ²Π°ΡΡ, ΠΊΠ°ΠΊ ΠΏΡΠ°Π²ΠΈΠ»ΠΎ, ΠΎΡΡΠ°Π»ΠΊΠΈΠ²Π°ΡΡΡΡ ΠΎΡ Π΄Π²ΡΡ Π½Π°ΠΈΠ±ΠΎΠ»Π΅Π΅ Π·Π½Π°ΡΠΈΡΠ΅Π»ΡΠ½ΡΡ Ρ Π°ΡΠ°ΠΊΡΠ΅ΡΠΈΡΡΠΈΠΊ: ΡΡΠ΅ΠΏΠ΅Π½ΠΈ Π²ΡΠ·ΠΊΠΎΡΡΠΈ ΠΈ ΡΠΊΡΠΏΠ»ΡΠ°ΡΠ°ΡΠΈΠΎΠ½Π½ΡΡ ΡΠ²ΠΎΠΉΡΡΠ².
Π ΠΏΡΠΈΠΌΠ΅ΡΡ, ΡΠ°Π±ΠΎΡΠΈΠ΅ ΠΆΠΈΠ΄ΠΊΠΎΡΡΠΈ ΠΊΠ»Π°ΡΡΠΎΠ² GL-1 β GL-3 ΠΈΡΠΏΠΎΠ»ΡΠ·ΡΡΡΡΡ Π² ΠΠΠΠ ΡΡΠ°ΡΡΡ Π°Π²ΡΠΎ. GL-4 ΠΈ GL-5 ΠΏΡΠΈΠΌΠ΅Π½ΡΡΡ Π΄Π»Ρ ΠΊΠΎΡΠΎΠ±ΠΎΠΊ Π»Π΅Π³ΠΊΠΎΠ²ΡΡ Π°Π²ΡΠΎΠΌΠΎΠ±ΠΈΠ»Π΅ΠΉ ΡΠ°Π·Π½ΡΡ ΡΠΈΠΏΠΎΠ². ΠΡΠ΅Π½Ρ Π²Π°ΠΆΠ½ΠΎ Π·Π½Π°ΡΡ, ΡΡΠΎ GL-4 Π·Π°Π»ΠΈΠ²Π°ΡΡ Π² ΠΌΠ΅Ρ Π°Π½ΠΈΡΠ΅ΡΠΊΡΡ ΠΊΠΎΡΠΎΠ±ΠΊΡ ΡΠΎΠ»ΡΠΊΠΎ ΠΏΠ΅ΡΠ΅Π΄Π½Π΅ΠΏΡΠΈΠ²ΠΎΠ΄Π½ΡΡ Π°Π²ΡΠΎΠΌΠΎΠ±ΠΈΠ»Π΅ΠΉ. Π ΡΠ²ΠΎΡ ΠΎΡΠ΅ΡΠ΅Π΄Ρ, ΠΌΠ°ΡΠ»Π° ΠΊΠ»Π°ΡΡΠ° GL-5 ΠΏΡΠΈΠΌΠ΅Π½ΡΡΡΡΡ Π΄Π»Ρ ΠΊΠΎΡΠΎΠ±ΠΎΠΊ Π·Π°Π΄Π½Π΅ΠΏΡΠΈΠ²ΠΎΠ΄Π½ΡΡ Π°Π²ΡΠΎΠΌΠΎΠ±ΠΈΠ»Π΅ΠΉ ΠΈ Π΄Π»Ρ ΠΌΠΎΡΡΠΎΠ².Β Π‘ΡΡΠ΅ΡΡΠ²ΡΠ΅Ρ ΡΠ°ΠΊΠΆΠ΅ ΠΊΠ»Π°ΡΡ GL-6, Π½ΠΎ Π² Π½Π°ΡΡΠΎΡΡΠ΅Π΅ Π²ΡΠ΅ΠΌΡ Π½Π΅ ΠΏΡΠΈΠΌΠ΅Π½ΡΠ΅ΡΡΡ, ΡΠ°ΠΊ ΠΊΠ°ΠΊ GL-5 ΠΎΡΠ²Π΅ΡΠ°Π΅Ρ Π±ΠΎΠ»Π΅Π΅ Π²ΡΡΠΎΠΊΠΈΠΌ ΡΡΠ΅Π±ΠΎΠ²Π°Π½ΠΈΡΠΌ.
ΠΡΡΡΠ»ΠΊΠ° ΡΡΠ°Π½ΡΠΌΠΈΡΡΠΈΠΎΠ½Π½ΠΎΠΉ ΠΆΠΈΠ΄ΠΊΠΎΡΡΠΈ Liqui Moly ΠΊΠ»Π°ΡΡΠ° GL-4/GL-5ΠΡΠΊΠ²Π° Β«WΒ» (winter β Π·ΠΈΠΌΠ°) Π² ΡΠΈΡΠ»ΠΎΠ²ΠΎΠΌ ΠΏΠΎΠΊΠ°Π·Π°ΡΠ΅Π»Π΅ Π²ΡΠ·ΠΊΠΎΡΡΠΈ ΠΎΠ±ΠΎΠ·Π½Π°ΡΠ°Π΅Ρ ΠΎΡΠ½ΠΎΡΠ΅Π½ΠΈΠ΅ ΠΊ ΡΠ΅Π·ΠΎΠ½Ρ ΠΏΡΠΈΠΌΠ΅Π½Π΅Π½ΠΈΡ ΠΌΠ°ΡΠ»Π° Π² Ρ ΠΎΠ»ΠΎΠ΄Π½ΠΎΠ΅ Π²ΡΠ΅ΠΌΡ Π³ΠΎΠ΄Π°. ΠΡΡΡΡΡΡΠ²ΠΈΠ΅ Π±ΡΠΊΠ²Ρ Β«WΒ» β ΠΏΡΠΈΠΌΠ΅Π½Π΅Π½ΠΈΠ΅ ΠΌΠ°ΡΠ»Π° Π² Π»Π΅ΡΠ½Π΅Π΅ Π²ΡΠ΅ΠΌΡ Π³ΠΎΠ΄Π°.
ΠΡΠ°ΠΊΡΠΈΠΊΠ° ΠΏΠΎΠΊΠ°Π·Π°Π»Π°, ΡΡΠΎ ΡΡΠ΅Π΄ΠΈ ΡΠ΅Π·ΠΎΠ½Π½ΡΡ ΠΈ Π²ΡΠ΅ΡΠ΅Π·ΠΎΠ½Π½ΡΡ Π½Π°ΠΈΠ±ΠΎΠ»ΡΡΠ΅Π΅ ΠΏΡΠ΅Π΄ΠΏΠΎΡΡΠ΅Π½ΠΈΠ΅ Π΄Π°ΡΡ Π²ΡΠ΅ΡΠ΅Π·ΠΎΠ½Π½ΡΠΌ (ΡΠ°ΠΊΠΈΠ΅ ΠΌΠ°ΡΠ»Π° ΠΎΠ±ΠΎΠ·Π½Π°ΡΠ°ΡΡΡΡ Π² Π²ΠΈΠ΄Π΅ SEA 80W-90). ΠΡΠΎ ΠΎΠ±ΡΡΡΠ½ΡΠ΅ΡΡΡ ΡΠ΅ΠΌ, ΡΡΠΎ Π·Π° ΠΏΠ΅ΡΠΈΠΎΠ΄ ΠΈΡΠΏΠΎΠ»ΡΠ·ΠΎΠ²Π°Π½ΠΈΡ ΡΠ΅Π·ΠΎΠ½Π½ΠΎΠ³ΠΎ ΠΌΠ°ΡΠ»Π°, ΠΎΠ½ΠΎ ΡΠ°ΡΡΠΎ Π½Π΅ ΡΡΠΏΠ΅Π²Π°Π΅Ρ ΠΎΡΡΠ°Π±ΠΎΡΠ°ΡΡ Π²Π΅ΡΡ ΡΠ²ΠΎΠΉ ΠΏΠΎΡΠ΅Π½ΡΠΈΠ°Π». Π ΠΏΠΎΡΠΎΠΌΡ ΠΌΠ΅Π½ΡΡΡ ΡΠ΅Π·ΠΎΠ½Π½ΡΠ΅ ΠΌΠ°ΡΠ»Π° ΠΊΠ°ΠΆΠ΄ΡΠΉ ΠΏΠ΅ΡΠΈΠΎΠ΄ Π³ΠΎΠ΄Π°Β β Π½Π΅ΡΠ΄ΠΎΠ±Π½ΠΎ ΠΈ ΡΠΊΠΎΠ½ΠΎΠΌΠΈΡΠ΅ΡΠΊΠΈ Π½Π°ΠΊΠ»Π°Π΄Π½ΠΎ.
| ΠΠ»Π°ΡΡ Π²ΡΠ·ΠΊΠΎΡΡΠΈ | ΠΠ°ΠΊΡΠΈΠΌ. ΡΠ΅ΠΌΠΏ., ΠΏΡΠΈ ΠΊΠΎΡ. Π²ΡΠ·ΠΊ.Β Π½Π΅ ΠΏΡΠ΅Π²ΡΡ. 150000 ΡΠ, ΠΎΠ‘ | ΠΠΈΠ½Π΅ΠΌΠ°ΡΠΈΡΠ΅ΡΠΊΠ°Ρ Π²ΡΠ·ΠΊΠΎΡΡΡ ΠΏΡΠΈ 100 ΠΎΠ‘, ΡΠ‘Ρ | |
| ΠΌΠΈΠ½ΠΈΠΌΠ°Π»ΡΠ½Π°Ρ | ΠΌΠ°ΠΊΡΠΈΠΌΠ°Π»ΡΠ½Π°Ρ | ||
| 70W | β 55 | 4,1 | β |
| 75W | β 40 | 4,1 | β |
| 80W | β 26 | 7,0 | β |
| 85W | β 12 | 11,0 | β |
| 90 | β | 13,5 | 24,0 |
| 140 | β | 24,0 | 41,0 |
| 250 | β | 41,0 | β |
Π’Π°Π±Π»ΠΈΡΠ° ΡΡΠ΅ΠΏΠ΅Π½ΠΈ Π²ΡΠ·ΠΊΠΎΡΡΠΈ Π² Π·Π°Π²ΠΈΡΠΈΠΌΠΎΡΡΠΈ ΠΎΡ ΠΊΠ»Π°ΡΡΠ° ΡΡΠ°Π½ΡΠΌΠΈΡΡΠΈΠΎΠ½Π½ΠΎΠ³ΠΎ ΠΌΠ°ΡΠ»Π° (ΠΏΠΎ SAE)
ΠΡΡΠ΅ΠΊΠ°ΡΡΠ°Ρ ΠΆΠΈΠ΄ΠΊΠΎΡΡΡ ΠΈΠ· Π·Π°Π»ΠΈΠ²Π½ΠΎΠ³ΠΎ ΠΎΡΠ²Π΅ΡΡΡΠΈΡ ΠΠΠΠ Π²ΠΎΡ Π²Ρ ΠΏΡΠΎΠ²Π΅ΡΠΈΠ»ΠΈ ΡΡΠΎΠ²Π΅Π½Ρ ΠΌΠ°ΡΠ»Π°, ΠΎΡΠ²ΠΎΡΠΈΠ»ΠΈ ΠΏΡΠΎΠ±ΠΊΡ Π·Π°Π»ΠΈΠ²Π½ΠΎΠ³ΠΎ ΠΎΡΠ²Π΅ΡΡΡΠΈΡ, Π½ΠΎ Π½ΠΈΡΠ΅Π³ΠΎ Π½Π΅ ΡΠ΅ΡΡΡ. ΠΡΠΎ ΠΎΠ·Π½Π°ΡΠ°Π΅Ρ, ΡΡΠΎ ΠΏΠΎ ΠΊΠ°ΠΊΠΎΠΉ-Π»ΠΈΠ±ΠΎ ΠΏΡΠΈΡΠΈΠ½Π΅ ΡΡΠΎΠ²Π΅Π½Ρ ΠΌΠ°ΡΠ»Π° Π½ΠΈΠΆΠ΅ ΠΎΠΏΡΠΈΠΌΠ°Π»ΡΠ½ΠΎΠ³ΠΎ. ΠΡΠΈΡΠΈΠ½ ΡΠ½ΠΈΠΆΠ΅Π½ΠΈΡ ΡΡΠΎΠ²Π½Ρ ΡΠ°Π±ΠΎΡΠ΅ΠΉ ΠΆΠΈΠ΄ΠΊΠΎΡΡΠΈ Π½Π΅ΠΌΠ½ΠΎΠ³ΠΎ. ΠΠ°ΡΠ°ΡΡΡΡ ΡΡΠΎ ΡΠ»ΡΡΠ°Π΅ΡΡΡ ΠΈΠ·-Π·Π° ΠΏΠ»ΠΎΡ ΠΎΠΉ ΠΈΠ·ΠΎΠ»ΡΡΠΈΠΈ, ΠΊΠΎΡΠΎΡΡΡ ΠΎΠ±Π΅ΡΠΏΠ΅ΡΠΈΠ²Π°ΡΡ ΡΠ°Π»ΡΠ½ΠΈΠΊΠΈ. ΠΡΠ»ΠΈ ΡΠ°Π»ΡΠ½ΠΈΠΊΠΈ Π²ΡΠΏΠΎΠ»Π½ΡΡΡ ΡΠ²ΠΎΡ ΡΠ°Π±ΠΎΡΡ ΠΏΠ»ΠΎΡ ΠΎ, ΡΠΎ ΡΠΊΠΎΡΠ΅ΠΉ Π²ΡΠ΅Π³ΠΎ Π·Π°Π»ΠΈΠ²Π°ΡΡ ΡΠΌΠ°Π·ΠΊΡ ΠΏΡΠΈΠ΄ΡΡΡΡ ΡΠ°ΡΠ΅, ΡΠ΅ΠΌ ΠΏΠΎΠ»Π°Π³Π°Π΅ΡΡΡ. ΠΡ ΡΠΎΠΆΠ΅ ΠΌΠΎΠΆΠ½ΠΎ ΠΏΠΎΠΌΠ΅Π½ΡΡΡ.
ΠΠ»ΠΈ Π΄ΡΡΠ³ΠΎΠΉ Π²Π°ΡΠΈΠ°Π½Ρ, ΠΊΠ°ΠΊ ΡΠΎΠ»ΡΠΊΠΎ ΡΠ½ΡΠ»ΠΈ ΠΏΡΠΎΠ±ΠΊΡ Π·Π°Π»ΠΈΠ²Π½ΠΎΠ³ΠΎ ΠΎΡΠ²Π΅ΡΡΡΠΈΡ, ΡΡΠ°Π·Ρ Ρ Π»ΡΠ½ΡΠ»Π° ΠΆΠΈΠ΄ΠΊΠΎΡΡΡ. ΠΡΠΎ Π³ΠΎΠ²ΠΎΡΠΈΡ ΠΎ Π΄ΠΎΡΡΠ°ΡΠΎΡΠ½ΠΎΠΌ ΠΊΠΎΠ»ΠΈΡΠ΅ΡΡΠ²Π΅ Π½Π΅ΡΡΠ΅ΠΏΡΠΎΠ΄ΡΠΊΡΠ°. Π§ΡΠΎΠ±Ρ ΡΠ΄ΠΎΡΡΠΎΠ²Π΅ΡΠΈΡΡΡΡ Π² Π½Π΅ΠΎΠ±Ρ ΠΎΠ΄ΠΈΠΌΠΎΡΡΠΈ Π·Π°ΠΌΠ΅Π½Ρ ΠΌΠ°ΡΠ»Π°, Π½ΡΠΆΠ½ΠΎ ΠΏΡΠΎΠ²Π΅ΡΠΈΡΡ Π΅Π³ΠΎ ΡΠΎΡΡΠΎΡΠ½ΠΈΠ΅ ΠΈ ΠΊΠ°ΡΠ΅ΡΡΠ²ΠΎ. ΠΡΠ»ΠΈ ΠΆΠΈΠ΄ΠΊΠΎΡΡΡ ΠΈΠΌΠ΅Π΅Ρ ΡΡΡΠ½ΡΠΉ ΡΠ²Π΅Ρ ΠΈ Β«Π³ΠΎΡΠ΅Π»ΡΠΉΒ» Π·Π°ΠΏΠ°Ρ β ΠΏΠΎΠΌΠ΅Π½ΡΡΡ ΡΠΌΠ°Π·ΠΊΡ Π½Π΅ΠΎΠ±Ρ ΠΎΠ΄ΠΈΠΌΠΎ. Π’Π°ΠΊΠΆΠ΅ Π·Π°ΠΌΠ΅Π½Π° Π°ΠΊΡΡΠ°Π»ΡΠ½Π° ΠΏΠΎΡΠ»Π΅ ΠΏΡΠΎΠ±Π΅Π³Π° Π² 60 ΡΡΡ. ΠΊΠΌ.
ΠΠ΅ΠΏΠΎΡΡΠ΅Π΄ΡΡΠ²Π΅Π½Π½ΠΎ Π΄Π»Ρ Π·Π°ΠΌΠ΅Π½Ρ ΡΠ°Π±ΠΎΡΠ΅ΠΉ ΡΠΌΠ°Π·ΠΊΠΈ Π½Π΅ΠΎΠ±Ρ ΠΎΠ΄ΠΈΠΌΠΎ ΡΡΡ ΡΠΌΠ°Π·ΠΊΡ ΡΠ»ΠΈΡΡ. ΠΠΎΠ»ΠΈΠ²Π°Ρ ΠΌΠ°ΡΠ»ΠΎ, ΠΌΡ Π»ΠΈΡΡ ΡΠ°Π·Π±Π°Π²Π»ΡΠ΅ΠΌ Π½ΠΎΠ²ΠΎΠ΅ ΡΠΎ ΡΡΠ°ΡΡΠΌ, Π° Π½Π΅ ΠΏΡΠΎΠΈΠ·Π²ΠΎΠ΄ΠΈΠΌ Π΅Π³ΠΎ Π·Π°ΠΌΠ΅Π½Ρ.
ΠΠ²ΡΠΎΠΌΠΎΠ±ΠΈΠ»Ρ Π½Π° ΡΡΡΠ°ΠΊΠ°Π΄Π΅Π‘ΡΠΎΠΈΡΡ ΠΏΠΎΠΌΠ½ΠΈΡΡ, ΡΡΠΎ Π½Π΅Π»ΡΠ·Ρ ΡΠΌΠ΅ΡΠΈΠ²Π°ΡΡ Π½Π΅ΡΡΠ΅ΠΏΡΠΎΠ΄ΡΠΊΡΡ ΡΠ°Π·Π½ΡΡ ΠΎΡΠ½ΠΎΠ²Π°Π½ΠΈΠΉ ΠΈ ΠΊΠ»Π°ΡΡΠΎΠ². ΠΠΏΡΠΈΠΌΠ°Π»ΡΠ½ΠΎ Π·Π°Π»ΠΈΠ²Π°ΡΡ Π²Π΅ΡΠ΅ΡΡΠ²ΠΎ, ΠΊΠ°ΠΊΠΎΠ΅ Π±ΡΠ»ΠΎ ΠΈΠ·Π½Π°ΡΠ°Π»ΡΠ½ΠΎ.
Π ΡΡΠΎΠΌ ΡΠ»ΡΡΠ°Π΅ Π±ΡΠ»Π° ΠΏΡΠΎΠΈΠ·Π²Π΅Π΄Π΅Π½Π° ΡΠ°ΡΡΠΈΡΠ½Π°Ρ Π·Π°ΠΌΠ΅Π½Π° ΠΌΠ°ΡΠ»Π° Π² ΠΌΠ΅Ρ Π°Π½ΠΈΡΠ΅ΡΠΊΠΎΠΉ ΠΊΠΎΡΠΎΠ±ΠΊΠ΅ ΠΏΠ΅ΡΠ΅Π΄Π°Ρ. Π§Π°ΡΡΠΈΡΠ½Π°Ρ ΠΎΠ½Π°, ΠΏΠΎΡΠΎΠΌΡ ΡΡΠΎ Π½Π΅ΠΊΠΎΡΠΎΡΠ°Ρ ΡΠ°ΡΡΡ ΡΡΠ°ΡΠΎΠ³ΠΎ ΠΌΠ°ΡΠ»Π° ΠΎΡΡΠ°Π»Π°ΡΡ Π½Π° ΠΏΠΎΠ²Π΅ΡΡ Π½ΠΎΡΡΠΈ Π΄Π΅ΡΠ°Π»Π΅ΠΉ ΠΠΠΠ Π²Π½ΡΡΡΠΈ ΠΊΠ°ΡΡΠ΅ΡΠ°.
ΠΠΎΠ»Π½Π°Ρ Π·Π°ΠΌΠ΅Π½Π° ΡΠΌΠ°Π·ΠΊΠΈ ΠΏΡΠΎΠΈΠ·Π²ΠΎΠ΄ΠΈΡΡΡ ΠΏΡΡΡΠΌ ΠΏΡΠΎΠΌΡΠ²ΠΊΠΈ, Π²ΡΠΌΠ΅ΡΠ΅Π½ΠΈΡ ΡΡΠ°ΡΠΎΠ³ΠΎ ΠΌΠ°ΡΠ»Π° Π½ΠΎΠ²ΡΠΌ ΠΈ ΡΠ°ΠΊ Π΄Π°Π»Π΅Π΅. ΠΠΎ ΡΡΠΎ ΠΏΡΠΎΡΠ΅ΡΡ Π±ΠΎΠ»Π΅Π΅ ΡΡΡΠ΄ΠΎΡΠΌΠΊΠΈΠΉ ΠΈ ΡΠ»ΠΎΠΆΠ½ΡΠΉ. ΠΠ³ΠΎ Π»ΡΡΡΠ΅ Π΄ΠΎΠ²Π΅ΡΠΈΡΡ ΠΎΠΏΡΡΠ½ΠΎΠΌΡ ΡΠΏΠ΅ΡΠΈΠ°Π»ΠΈΡΡΡ Π°Π²ΡΠΎΡΠ΅ΡΠ²ΠΈΡΠ°.
ΠΡΠΈΡΠ°Π΄ΠΊΠΈ β ΡΡΠΎ ΡΠ°ΠΊΠΈΠ΅ Π΄ΠΎΠ±Π°Π²ΠΊΠΈ Π² ΠΎΡΠ½ΠΎΠ²Ρ ΠΌΠ°ΡΠ»ΡΠ½ΠΎΠΉ ΠΆΠΈΠ΄ΠΊΠΎΡΡΠΈ, ΠΏΡΠ΅Π΄Π½Π°Π·Π½Π°ΡΠ΅Π½Π½ΡΠ΅ Π΄Π»Ρ ΠΏΠΎΠ²ΡΡΠ΅Π½ΠΈΡ ΠΊΠ°ΡΠ΅ΡΡΠ²Π° ΠΈ ΡΠΊΡΠΏΠ»ΡΠ°ΡΠ°ΡΠΈΠΎΠ½Π½ΡΡ ΡΠ²ΠΎΠΉΡΡΠ². ΠΠ΄Π½ΠΎΠΉ ΠΈΠ· ΡΠ°ΠΊΠΈΡ ΠΏΡΠΈΡΠ°Π΄ΠΎΠΊ ΡΠ²Π»ΡΠ΅ΡΡΡ Π°Π½ΡΠΈΡΡΠΈΠΊΡΠΈΠΎΠ½Π½Π°Ρ ΠΏΡΠΈΡΠ°Π΄ΠΊΠ° Getriebeoil-Additiv. ΠΠΎ Π·Π°ΡΠ²Π»Π΅Π½ΠΈΡ ΠΏΡΠΎΠΈΠ·Π²ΠΎΠ΄ΠΈΡΠ΅Π»Ρ Π΄Π°Π½Π½ΡΠΉ ΠΏΡΠΎΠ΄ΡΠΊΡ ΡΠΎΠ·Π΄Π°Π½ Π΄Π»Ρ Π·Π½Π°ΡΠΈΡΠ΅Π»ΡΠ½ΠΎΠ³ΠΎ ΡΠ½ΠΈΠΆΠ΅Π½ΠΈΡ ΠΈΠ·Π½ΠΎΡΠ° ΠΈ ΡΠ΅ΠΌΠΏΠ΅ΡΠ°ΡΡΡΡ Π½Π° ΠΏΠΎΠ²Π΅ΡΡ Π½ΠΎΡΡΡΡ ΡΡΠ΅Π½ΠΈΡ.
ΠΡΠΎ Π²Π΅Π΄ΡΡ ΠΊ ΡΠΌΡΠ³ΡΠ΅Π½ΠΈΡ ΠΏΠ΅ΡΠ΅ΠΊΠ»ΡΡΠ΅Π½ΠΈΡ ΠΏΠ΅ΡΠ΅Π΄Π°Ρ ΠΈ Π΅Ρ ΠΏΠ»Π°Π²Π½ΠΎΠΉ ΡΠ°Π±ΠΎΡΠ΅. ΠΠΎΠ±Π°Π²Π»ΡΡ Π΄Π°Π½Π½ΡΡ ΠΏΡΠΈΡΠ°Π΄ΠΊΡ Π² ΡΡΠ°ΡΡΠ΅ ΠΊΠΎΡΠΎΠ±ΠΊΠΈ ΠΏΡΠΎΠΈΠ·Π²ΠΎΠ΄ΠΈΡΠ΅Π»Ρ ΠΎΠ±Π΅ΡΠ°Π΅Ρ ΠΏΠΎΡΡΠ΅Π΄ΡΡΠ²ΠΎΠΌ ΡΠ³Π»Π°ΠΆΠΈΠ²Π°Π½ΠΈΡ Π·ΡΠ±ΡΠ΅Π² ΡΠ»ΡΡΡΠ΅Π½ΠΈΠ΅ ΠΈΡ ΡΠ°Π±ΠΎΡΡ. ΠΠ΅ΡΠ΅ΠΊΠ»ΡΡΠ΅Π½ΠΈΠ΅ ΠΏΠ΅ΡΠ΅Π΄Π°Ρ ΠΏΡΠΈΠΎΠ±ΡΠ΅ΡΠ°Π΅Ρ ΠΏΠ»Π°Π²Π½ΠΎΡΡΡ, Π° ΡΠ°ΠΊΠΆΠ΅ Π½Π°Π±Π»ΡΠ΄Π°Π΅ΡΡΡ ΠΏΡΠΈΡΠΎΡΡ ΡΡΡΠ΅ΠΊΡΠΈΠ²Π½ΠΎΡΡΠΈ ΡΠ°Π±ΠΎΡΡ ΠΌΠ΅Ρ Π°Π½ΠΈΡΠ΅ΡΠΊΠΎΠΉ ΠΊΠΎΡΠΎΠ±ΠΊΠΈ.
ΠΡΠΈΡΠ°Π΄ΠΊΠ° Liqui Moly Getriebeoil-AdditivΠ ΡΠ΅ΠΊΠΎΠΌΠ΅Π½Π΄Π°ΡΠΈΠΈ ΠΏΠΎ ΠΈΡΠΏΠΎΠ»ΡΠ·ΠΎΠ²Π°Π½ΠΈΡ ΠΏΡΠΈΡΠ°Π΄ΠΊΠΈ ΡΠΊΠ°Π·ΡΠ²Π°Π΅ΡΡΡ ΠΎΠ±ΡΡΠΌ, ΠΊΠΎΡΠΎΡΡΠΉ ΡΠ°Π²Π΅Π½ 20 ΠΌΠ» Π½Π° 1-2 Π»ΠΈΡΡΠ° ΡΡΠ°Π½ΡΠΌΠΈΡΡΠΈΠΎΠ½Π½ΠΎΠ³ΠΎ ΠΌΠ°ΡΠ»Π°.
ΠΡΡΠ΅ΠΊΡΡ ΠΈ ΡΠ²ΠΎΠΉΡΡΠ²Π° ΠΏΡΠΈΡΠ°Π΄ΠΊΠΈ:

| ΠΠΎΠ»ΠΎΠΆΠΈΡΠ΅Π»ΡΠ½ΡΠ΅ | ΠΡΡΠΈΡΠ°ΡΠ΅Π»ΡΠ½ΡΠ΅ |
| ΠΡΡΠ΅Π·Π°Π΅Ρ ΠΏΠΎΡΡΠΎΡΠΎΠ½Π½ΠΈΠΉ ΡΡΠΌ Π² ΠΠΠ | ΠΠ΅ΠΏΡΠΈΠ³ΠΎΠ΄Π½Π° Π΄Π»Ρ ΠΈΠ·Π½ΠΎΡΠ΅Π½Π½ΡΡ ΡΡΠ°Π½ΡΠΌΠΈΡΡΠΈΠΉ |
| ΠΠ΅ΡΠ΅ΠΊΠ»ΡΡΠ΅Π½ΠΈΠ΅ ΠΏΠ΅ΡΠ΅Π΄Π°Ρ ΡΡΠ°Π½ΠΎΠ²ΠΈΡΡΡ ΠΏΠ»Π°Π²Π½ΡΠΌ | ΠΠΎΠΆΠ΅Ρ Π»ΠΈΡΠΈΡΡ ΡΠ°Π±ΠΎΡΡ ΡΠΏΠ΅ΡΠΈΠ°Π»ΠΈΡΡΠΎΠ² Π°Π²ΡΠΎΡΠ΅ΡΠ²ΠΈΡΠ° |
| ΠΡΡΠΎΠΊΠ°Ρ ΡΠΎΠ²ΠΌΠ΅ΡΡΠΈΠΌΠΎΡΡΡ ΡΠΎ Π²ΡΠ΅ΠΌΠΈ ΠΌΠ°ΡΠ»Π°ΠΌΠΈ | |
| ΠΡΡΠ΅ΠΊΡ Π½Π°ΡΡΡΠΏΠ°Π΅Ρ ΠΏΠΎΡΠ»Π΅ 100-500 ΠΊΠΌ |
Π ΡΡΠΎΠΌ ΡΠΎΠ»ΠΈΠΊΠ΅ ΡΠ·Π½Π°ΠΉΡΠ΅, ΠΊΠ°ΠΊ ΠΏΡΠΎΠ²Π΅ΡΡΡΡ ΡΡΠΎΠ²Π΅Π½Ρ ΠΌΠ°ΡΠ»Π° ΠΈ ΠΊΡΠ΄Π° Π΅Π³ΠΎ Π½ΡΠΆΠ½ΠΎ Π·Π°Π»ΠΈΠ²Π°ΡΡ Ρ Π°Π²ΡΠΎΠΌΠΎΠ±ΠΈΠ»Π΅ΠΉ ΠΌΠ°ΡΠΊΠΈ Renault.
ΠΡΠ»ΠΈ ΡΡΠ° ΡΡΠ°ΡΡΡ Π²Π°ΠΌ ΠΏΠΎΠΌΠΎΠ³Π»Π° ΠΈΠ»ΠΈ Ρ Π²Π°Ρ Π΅ΡΡΡ ΡΠ΅ΠΌ Π΅Π΅ Π΄ΠΎΠΏΠΎΠ»Π½ΠΈΡΡ, Π° ΠΌΠΎΠΆΠ΅Ρ ΠΈ ΠΏΠΎΠΏΡΠ°Π²ΠΈΡΡ, Π½Π°ΠΏΠΈΡΠΈΡΠ΅ ΡΠ²ΠΎΠΉ ΠΎΡΠ·ΡΠ².
avtozam.com

ΠΡΠΎΠΌΠ΅ ΠΌΠΎΡΠΎΡΠ½ΠΎΠ³ΠΎ ΠΌΠ°ΡΠ»Π°, ΠΏΠ΅ΡΠΈΠΎΠ΄ΠΈΡΠ΅ΡΠΊΠ°Ρ Π·Π°ΠΌΠ΅Π½Π° ΡΠ΅Ρ Π½ΠΈΡΠ΅ΡΠΊΠΈΡ ΠΆΠΈΠ΄ΠΊΠΎΡΡΠ΅ΠΉ ΡΡΠ΅Π±ΡΠ΅ΡΡΡ ΠΈ Π² Π΄ΡΡΠ³ΠΈΡ ΡΠ·Π»Π°Ρ ΠΈ Π°Π³ΡΠ΅Π³Π°ΡΠ°Ρ (Π·Π°ΠΌΠ΅Π½Π° ΡΡΠ°Π½ΡΠΌΠΈΡΡΠΈΠΎΠ½Π½ΠΎΠ³ΠΎ ΠΌΠ°ΡΠ»Π° Π² ΠΊΠΎΡΠΎΠ±ΠΊΠ΅ ΠΏΠ΅ΡΠ΅Π΄Π°Ρ, Π² ΡΠ°Π·Π΄Π°ΡΠΎΡΠ½ΠΎΠΉ ΠΊΠΎΡΠΎΠ±ΠΊΠ΅, ΠΌΠΎΡΡΠ°Ρ , ΠΠ£Π ΠΈ Ρ.Π΄.).
Π§ΡΠΎ ΠΊΠ°ΡΠ°Π΅ΡΡΡ ΡΡΠ°Π½ΡΠΌΠΈΡΡΠΈΠΈ, ΡΠ°ΡΡΠΎ ΠΌΠΎΠΆΠ½ΠΎ ΡΡΠ»ΡΡΠ°ΡΡ, ΡΡΠΎ Π² ΡΠ»ΡΡΠ°Π΅ Ρ ΠΌΠ΅Ρ Π°Π½ΠΈΡΠ΅ΡΠΊΠΎΠΉ ΠΊΠΎΡΠΎΠ±ΠΊΠΎΠΉ Π·Π°ΠΌΠ΅Π½Π° ΠΌΠ°ΡΠ»Π° ΠΠΠ Π½Π΅ ΠΏΡΠ΅Π΄ΡΡΠΌΠΎΡΡΠ΅Π½Π° ΡΠ°ΠΌΠΈΠΌ ΠΏΡΠΎΠΈΠ·Π²ΠΎΠ΄ΠΈΡΠ΅Π»Π΅ΠΌ Π°Π²ΡΠΎΠΌΠΎΠ±ΠΈΠ»Ρ. ΠΡΡΠ³ΠΈΠΌΠΈ ΡΠ»ΠΎΠ²Π°ΠΌΠΈ, ΡΡΠ°Π½ΡΠΌΠΈΡΡΠΈΠΎΠ½Π½ΠΎΠ΅ ΠΌΠ°ΡΠ»ΠΎ Π·Π°Π»ΠΈΡΠΎ Π½Π° Π²Π΅ΡΡ ΡΡΠΎΠΊ ΡΠ»ΡΠΆΠ±Ρ Π°Π³ΡΠ΅Π³Π°ΡΠ°.
ΠΠ΄Π½Π°ΠΊΠΎ Π½Π° ΠΏΡΠ°ΠΊΡΠΈΠΊΠ΅ ΠΌΠ½ΠΎΠ³ΠΈΠ΅ Π½Π΅ΠΈΡΠΏΡΠ°Π²Π½ΠΎΡΡΠΈ ΠΈ ΡΡΠΊΠΎΡΠ΅Π½Π½ΡΠΉ ΠΈΠ·Π½ΠΎΡ ΠΊΠΎΡΠΎΠ±ΠΊΠΈ ΠΏΠ΅ΡΠ΅Π΄Π°Ρ ΡΠ²ΡΠ·Π°Π½Ρ Ρ ΡΠ΅ΠΌ, ΡΡΠΎ ΡΠΌΠ°Π·ΠΊΠ° ΡΠΎ Π²ΡΠ΅ΠΌΠ΅Π½Π΅ΠΌ ΡΠ΅ΡΡΠ΅Ρ ΡΠ²ΠΎΠΈ ΡΠ²ΠΎΠΉΡΡΠ²Π°, Π·Π°Π³ΡΡΠ·Π½ΡΠ΅ΡΡΡ ΠΏΡΠΎΠ΄ΡΠΊΡΠ°ΠΌΠΈ ΠΈΠ·Π½ΠΎΡΠ°. Π‘ΡΠ°Π½ΠΎΠ²ΠΈΡΡΡ ΠΏΠΎΠ½ΡΡΠ½ΠΎ, ΡΡΠΎ ΠΌΠ°ΡΠ»ΠΎ Π² ΠΊΠΎΡΠΎΠ±ΠΊΠ΅ Π½ΡΠΆΠ½ΠΎ ΠΌΠ΅Π½ΡΡΡ. ΠΠ°Π»Π΅Π΅ ΠΌΡ ΡΠ°ΡΡΠΌΠΎΡΡΠΈΠΌ, ΠΊΠΎΠ³Π΄Π°Β Π½Π΅ΠΎΠ±Ρ ΠΎΠ΄ΠΈΠΌΠ° Π·Π°ΠΌΠ΅Π½Π° ΠΌΠ°ΡΠ»Π° Π² ΠΊΠΎΡΠΎΠ±ΠΊΠ΅ ΠΠΠΠ, Π° ΡΠ°ΠΊΠΆΠ΅ ΠΊΠ°ΠΊ ΠΏΠΎΠΌΠ΅Π½ΡΡΡ ΡΡΠ°Π½ΡΠΌΠΈΡΡΠΈΠΎΠ½Π½ΡΡ ΠΆΠΈΠ΄ΠΊΠΎΡΡΡ.
Π§ΠΈΡΠ°ΠΉΡΠ΅ Π² ΡΡΠΎΠΉ ΡΡΠ°ΡΡΠ΅

ΠΠ°ΡΠ½Π΅ΠΌ Ρ ΡΠΎΠ³ΠΎ, ΡΡΠΎ Β«ΠΌΠ΅Ρ Π°Π½ΠΈΠΊΠ°Β» ΡΠ²Π»ΡΠ΅ΡΡΡ Π½Π°Π΄Π΅ΠΆΠ½ΡΠΌ Π°Π³ΡΠ΅Π³Π°ΡΠΎΠΌ. ΠΡΠ΅ΠΆΠ΄Π΅ Π²ΡΠ΅Π³ΠΎ, ΠΎΡΠ½ΠΎΡΠΈΡΠ΅Π»ΡΠ½Π°Ρ ΠΏΡΠΎΡΡΠΎΡΠ° ΠΈ ΠΏΡΠΎΠ²Π΅ΡΠ΅Π½Π½Π°Ρ Π²ΡΠ΅ΠΌΠ΅Π½Π΅ΠΌ ΠΊΠΎΠ½ΡΡΡΡΠΊΡΠΈΡ ΠΏΠΎΠ·Π²ΠΎΠ»ΡΠ΅Ρ ΡΠΊΡΠΏΠ»ΡΠ°ΡΠΈΡΠΎΠ²Π°ΡΡ Π°Π²ΡΠΎΠΌΠΎΠ±ΠΈΠ»Ρ Ρ Π΄Π°Π½Π½ΡΠΌ ΡΠΈΠΏΠΎΠΌ ΠΠΠ Π½Π° ΠΏΡΠΎΡΡΠΆΠ΅Π½ΠΈΠΈ, ΠΊΠ°ΠΊ ΠΌΠΈΠ½ΠΈΠΌΡΠΌ, 150-200 ΡΡΡ. ΠΊΠΈΠ»ΠΎΠΌΠ΅ΡΡΠΎΠ² Π±Π΅Π· ΡΠ΅ΠΌΠΎΠ½ΡΠ° ΠΊΠΎΡΠΎΠ±ΠΊΠΈ ΠΏΠ΅ΡΠ΅Π΄Π°Ρ.Β Β
ΠΠ΄Π½Π°ΠΊΠΎ Π½ΡΠΆΠ½ΠΎ ΠΏΠΎΠ½ΠΈΠΌΠ°ΡΡ, ΡΡΠΎ ΡΡΠΎ Π²ΠΎΠ·ΠΌΠΎΠΆΠ½ΠΎ ΡΠΎΠ»ΡΠΊΠΎ Π² ΡΠΎΠΌ ΡΠ»ΡΡΠ°Π΅, Π΅ΡΠ»ΠΈ Π°Π³ΡΠ΅Π³Π°Ρ ΡΠ²ΠΎΠ΅Π²ΡΠ΅ΠΌΠ΅Π½Π½ΠΎ ΠΎΠ±ΡΠ»ΡΠΆΠΈΠ²Π°Π΅ΡΡΡ ΠΈ Π½Π΅ ΠΈΡΠΏΡΡΡΠ²Π°Π΅Ρ ΡΠ΅ΡΡΠ΅Π·Π½ΡΡ Π½Π°Π³ΡΡΠ·ΠΎΠΊ. ΠΡΡΠ³ΠΈΠΌΠΈ ΡΠ»ΠΎΠ²Π°ΠΌΠΈ, Π²ΠΎΠ΄ΠΈΡΠ΅Π»Ρ ΠΎΠΏΡΡΠ½ΡΠΉ, ΡΠΌΠ΅Π΅Ρ Π΅Π·Π΄ΠΈΡΡ Π½Π° ΠΌΠ΅Ρ Π°Π½ΠΈΠΊΠ΅ ΠΏΡΠ°Π²ΠΈΠ»ΡΠ½ΠΎ. Π’Π°ΠΊΠΆΠ΅ ΠΎΡΠ²Π΅ΡΡΡΠ²Π΅Π½Π½ΡΠΉ Π²Π»Π°Π΄Π΅Π»Π΅Ρ ΠΏΠΎΡΡΠΎΡΠ½Π½ΠΎ ΡΠ»Π΅Π΄ΠΈΡ Π·Π° ΡΠΎΡΡΠΎΡΠ½ΠΈΠ΅ΠΌ ΡΡΠ°Π½ΡΠΌΠΈΡΡΠΈΠΎΠ½Π½ΠΎΠ³ΠΎ ΠΌΠ°ΡΠ»Π°, Π²ΠΎΠ²ΡΠ΅ΠΌΡ ΡΡΡΡΠ°Π½ΡΠ΅Ρ ΠΌΠ΅Π»ΠΊΠΈΠ΅ Π½Π΅ΠΈΡΠΏΡΠ°Π²Π½ΠΎΡΡΠΈ (ΡΠ΅ΡΠΈ ΡΠ°Π»ΡΠ½ΠΈΠΊΠΎΠ², ΠΏΡΠΎΠΊΠ»Π°Π΄ΠΎΠΊ ΠΈ ΡΠΏΠ»ΠΎΡΠ½ΠΈΡΠ΅Π»Π΅ΠΉ ΠΠΠ, Π·Π°ΠΌΠ΅Π½Π° ΡΡΠ΅ΠΏΠ»Π΅Π½ΠΈΡ ΠΏΡΠΈ ΠΌΠ°Π»Π΅ΠΉΡΠΈΡ ΠΏΡΠΈΠ·Π½Π°ΠΊΠ°Ρ ΠΈΠ·Π½ΠΎΡΠ°, ΡΠ΅Π³ΡΠ»ΠΈΡΠΎΠ²ΠΊΠ° ΠΊΡΠ»ΠΈΡΡ ΠΈ Ρ.Π΄.).
Π§ΡΠΎ ΠΊΠ°ΡΠ°Π΅ΡΡΡ ΠΎΠ±ΡΠ»ΡΠΆΠΈΠ²Π°Π½ΠΈΡ, ΠΏΡΠΈΠΌΠ΅Π½ΠΈΡΠ΅Π»ΡΠ½ΠΎ ΠΊ ΠΌΠ΅Ρ Π°Π½ΠΈΡΠ΅ΡΠΊΠΎΠΉ ΠΊΠΎΡΠΎΠ±ΠΊΠ΅ ΠΏΠ΅ΡΠ΅Π΄Π°Ρ Π΄Π°Π½Π½Π°Ρ ΠΏΡΠΎΡΠ΅Π΄ΡΡΠ° ΠΏΡΠ΅Π΄ΠΏΠΎΠ»Π°Π³Π°Π΅Ρ Π·Π°ΠΌΠ΅Π½Ρ ΡΡΠ°Π½ΡΠΌΠΈΡΡΠΈΠΎΠ½Π½ΠΎΠ³ΠΎ ΠΌΠ°ΡΠ»Π°. Π’Π°ΠΊ ΠΊΠ°ΠΊ ΠΌΠ°ΡΠ»ΠΎ Π² ΠΠΠΠ Π½Π΅ ΡΠ²Π»ΡΠ΅ΡΡΡ ΡΠ°Π±ΠΎΡΠΈΠΌ ΡΠ΅Π»ΠΎΠΌ, ΠΎΡΠ½ΠΎΠ²Π½ΠΎΠΉ ΡΠ΅Π»ΡΡ Π΅Π³ΠΎ Π·Π°ΠΌΠ΅Π½Ρ ΡΠ²Π»ΡΠ΅ΡΡΡ ΡΠΌΠ΅Π½ΡΡΠ΅Π½ΠΈΠ΅ ΠΈΠ·Π½ΠΎΡΠ° Π΄Π΅ΡΠ°Π»Π΅ΠΉ Π΄Π»Ρ ΡΠ²Π΅Π»ΠΈΡΠ΅Π½ΠΈΡ ΠΎΠ±ΡΠ΅Π³ΠΎ ΡΡΠΎΠΊΠ° ΡΠ»ΡΠΆΠ±Ρ Π°Π³ΡΠ΅Π³Π°ΡΠ°.
Π’Π°ΠΊΠΆΠ΅ ΠΏΠ°ΡΠ°Π»Π»Π΅Π»ΡΠ½ΠΎ Π·Π°ΠΌΠ΅Π½Π΅ ΡΠΌΠ°Π·ΠΎΡΠ½ΠΎΠΉ ΠΆΠΈΠ΄ΠΊΠΎΡΡΠΈ Π²ΡΠΏΠΎΠ»Π½ΡΠ΅ΡΡΡ ΠΎΡΠΈΡΡΠΊΠ° ΠΏΠΎΠ΄Π΄ΠΎΠ½Π° ΠΠΠΠ ΠΎΡ Π³ΡΡΠ·ΠΈ ΠΈ ΠΎΡΠ»ΠΎΠΆΠ΅Π½ΠΈΠΉ, ΠΎΡΠΈΡΠ°ΡΡΡΡ ΠΌΠ°Π³Π½ΠΈΡΡ, Π½Π° ΠΊΠΎΡΠΎΡΡΡ ΡΠΊΠ°ΠΏΠ»ΠΈΠ²Π°Π΅ΡΡΡ ΠΌΠ΅ΡΠ°Π»Π»ΠΈΡΠ΅ΡΠΊΠ°Ρ ΡΡΡΡΠΆΠΊΠ° Π² ΡΠ΅Π·ΡΠ»ΡΡΠ°ΡΠ΅ Π΅ΡΡΠ΅ΡΡΠ²Π΅Π½Π½ΠΎΠ³ΠΎ ΠΈΠ·Π½ΠΎΡΠ° Π΄Π΅ΡΠ°Π»Π΅ΠΉ ΠΊΠΎΡΠΎΠ±ΠΊΠΈ.
ΠΡΠΈ ΡΡΠΎΠΌ ΡΠΏΠ΅ΡΠΈΠ°Π»ΠΈΡΡΡ ΡΠ΅ΠΊΠΎΠΌΠ΅Π½Π΄ΡΡΡ Π²ΡΠΏΠΎΠ»Π½ΡΡΡ Π·Π°ΠΌΠ΅Π½Ρ ΠΊΠ°ΠΆΠ΄ΡΠ΅ 50-60 ΡΡΡ. ΠΊΠΌ ΠΈΠ»ΠΈ ΠΎΠ΄ΠΈΠ½ ΡΠ°Π· Π² 4-5 Π»Π΅Ρ (Π² Π·Π°Π²ΠΈΡΠΈΠΌΠΎΡΡΠΈ ΠΎΡ ΡΠΎΠ³ΠΎ, ΡΡΠΎ Π½Π°ΡΡΡΠΏΠΈΡ ΡΠ°Π½ΡΡΠ΅). ΠΡΠ»ΠΈ ΠΆΠ΅ Π°Π²ΡΠΎΠΌΠΎΠ±ΠΈΠ»Ρ ΡΠΊΡΠΏΠ»ΡΠ°ΡΠΈΡΡΠ΅ΡΡΡ Π² ΡΡΠΆΠ΅Π»ΡΡ ΡΡΠ»ΠΎΠ²ΠΈΡΡ (ΠΏΠΎΡΡΠΎΡΠ½Π½Π°Ρ ΠΏΠ΅ΡΠ΅Π²ΠΎΠ·ΠΊΠ° Π³ΡΡΠ·ΠΎΠ², Π±ΡΠΊΡΠΈΡΠΎΠ²ΠΊΠ° ΠΏΡΠΈΡΠ΅ΠΏΠ°, ΡΠ²Π°Π½ΡΠΉ ΡΠ΅ΠΌΠΏ Π΅Π·Π΄Ρ Ρ ΠΏΠ΅ΡΠ΅Ρ ΠΎΠ΄ΠΎΠΌ Π½Π° ΠΏΠΎΠ½ΠΈΠΆΠ΅Π½Π½ΡΠ΅ ΠΈ ΠΏΠΎΠ²ΡΡΠ΅Π½Π½ΡΠ΅ ΠΏΠ΅ΡΠ΅Π΄Π°ΡΠΈ Π½Π° Π²ΡΡΠΎΠΊΠΈΡ ΠΎΠ±ΠΎΡΠΎΡΠ°Ρ ΠΈ ΡΠΊΠΎΡΠΎΡΡΡΡ , Π΅Π·Π΄Π° Π² Π³ΠΎΡΠ½ΠΎΠΉ ΠΌΠ΅ΡΡΠ½ΠΎΡΡΠΈ ΠΈ Ρ.Π΄.), ΡΠΎΠ³Π΄Π° ΠΈΠ½ΡΠ΅ΡΠ²Π°Π» Π·Π°ΠΌΠ΅Π½Ρ Π½ΡΠΆΠ½ΠΎ ΡΠΎΠΊΡΠ°ΡΠΈΡΡ Π½Π° ΡΡΠ΅ΡΡ.Β Β
ΠΡΠ΅ Π½Π° Π½Π΅ΠΎΠ±Ρ ΠΎΠ΄ΠΈΠΌΠΎΡΡΡ Π·Π°ΠΌΠ΅Π½Ρ ΡΠΌΠ°Π·ΠΊΠΈ Π² ΠΊΠΎΡΠΎΠ±ΠΊΠ΅ ΠΌΠ΅Ρ Π°Π½ΠΈΠΊΠ° ΠΌΠΎΠ³ΡΡ ΡΠΊΠ°Π·ΡΠ²Π°ΡΡ ΠΈ ΠΎΠΏΡΠ΅Π΄Π΅Π»Π΅Π½Π½ΡΠ΅ ΠΏΡΠΈΠ·Π½Π°ΠΊΠΈ. ΠΠ°ΠΏΡΠΈΠΌΠ΅Ρ:
ΠΡΠ΅ΠΆΠ΄Π΅ Π²ΡΠ΅Π³ΠΎ, Π² ΠΏΠΎΠ΄ΠΎΠ±Π½ΠΎΠΉ ΡΠΈΡΡΠ°ΡΠΈΠΈ Π½ΡΠΆΠ½ΠΎ ΠΎΡΠΎΠ±ΠΎΠ΅ Π²Π½ΠΈΠΌΠ°Π½ΠΈΠ΅ ΡΠ΄Π΅Π»ΠΈΡΡ ΠΊΠΎΠ»ΠΈΡΠ΅ΡΡΠ²Ρ ΡΠΌΠ°Π·ΠΊΠΈ Π² ΠΠΠ, ΡΠΎ Π΅ΡΡΡ ΠΏΡΠΎΠ²Π΅ΡΠΈΡΡ ΡΡΠΎΠ²Π΅Π½Ρ ΠΌΠ°ΡΠ»Π° Π² ΠΌΠ΅Ρ Π°Π½ΠΈΡΠ΅ΡΠΊΠΎΠΉ ΠΊΠΎΡΠΎΠ±ΠΊΠ΅. ΠΠ°ΡΠ°Π»Π»Π΅Π»ΡΠ½ΠΎ ΡΠ»Π΅Π΄ΡΠ΅Ρ ΠΎΡΠ΅Π½ΠΈΡΡ ΠΊΠ°ΡΠ΅ΡΡΠ²ΠΎ ΡΠΌΠ°Π·ΠΎΡΠ½ΠΎΠ³ΠΎ ΠΌΠ°ΡΠ΅ΡΠΈΠ°Π»Π°.
Π ΠΏΡΠΎΡΠ΅ΡΡΠ΅ ΡΠΌΠ°Π·ΡΠ²Π°Π½ΠΈΡ ΡΠ΅ΡΡΠ΅ΡΠ΅Π½ΠΎΠΊ, Π²Π°Π»ΠΎΠ² ΠΈ Π΄ΡΡΠ³ΠΈΡ Π΄Π΅ΡΠ°Π»Π΅ΠΉ ΠΠΠ ΡΡΠ°Π½ΡΠΌΠΈΡΡΠΈΠΎΠ½Π½Π°Ρ ΠΆΠΈΠ΄ΠΊΠΎΡΡΡ ΡΠ°ΠΊΠΆΠ΅ Π°ΠΊΡΠΈΠ²Π½ΠΎ Π½Π°ΠΊΠ°ΠΏΠ»ΠΈΠ²Π°Π΅Ρ Π² ΡΠ΅Π±Π΅ ΠΏΡΠΎΠ΄ΡΠΊΡΡ ΠΈΠ·Π½ΠΎΡΠ° (ΠΌΠ΅ΡΠ°Π»Π»ΠΈΡΠ΅ΡΠΊΡΡ ΡΡΡΡΠΆΠΊΡ). ΠΡΠ΅ ΡΠ΅Π³ΡΠ»ΡΡΠ½ΡΠΉ Π½Π°Π³ΡΠ΅Π² ΠΈ ΠΎΡ Π»Π°ΠΆΠ΄Π΅Π½ΠΈΠ΅ ΠΌΠΎΠ³ΡΡ ΠΏΡΠΈΠ²ΠΎΠ΄ΠΈΡΡ ΠΊ ΡΠΊΠΎΠΏΠ»Π΅Π½ΠΈΡ ΠΊΠΎΠ½Π΄Π΅Π½ΡΠ°ΡΠ° Π² ΠΌΠ°ΡΠ»Π΅ ΠΈ Ρ.Π΄.
ΠΠ΅ ΡΡΡΠ΄Π½ΠΎ Π΄ΠΎΠ³Π°Π΄Π°ΡΡΡΡ, ΡΡΠΎ Π΅ΡΠ»ΠΈ Π±Π΅Π· Π΄ΡΡΠ³ΠΈΡ Π²ΠΈΠ΄ΠΈΠΌΡΡ ΠΏΡΠΈΡΠΈΠ½ ΠΊΠ°ΡΠ΅ΡΡΠ²ΠΎ ΡΠ°Π±ΠΎΡΡ ΠΠΠ ΡΡ ΡΠ΄ΡΠΈΠ»ΠΎΡΡ ΠΈ ΠΏΠΎΡΠ²ΠΈΠ»ΠΈΡΡ ΡΠΊΠ°Π·Π°Π½Π½ΡΠ΅ Π²ΡΡΠ΅ ΠΏΡΠΈΠ·Π½Π°ΠΊΠΈ, ΡΡΠΎ ΡΠΊΠ°Π·ΡΠ²Π°Π΅Ρ Π½Π° ΡΠΎ, ΡΡΠΎ ΡΡΠ½ΠΊΡΠΈΠΎΠ½Π°Π»ΡΠ½ΡΠ΅ Π²ΠΎΠ·ΠΌΠΎΠΆΠ½ΠΎΡΡΠΈ ΠΌΠ°ΡΠ»Π° Π² ΠΊΠΎΡΠΎΠ±ΠΊΠ΅ ΠΏΠ΅ΡΠ΅Π΄Π°Ρ ΡΡΡΠ΅ΡΡΠ²Π΅Π½Π½ΠΎ ΡΠ½ΠΈΠ·ΠΈΠ»ΠΈΡΡ, ΠΏΡΠΈ ΡΡΠΎΠΌ Π·Π½Π°ΡΠΈΡΠ΅Π»ΡΠ½ΠΎ ΡΠ²Π΅Π»ΠΈΡΠΈΠ»ΡΡ ΠΎΠ±ΡΠΈΠΉ ΠΈΠ·Π½ΠΎΡ Π°Π³ΡΠ΅Π³Π°ΡΠ°.
ΠΡΠ΅ Π΄ΠΎΠ±Π°Π²ΠΈΠΌ, ΡΡΠΎ ΠΌΠ½ΠΎΠ³ΠΎΠ΅ Π±ΡΠ΄Π΅Ρ Π·Π°Π²ΠΈΡΠ΅ΡΡ Π½Π΅ ΡΠΎΠ»ΡΠΊΠΎ ΠΎΡ ΡΡΠΎΠ²Π½Ρ ΠΈ Β«ΡΠ²Π΅ΠΆΠ΅ΡΡΠΈΒ» ΡΠΌΠ°Π·ΠΊΠΈ, Π½ΠΎ ΠΈ ΠΎΡ ΡΠΎΠ³ΠΎ, Π½Π°ΡΠΊΠΎΠ»ΡΠΊΠΎ ΠΏΡΠ°Π²ΠΈΠ»ΡΠ½ΠΎ ΠΏΠΎΠ΄ΠΎΠ±ΡΠ°Π½ΠΎ ΠΌΠ°ΡΠ»ΠΎ Π² ΠΠΠ. ΠΡΡΠ³ΠΈΠΌΠΈ ΡΠ»ΠΎΠ²Π°ΠΌΠΈ, ΠΈΡΠΏΠΎΠ»ΡΠ·ΠΎΠ²Π°Π½ΠΈΠ΅ Π½Π΅ΠΏΠΎΠ΄Ρ ΠΎΠ΄ΡΡΠ΅Π³ΠΎ ΠΏΠΎ Π΄ΠΎΠΏΡΡΠΊΠ°ΠΌ ΠΈ ΡΠ²ΠΎΠΉΡΡΠ²Π°ΠΌ ΡΡΠ°Π½ΡΠΌΠΈΡΡΠΈΠΎΠ½Π½ΠΎΠ³ΠΎ ΠΌΠ°ΡΠ»Π° ΠΌΠΎΠΆΠ΅Ρ Π±ΡΡΡΡΠΎ Π²ΡΠ²Π΅ΡΡΠΈ ΠΏΠΎΠ»Π½ΠΎΡΡΡΡ ΠΈΡΠΏΡΠ°Π²Π½ΡΠΉ Π°Π³ΡΠ΅Π³Π°Ρ ΠΈΠ· ΡΡΡΠΎΡ.
Π‘ΡΠ°Π·Ρ ΠΎΡΠΌΠ΅ΡΠΈΠΌ, ΠΎΠΏΡΠΈΠΌΠ°Π»ΡΠ½ΠΎ ΠΌΠ΅Π½ΡΡΡ ΡΠΌΠ°Π·ΠΊΡ Π² ΡΠ΅ΠΏΠ»ΡΠΉ ΠΏΠ΅ΡΠΈΠΎΠ΄ Π²ΡΠ΅ΠΌΠ΅Π½ΠΈ (Π΄ΠΎ Π½Π°ΡΡΡΠΏΠ»Π΅Π½ΠΈΡ Ρ ΠΎΠ»ΠΎΠ΄ΠΎΠ²). Π‘ ΠΎΠ΄Π½ΠΎΠΉ ΡΡΠΎΡΠΎΠ½Ρ, ΡΡΠΎ ΠΏΠΎΠ·Π²ΠΎΠ»ΠΈΡ Π»ΡΡΡΠ΅ ΠΈ Π±ΡΡΡΡΠ΅Π΅ ΠΏΡΠΎΠ³ΡΠ΅ΡΡ ΠΊΠΎΡΠΎΠ±ΠΊΡ ΠΏΠ΅ΡΠ΅Π΄Π°Ρ, Π° Ρ Π΄ΡΡΠ³ΠΎΠΉ ΠΏΠΎΡΠ»Π΅ ΠΏΠΎΠ½ΠΈΠΆΠ΅Π½ΠΈΡ Π½Π°ΡΡΠΆΠ½ΠΎΠΉ ΡΠ΅ΠΌΠΏΠ΅ΡΠ°ΡΡΡΡ Π°Π³ΡΠ΅Π³Π°Ρ ΡΠΆΠ΅ Π±ΡΠ΄Π΅Ρ ΡΠ°Π±ΠΎΡΠ°ΡΡ Π½Π° ΡΠ²Π΅ΠΆΠ΅ΠΌ ΠΌΠ°ΡΠ»Π΅ ΠΈ ΠΌΠ΅Π½ΡΡΠ΅ ΠΈΠ·Π½Π°ΡΠΈΠ²Π°ΡΡΡΡ.Β
ΠΡΠ»ΠΈ Π°Π²ΡΠΎ ΡΠΊΡΠΏΠ»ΡΠ°ΡΠΈΡΡΠ΅ΡΡΡ Π² ΠΆΠ°ΡΠΊΠΎΠΌ ΠΊΠ»ΠΈΠΌΠ°ΡΠ΅ ΠΈΠ»ΠΈ ΠΆΠ΅ Π² ΡΠ΅Π³ΠΈΠΎΠ½Π°Ρ Ρ ΡΡΡΠΎΠ²ΡΠΌΠΈ Π·ΠΈΠΌΠ°ΠΌΠΈ, ΠΎΡΠ΄Π΅Π»ΡΠ½ΠΎ Π½Π΅ΠΎΠ±Ρ ΠΎΠ΄ΠΈΠΌΠΎ Π΄Π΅Π»Π°ΡΡ ΠΏΠΎΠΏΡΠ°Π²ΠΊΡ Π½Π° ΡΠ°ΠΊΠΈΠ΅ ΡΡΠ»ΠΎΠ²ΠΈΡ. ΠΠ΅Π»ΠΎ Π² ΡΠΎΠΌ, ΡΡΠΎ ΠΌΠ°Π»ΠΎΠ²ΡΠ·ΠΊΠΈΠ΅ ΠΌΠ°ΡΠ»Π° Ρ ΠΎΡΠΎΡΠΎ ΠΏΠΎΠ΄Ρ ΠΎΠ΄ΡΡ Π΄Π»Ρ Π·ΠΈΠΌΡ, ΠΎΠ΄Π½Π°ΠΊΠΎ Π»Π΅ΡΠΎΠΌ ΠΌΠΎΠ³ΡΡ ΡΠΈΠ»ΡΠ½ΠΎ ΡΠ°Π·ΠΆΠΈΠΆΠ°ΡΡΡΡ, Π½Π΅ ΠΎΠ±Π΅ΡΠΏΠ΅ΡΠΈΠ²Π°Ρ Π΄ΠΎΠ»ΠΆΠ½ΠΎΠΉ Π·Π°ΡΠΈΡΡ. Π’ΠΎ ΠΆΠ΅ ΡΠ°ΠΌΠΎΠ΅ ΠΏΡΠΎΠΈΡΡ ΠΎΠ΄ΠΈΡ ΠΈ Ρ Π³ΡΡΡΡΠΌΠΈ ΡΠΌΠ°Π·ΠΊΠ°ΠΌΠΈ, ΠΊΠΎΡΠΎΡΡΠ΅ Ρ ΠΎΡΠΎΡΠΈ Π΄Π»Ρ Π»Π΅ΡΠ½Π΅Π³ΠΎ ΠΏΠ΅ΡΠΈΠΎΠ΄Π°, ΠΎΠ΄Π½Π°ΠΊΠΎ ΠΎΡΠΌΠ΅ΡΠ°Π΅ΡΡΡ Π·Π°ΠΌΠ΅ΡΠ½Π°Ρ ΠΏΠΎΡΠ΅ΡΡ ΡΠ΅ΠΊΡΡΠ΅ΡΡΠΈ ΠΏΠΎΡΠ»Π΅ ΡΠ½ΠΈΠΆΠ΅Π½ΠΈΡ Π½Π°ΡΡΠΆΠ½ΠΎΠΉ ΡΠ΅ΠΌΠΏΠ΅ΡΠ°ΡΡΡΡ.
ΠΠΎΠ±Π°Π²ΠΈΠΌ, ΡΡΠΎ Π½Π΅ΠΊΠΎΡΠΎΡΡΠ΅ ΠΊΠΎΡΠΎΠ±ΠΊΠΈ Π½Π° ΡΠ°Π·Π½ΡΡ ΠΌΠΎΠ΄Π΅Π»ΡΡ ΡΡΠΈΡΠ°ΡΡΡΡ Π½Π΅ΠΎΠ±ΡΠ»ΡΠΆΠΈΠ²Π°Π΅ΠΌΡΠΌΠΈ. ΠΠΎ ΡΡΠΎΠΉ ΠΏΡΠΈΡΠΈΠ½Π΅ ΠΌΠΎΠΆΠ΅Ρ ΠΎΡΡΡΡΡΡΠ²ΠΎΠ²Π°ΡΡ ΡΠ»ΠΈΠ²Π½ΠΎΠ΅ ΠΎΡΠ²Π΅ΡΡΡΠΈΠ΅. Π ΡΡΠΎΠΌ ΡΠ»ΡΡΠ°Π΅ ΡΡΠ΅Π±ΡΠ΅ΡΡΡ ΡΠ½ΠΈΠΌΠ°ΡΡ ΠΏΠΎΠ΄Π΄ΠΎΠ½ ΠΊΠΎΡΠΎΠ±ΠΊΠΈ ΠΏΠ΅ΡΠ΅Π΄Π°Ρ, ΡΡΠΎΠ±Ρ ΠΏΠΎΠ»Π½ΠΎΡΡΡΡ ΡΠ»ΠΈΡΡ ΡΡΠ°ΡΡΡ ΠΆΠΈΠ΄ΠΊΠΎΡΡΡ.
ΠΡΠΈ ΡΠ½ΡΡΠΈΠΈ ΠΏΠΎΠ΄Π΄ΠΎΠ½Π° Π½ΡΠΆΠ½ΠΎ Π±ΡΡΡ Π³ΠΎΡΠΎΠ²ΡΠΌ ΠΊ ΡΠΎΠΌΡ, ΡΡΠΎ ΡΠΏΠ»ΠΎΡΠ½ΠΈΡΠ΅Π»ΡΠ½ΡΡ ΠΏΡΠΎΠΊΠ»Π°Π΄ΠΊΡ ΠΏΠΎΠ΄Π΄ΠΎΠ½Π° ΠΠΠ ΡΠ°ΠΊΠΆΠ΅ ΠΏΠΎΡΡΠ΅Π±ΡΠ΅ΡΡΡ Π·Π°ΠΌΠ΅Π½ΠΈΡΡ. ΠΡΠ΅ ΠΎΡΠΌΠ΅ΡΠΈΠΌ, ΡΡΠΎ Π² Π½Π΅ΠΊΠΎΡΠΎΡΡΡ ΡΠ»ΡΡΠ°ΡΡ ΠΏΠΎΡΠ»Π΅ ΡΠ½ΡΡΠΈΡ ΠΏΠΎΠ΄Π΄ΠΎΠ½Π°, Π΅Π³ΠΎ ΠΎΡΠΈΡΡΠΊΠΈ ΠΈ ΠΎΠ±ΡΠ°ΡΠ½ΠΎΠΉ ΡΡΡΠ°Π½ΠΎΠ²ΠΊΠΈ ΠΌΠ°ΡΠ»ΠΎ Π·Π°Π»ΠΈΠ²Π°Π΅ΡΡΡ Π² Π°Π³ΡΠ΅Π³Π°Ρ ΡΠ΅ΡΠ΅Π· ΡΠ°ΠΏΡΠ½ ΠΊΠΎΡΠΎΠ±ΠΊΠΈ ΠΏΠ΅ΡΠ΅Π΄Π°Ρ, ΠΊΠΎΡΠΎΡΡΠΉ Π΄Π»Ρ ΡΡΠΎΠΉ ΡΠ΅Π»ΠΈ ΠΏΡΠ΅Π΄Π²Π°ΡΠΈΡΠ΅Π»ΡΠ½ΠΎ Π²ΡΠΊΡΡΡΠΈΠ²Π°Π΅ΡΡΡ.
Π£ΡΠΎΠ²Π΅Π½Ρ ΠΌΠ°ΡΠ»Π° ΠΏΡΠΈ Π·Π°Π»ΠΈΠ²ΠΊΠ΅ ΡΠ΅ΡΠ΅Π· ΡΠ°ΠΏΡΠ½ ΠΏΡΠΎΠ²Π΅ΡΡΠ΅ΡΡΡ ΠΏΠΎ ΡΠ°ΠΊ Π½Π°Π·ΡΠ²Π°Π΅ΠΌΠΎΠΌΡ ΠΊΠΎΠ½ΡΡΠΎΠ»ΡΠ½ΠΎΠΌΡ ΠΎΡΠ²Π΅ΡΡΡΠΈΡ. ΠΠ°ΠΊ ΡΠΎΠ»ΡΠΊΠΎ ΠΏΠΎ ΡΡΠΎΠ²Π½Ρ ΠΆΠΈΠ΄ΠΊΠΎΡΡΡ ΠΏΠΎΠ΄Π½ΠΈΠΌΠ°Π΅ΡΡΡ ΠΊ Π½ΠΈΠΆΠ½Π΅ΠΉ ΠΊΡΠΎΠΌΠΊΠ΅, ΡΡΠΎ Π·Π½Π°ΡΠΈΡ, ΡΡΠΎ ΠΌΠ°ΡΠ»ΠΎ Π·Π°Π»ΠΈΡΠΎ Π² Π΄ΠΎΡΡΠ°ΡΠΎΡΠ½ΠΎΠΌ ΠΎΠ±ΡΠ΅ΠΌΠ΅ ΠΈ ΠΏΡΠΎΠ±ΠΊΡ ΠΊΠΎΠ½ΡΡΠΎΠ»ΡΠ½ΠΎΠ³ΠΎ ΠΎΡΠ²Π΅ΡΡΡΠΈΡ ΠΌΠΎΠΆΠ½ΠΎ Π·Π°ΠΊΡΡΡΠΈΡΡ.
Π’Π°ΠΊΠΆΠ΅ ΠΎΡΠΌΠ΅ΡΠΈΠΌ, ΡΡΠΎ Π½Π΅ΠΊΠΎΡΠΎΡΡΠ΅ Π°Π²ΡΠΎΠ²Π»Π°Π΄Π΅Π»ΡΡΡ ΠΏΠ΅ΡΠ΅Π΄ Π·Π°ΠΌΠ΅Π½ΠΎΠΉ ΠΌΠ°ΡΠ»Π° Π² ΠΠΠ ΠΏΡΠΎΠ²ΠΎΠ΄ΡΡ ΠΏΡΠ΅Π΄Π²Π°ΡΠΈΡΠ΅Π»ΡΠ½ΡΡ ΠΏΡΠΎΠΌΡΠ²ΠΊΡ ΠΊΠΎΡΠΎΠ±ΠΊΠΈ ΠΏΠ΅ΡΠ΅Π΄Π°Ρ ΠΏΡΠΈ ΠΏΠΎΠΌΠΎΡΠΈ ΡΠΏΠ΅ΡΠΈΠ°Π»ΡΠ½ΡΡ ΠΏΡΠΎΠΌΡΠ²ΠΎΡΠ½ΡΡ ΡΠΎΡΡΠ°Π²ΠΎΠ² ΠΈ ΠΎΡΠΈΡΠ°ΡΡΠΈΡ Π΄ΠΎΠ±Π°Π²ΠΎΠΊ. ΠΠ°ΠΊ ΠΏΠΎΠΊΠ°Π·ΡΠ²Π°Π΅Ρ ΠΏΡΠ°ΠΊΡΠΈΠΊΠ°, Π΄Π»Ρ ΠΌΠ΅Ρ Π°Π½ΠΈΠΊΠΈ ΡΠ°ΠΊΠ°Ρ ΠΏΡΠΎΡΠ΅Π΄ΡΡΠ° Π·Π°ΡΠ°ΡΡΡΡ Π½Π΅ ΡΡΠ΅Π±ΡΠ΅ΡΡΡ. ΠΡΠ»ΠΈ ΠΊΠΎΡΠΎΠ±ΠΊΠ° Π½Π΅ ΠΈΠΌΠ΅Π΅Ρ ΡΠΈΠ»ΡΠ½ΠΎΠ³ΠΎ ΠΈΠ·Π½ΠΎΡΠ°, ΡΠΎΡΡΠΎΡΠ½ΠΈΠ΅ ΡΠ»ΠΈΠ²Π°Π΅ΠΌΠΎΠΉ ΠΎΡΡΠ°Π±ΠΎΡΠΊΠΈ ΡΠ΄ΠΎΠ²Π»Π΅ΡΠ²ΠΎΡΠΈΡΠ΅Π»ΡΠ½ΠΎΠ΅, ΡΠΎΠ³Π΄Π° ΠΎΡ Π΄ΠΎΠΏΠΎΠ»Π½ΠΈΡΠ΅Π»ΡΠ½ΠΎΠΉ ΠΎΡΠΈΡΡΠΊΠΈ Π²ΠΏΠΎΠ»Π½Π΅ ΠΌΠΎΠΆΠ½ΠΎ ΠΎΡΠΊΠ°Π·Π°ΡΡΡΡ.
ΠΠ° ΠΌΠ°ΡΠΈΠ½Π°Ρ Ρ ΠΌΠ΅Ρ Π°Π½ΠΈΡΠ΅ΡΠΊΠΎΠΉ ΠΊΠΎΡΠΎΠ±ΠΊΠΎΠΉ ΠΏΡΠΎΡΠ΅Π΄ΡΡΡ Π·Π°ΠΌΠ΅Π½Ρ Π½ΡΠΆΠ½ΠΎ ΠΏΡΠΎΠΈΠ·Π²ΠΎΠ΄ΠΈΡΡ Π½Π΅ ΡΠ°ΠΊ ΡΠ°ΡΡΠΎ ΠΏΠΎ ΡΡΠ°Π²Π½Π΅Π½ΠΈΡ Ρ Π΄ΡΡΠ³ΠΈΠΌΠΈ ΡΠΈΠΏΠ°ΠΌΠΈ ΡΡΠ°Π½ΡΠΌΠΈΡΡΠΈΠΉ, ΡΠ°ΠΊ ΠΊΠ°ΠΊ ΠΠΠΠ Π½Π°ΠΈΠΌΠ΅Π½Π΅Π΅ ΡΡΠ²ΡΡΠ²ΠΈΡΠ΅Π»ΡΠ½Π° ΠΊ ΠΊΠ°ΡΠ΅ΡΡΠ²Ρ ΠΈ ΡΠΎΡΡΠΎΡΠ½ΠΈΡ ΡΠΌΠ°Π·ΠΊΠΈ. ΠΠ΄Π½Π°ΠΊΠΎ ΠΏΡΠΎΠ²Π΅ΡΡΡΡ ΡΡΠΎΠ²Π΅Π½Ρ ΠΌΠ°ΡΠ»Π° Π²ΡΠ΅ ΠΆΠ΅ ΠΎΠΏΡΠΈΠΌΠ°Π»ΡΠ½ΠΎ Π½Π° ΠΊΠ°ΠΆΠ΄ΠΎΠΌ ΠΏΠ»Π°Π½ΠΎΠ²ΠΎΠΌ Π’Π (10 ΡΡΡ. ΠΊΠΌ.).
Π’Π°ΠΊΠΆΠ΅ Π½Π° ΡΠ΅ΡΡΡΡ ΠΊΠΎΡΠΎΠ±ΠΊΠΈ ΠΈ ΡΠΎΡΡΠΎΡΠ½ΠΈΠ΅ ΠΌΠ°ΡΠ»Π° ΡΠΈΠ»ΡΠ½ΠΎ Π²Π»ΠΈΡΡΡ ΠΎΡΠΎΠ±Π΅Π½Π½ΠΎΡΡΠΈ ΡΠΏΡΠ°Π²Π»Π΅Π½ΠΈΠ΅ ΠΠΠ. ΠΠΎΠ΄ΠΈΡΠ΅Π»Ρ Π΄ΠΎΠ»ΠΆΠ΅Π½ ΡΠΌΠ΅ΡΡ ΠΏΡΠ°Π²ΠΈΠ»ΡΠ½ΠΎ ΠΏΠΎΠ΄Π±ΠΈΡΠ°ΡΡ ΠΏΠ΅ΡΠ΅Π΄Π°ΡΡ, Π²ΠΊΠ»ΡΡΠ°ΡΡ ΠΏΠ΅ΡΠ΅Π΄Π°ΡΠΈ Π±Π΅Π· ΡΡΠΈΠ»ΠΈΡ, ΠΈΠ·Π±Π΅Π³Π°ΡΡ ΠΏΡΠΎΠ±ΡΠΊΡΠΎΠ²ΠΎΠΊ, ΠΏΠ»Π°Π²Π½ΠΎ ΠΎΡΠΏΡΡΠΊΠ°ΡΡ ΡΡΠ΅ΠΏΠ»Π΅Π½ΠΈΠ΅, ΠΈΠ·Π±Π΅Π³Π°Ρ ΡΠ΄Π°ΡΠ½ΡΡ Π½Π°Π³ΡΡΠ·ΠΎΠΊ Π½Π° ΡΡΠ°Π½ΡΠΌΠΈΡΡΠΈΡ ΠΈ Ρ.Π΄.
Π§ΠΈΡΠ°ΠΉΡΠ΅ ΡΠ°ΠΊΠΆΠ΅
krutimotor.ru
ΠΠ»Ρ Π½Π°ΡΠ°Π»Π° ΡΠ°Π·Π±Π΅ΡΠ΅ΠΌΡΡ ΠΊΠ°ΠΊΠΎΠ΅ ΠΌΠ°ΡΠ»ΠΎ Π»ΠΈΡΡ Π² ΠΊΠΎΡΠΎΠ±ΠΊΡ Π Π΅Π½ΠΎ ΠΠ΅Π³Π°Π½ 2
Renault ΡΠ΅ΠΊΠΎΠΌΠ΅Π½Π΄ΡΠ΅Ρ ΠΈΡΠΏΠΎΠ»ΡΠ·ΠΎΠ²Π°ΡΡ ΡΠΌΠ°Π·ΠΎΡΠ½ΡΠ΅ ΠΌΠ°ΡΠ΅ΡΠΈΠ°Π»Ρ ELF Π² ΡΠ²ΠΎΠΈΡ Π°Π²ΡΠΎΠΌΠΎΠ±ΠΈΠ»ΡΡ .
ΠΠΎΠ΄ΠΎΠ±ΡΠ°ΡΡ ΠΌΠ°ΡΠ»ΠΎ Π² Π΄Π²ΠΈΠ³Π°ΡΠ΅Π»Ρ ΠΈΠ»ΠΈ ΠΊΠΎΡΠΎΠ±ΠΊΡ ΠΌΠΎΠΆΠ½ΠΎ Π½Π° ΠΎΡΠΈΡΠΈΠ°Π»ΡΠ½ΠΎΠΌ ΡΠ°ΠΉΡΠ΅ —Β Π·Π΄Π΅ΡΡ.
ΠΠ»Ρ Renault Megane 2:
Π ΠΠΠΠ —Β TRANSELF NFJ 75W-80
Π ΠΠΠΠ —Β RENAULTMATIC D3 SYN ΠΈΠ»ΠΈΒ ELFMATIC G3
ΠΡΠΎΠΊΠ»Π°Π΄ΠΊΠ° Π΄Π»Ρ ΡΠ»ΠΈΠ²Π½ΠΎΠΉ ΠΏΡΠΎΠ±ΠΊΠΈ Π½Π° ΠΠΠ —Β 7703 062 062 (ΠΎΡΠΈΠ³ΠΈΠ½Π°Π»ΡΠ½Π°Ρ Π·Π°ΠΏΡΠ°ΡΡΡ Renault)
ΠΠΎΠ»Π΅Π·Π½ΡΠ΅ ΠΌΠ°ΡΠ΅ΡΠΈΠ°Π»Ρ ΠΏΠΎ ΡΠ΅ΠΌΠ΅:
Π’Π΅Ρ Π½ΠΈΡΠ΅ΡΠΊΠΈΠ΅ Π½ΠΎΡΡ Renault Megane
Π ΡΠΊΠΎΠ²ΠΎΠ΄ΡΡΠ²ΠΎ ΠΏΠΎ ΡΠ΅ΠΌΠΎΠ½ΡΡ ΠΈ ΡΠΊΡΠΏΠ»ΡΠ°ΡΠ°ΡΠΈΠΈ
ΠΠ΄Π΅ ΠΊΡΠΏΠΈΡΡ ΠΌΠ°ΡΠ»ΠΎ ΡΠΎ ΡΠΊΠΈΠ΄ΠΊΠΎΠΉ Π΄Π»Ρ Renault-Drive.ru
Π‘ΠΊΠΎΠ»ΡΠΊΠΎ ΠΌΠ°ΡΠ»Π° Π² ΠΊΠΎΡΠΎΠ±ΠΊΠ΅:
| Π ΠΠΠΠ (Π΄Π²ΠΈΠ³Π°ΡΠ΅Π»Ρ 1.6 —Β 2.8 Π»ΠΈΡΡΠ° ΠΌΠ°ΡΠ»Π° Π΄ΠΈΠ·Π΅Π»Ρ 1.5 — 2.5 Π»ΠΈΡΡΠ°) | Β Π ΠΠΠΠ (6 Π»ΠΈΡΡΠΎΠ² ΠΌΠ°ΡΠ»Π°) Β |
ΠΠΎΠ»Π½ΠΎΡΡΡΡ ΡΠ°ΠΊΠΎΠ΅ ΠΊΠΎΠ»ΠΈΡΠ΅ΡΡΠ²ΠΎ ΡΠ»ΠΈΡΡ Π½Π΅ ΠΏΠΎΠ»ΡΡΠΈΡΡΡ
ΠΠ΅Π½ΡΡΡ ΠΈΠ»ΠΈ Π½Π΅ ΠΌΠ΅Π½ΡΡΡ ΠΌΠ°ΡΠ»ΠΎ Π² ΠΊΠΎΡΠΎΠ±ΠΊΠ΅?
Π‘ΠΎΠ³Π»Π°ΡΠ½ΠΎ ΠΈΠ½ΡΠΎΡΠΌΠ°ΡΠΈΠΈ Renault, ΠΊΠ°ΠΊ ΠΈ ΠΌΠ½ΠΎΠ³ΠΈΡ Π΄ΡΡΠ³ΠΈΡ Π°Π²ΡΠΎΠΏΡΠΎΠΈΠ·Π²ΠΎΠ΄ΠΈΡΠ΅Π»Π΅ΠΉ — ΠΌΠ°ΡΠ»ΠΎ Π² ΠΊΠΎΡΠΎΠ±ΠΊΠ΅ Π·Π°Π»ΠΈΠ²Π°Π΅ΡΡΡ Π½Π° Π²Π΅ΡΡ ΡΡΠΎΠΊ ΡΠ»ΡΠΆΠ±Ρ ΠΠΠ.
ΠΠ΄Π½Π°ΠΊΠΎ ΠΌΠ½ΠΎΠ³ΠΈΠ΅ Π²Π»Π°Π΄Π΅Π»ΡΡΡ ΠΌΠ΅Π½ΡΡΡ ΠΌΠ°ΡΠ»ΠΎ Π² ΠΊΠΎΡΠΎΠ±ΠΊΠ΅ Ρ ΡΠΎΠΉ ΠΈΠ»ΠΈ ΠΈΠ½ΠΎΠΉ ΠΏΠ΅ΡΠΈΠΎΠ΄ΠΈΡΠ½ΠΎΡΡΡΡ.Β
ΠΠΏΠΈΡΠ°Π½ΠΈΠ΅ ΠΏΡΠΎΠ²Π΅ΡΠΊΠΈ ΡΡΠΎΠ²Π½Ρ ΠΌΠ°ΡΠ»Π° Π½Π° ΠΠΠΠΒ ΡΠΌΠΎΡΡΠΈΡΠ΅ Π² ΡΠ΅Ρ Π½ΠΈΡΠ΅ΡΠΊΠΎΠΉ Π½ΠΎΡΠ΅
ΠΠΏΠΈΡΠ°Π½ΠΈΠ΅ Π·Π°ΠΌΠ΅Π½Ρ ΠΌΠ°ΡΠ»Π° Π² ΠΠΠΠΒ ΠΈ ΠΏΡΠΎΠ²Π΅ΡΠΊΠ° ΡΡΠΎΠ²Π½Ρ ΠΌΠ°ΡΠ»Π°Β
Π½Π° ΠΏΡΠΈΠΌΠ΅ΡΠ΅ ΠΠ΅Π³Π°Π½ 2 Π΄Π²ΠΈΠ³Π°ΡΠ΅Π»Ρ 1.5 Π΄ΠΈΠ·Π΅Π»Ρ
ΠΠΎΡΡΠ΅Π±ΡΠ΅ΡΡΡ:
— ΠΏΠΎΠ΄ΡΠ΅ΠΌΠ½ΠΈΠΊ/ΡΠΌΠ°
— ΠΊΠ²Π°Π΄ΡΠ°ΡΠ½ΡΠΉ ΠΊΠ»ΡΡ Π½Π° 8
— ΠΊΠ°ΠΊ ΠΌΡ ΡΠΆΠ΅ Π²ΡΡΡΠ½ΠΈΠ»ΠΈ, Π² Π΄Π°Π½Π½ΡΠΉ Π΄Π²ΠΈΠ³Π°ΡΠ΅Π»Ρ Π·Π°Π»ΠΈΠ²Π°Π΅ΡΡΡ ΠΌΠ°ΡΠ»ΠΎΒ TRANSELF NFJ 75W-80, ΡΠΎΠΎΡΠ²Π΅ΡΡΡΠ²Π΅Π½Π½ΠΎ 3 Π»ΠΈΡΡΠ° ΠΌΠ°ΡΠ»Π°
— ΡΠΏΡΠΈΡ ΠΈΠ»ΠΈ Π΄Π»ΠΈΠ½Π½ΡΡ Π³ΠΈΠ±ΠΊΡΡ ΡΡΡΠ±ΠΊΡ Ρ Π²ΠΎΡΠΎΠ½ΠΊΠΎΠΉ
— ΠΌΠ΅Π΄Π½ΡΡ ΠΏΡΠΎΠΊΠ»Π°Π΄ΠΊΡ ΡΠ»ΠΈΠ²Π½ΠΎΠΉ ΠΏΡΠΎΠ±ΠΊΠΈ (ΠΊΠΎΠ΄Β 7703062062)
—Β ΡΠΌΠΊΠΎΡΡΡ Π΄Π»Ρ ΠΎΡΡΠ°Π±ΠΎΡΠ°Π½Π½ΠΎΠ³ΠΎ ΠΌΠ°ΡΠ»Π°Β ΠΎΠ±ΡΡΠΌΠΎΠΌ Π½Π΅ ΠΌΠ΅Π½Π΅Π΅ 2Π»
ΠΠΎΡΡΠ΄ΠΎΠΊ Π΄Π΅ΠΉΡΡΠ²ΠΈΠΉ:
ΠΠ°Π΅Π·ΠΆΠ°Π΅ΠΌ Π½Π° ΡΡΡΠ°ΠΊΠ°Π΄Ρ, ΠΏΠΎΠ²Π΅ΡΡ Π½ΠΎΡΡΡ Π΄ΠΎΠ»ΠΆΠ½Π° Π±ΡΡΡ ΡΠΎΠ²Π½Π°Ρ,Β ΡΡΠ°Π²ΠΈΠΌ Π½Π° ΡΡΡΠ½ΠΈΠΊ, ΠΏΠΎΠ΄ΡΡΠ°Π²Π»ΡΠ΅ΠΌ ΠΏΡΠΎΡΠΈΠ²ΠΎΠΏΠΎΠ΄ΠΊΠ°ΡΠ½ΡΠ΅ ΡΠΏΠΎΡΡ ΠΏΠΎΠ΄ Π·Π°Π΄Π½Π΅Π΅ ΠΏΡΠ°Π²ΠΎΠ΅ ΠΊΠΎΠ»Π΅ΡΠΎ.Β
ΠΠΎΠ΄Π½ΠΈΠΌΠ°Π΅ΠΌ ΠΌΠ°ΡΠΈΠ½Ρ Π½Π° Π΄ΠΎΠΌΠΊΡΠ°Ρ, ΡΠ½ΠΈΠΌΠ°Π΅ΠΌ ΠΠΠΠΠ ΠΏΠ΅ΡΠ΅Π΄Π½Π΅Π΅ ΠΊΠΎΠ»Π΅ΡΠΎ.Β
Π‘ΠΌΠΎΡΡΠΈΠΌ Π½Π° ΠΊΠΎΡΠΎΠ±ΠΊΡ ΡΠΎ ΡΡΠΎΡΠΎΠ½Ρ ΠΊΠΎΠ»ΡΡΠ½ΠΎΠΉ Π°ΡΠΊΠΈ ΠΈ Π²ΠΈΠ΄ΠΈΠΌ ΠΏΠ»Π°ΡΡΠΈΠΊΠΎΠ²ΡΡ ΠΏΡΠΎΠ±ΠΊΡ. ΠΡΠΊΡΡΡΠΈΠ²Π°Π΅ΠΌ Π΅Ρ (Π²ΠΎΠ·ΠΌΠΎΠΆΠ½ΠΎ ΠΏΠ»ΠΎΡΠΊΠΎΠ³ΡΠ±ΡΠ°ΠΌΠΈ).
ΠΠ° ΡΠ°Π·Π½ΡΡ ΠΌΠΎΠ΄Π΅Π»ΡΡ ΠΌΠ΅ΡΡΠΎ ΡΠ°ΡΠΏΠΎΠ»ΠΎΠΆΠ΅Π½ΠΈΡ ΡΠ»ΠΈΠ²Π½ΡΡ /Π·Π°Π»ΠΈΠ²Π½ΡΡ ΠΏΡΠΎΠ±ΠΎΠΊ ΠΌΠΎΠΆΠ΅Ρ ΠΎΡΠ»ΠΈΡΠ°ΡΡΡΡ.

ΠΠ°Π»ΡΡΠ΅ΠΌ ΠΏΡΠΎΠ²Π΅ΡΡΠ΅ΠΌ ΡΡΠΎΠ²Π΅Π½Ρ ΡΡΠ°ΡΠΎΠ³ΠΎ ΠΌΠ°ΡΠ»Π° Π² ΠΊΠΎΡΠΎΠ±ΠΊΠ΅. ΠΡΠ»ΠΈ Π΄ΠΎ ΠΆΠΈΠ΄ΠΊΠΎΡΡΠΈ Π½Π΅ Π΄ΠΎΡΡΠ°ΡΡ, Π·Π½Π°ΡΠΈΡ ΡΡΠΎΠΈΡ Π²ΡΡΡΠ½ΠΈΡΡ, ΠΊΡΠ΄Π° ΡΡ ΠΎΠ΄ΠΈΡ ΡΡΠ°Π½ΡΠΌΠΈΡΡΠΈΠΎΠ½Π½ΠΎΠ΅ ΠΌΠ°ΡΠ»ΠΎ.
Π‘ΠΏΡΡΠΊΠ°Π΅ΠΌΡΡ ΠΏΠΎΠ΄ ΠΌΠ°ΡΠΈΠ½Ρ.Β
Π‘Π½ΠΈΠΌΠ°Π΅ΠΌ ΠΏΡΠ»ΡΠ½ΠΈΠΊ ΠΈΠ»ΠΈ Π·Π°ΡΠΈΡΡ Π΄Π²ΠΈΠ³Π°ΡΠ΅Π»Ρ.Β
ΠΠ²Π°Π΄ΡΠ°ΡΠΎΠΌ Π½Π° «8» ΠΎΡΠΊΡΡΡΠΈΠ²Π°Π΅ΠΌ ΡΠ»ΠΈΠ²Π½ΡΡ ΠΏΡΠΎΠ±ΠΊΡ Π² Π½ΠΈΠΆΠ½Π΅ΠΉ ΡΠ°ΡΡΠΈ ΠΠΠ ΠΈ ΡΠ»ΠΈΠ²Π°Π΅ΠΌ ΡΡΠ°ΡΠΎΠ΅ ΡΡΡΠ½ΠΎΠ΅ ΠΌΠ°ΡΠ»ΠΎ Π² Π·Π°ΡΠ°Π½Π΅Π΅ ΠΏΡΠΈΠ³ΠΎΡΠΎΠ²Π»Π΅Π½Π½ΡΡ ΡΠΌΠΊΠΎΡΡΡ. ΠΠΎΠΏΠΎΠ»Π½ΠΈΡΠ΅Π»ΡΠ½ΠΎ ΠΌΠΎΠΆΠ½ΠΎ ΠΏΠΎΠΊΡΡΡΠΈΡΡ ΠΏΡΠΈΠ²ΠΎΠ΄ ΠΊΠΎΠ»Π΅ΡΠ°.Β
Π Π°ΡΠΏΠΎΠ»ΠΎΠΆΠ΅Π½ΠΈΠ΅ ΡΠ»ΠΈΠ²Π½ΡΡ ΠΏΡΠΎΠ±ΠΎΠΊ. ΠΠ΅Π»ΡΡΠΌ ΠΌΠ°ΡΠΊΠ΅ΡΠΎΠΌ — ΠΏΡΠΎΠ±ΠΊΠ° Π΄Π²ΠΈΠ³Π°ΡΠ΅Π»Ρ. ΠΡΠ°ΡΠ½ΡΠΌ — ΠΏΡΠΎΠ±ΠΊΠ° ΠΊΠ°ΡΡΠ΅ΡΠ° ΠΊΠΎΡΠΎΠ±ΠΊΠΈ.


ΠΠΎΡΠ»Π΅ ΠΏΠΎΠ»Π½ΠΎΠ³ΠΎ ΡΠ»ΠΈΠ²Π° ΡΡΠ°ΡΠΎΠ³ΠΎ ΠΌΠ°ΡΠ»Π°, Π·Π°ΠΌΠ΅Π½ΡΠ΅ΠΌ Π½Π° ΡΠ»ΠΈΠ²Π½ΠΎΠΉ ΠΏΡΠΎΠ±ΠΊΠ΅ ΠΌΠ΅Π΄Π½ΡΡ ΠΏΡΠΎΠΊΠ»Π°Π΄ΠΊΡ ΠΈ Π·Π°ΠΊΡΡΡΠΈΠ²Π°Π΅ΠΌ ΠΏΡΠΎΠ±ΠΊΡ Π² ΠΊΠ°ΡΡΠ΅Ρ ΠΠΠ.Β
ΠΠΎΠ΄Π½ΠΈΠΌΠ°Π΅ΠΌΡΡ Π½Π°Π²Π΅ΡΡ . Π Π·Π°Π»ΠΈΠ²Π°Π΅ΠΌ Π½ΠΎΠ²ΠΎΠ΅ ΠΌΠ°ΡΠ»ΠΎ Π² ΠΠΠ ΡΠ΅ΡΠ΅Π· ΠΎΡΠ²Π΅ΡΡΡΠΈΠ΅ Π² ΡΡΠ΅Π΄Π½Π΅ΠΉ ΡΠ°ΡΡΠΈ ΠΊΠΎΡΠΏΡΡΠ° ΠΊΠΎΡΠΎΠ±ΠΊΠΈ. Π¨ΠΏΡΠΈΡΠΎΠΌ — ΡΠΎ ΡΡΠΎΡΠΎΠ½Ρ Π»Π΅Π²ΠΎΠ³ΠΎ ΠΏΠ΅ΡΠ΅Π΄Π½Π΅Π³ΠΎ ΠΊΠΎΠ»Π΅ΡΠ°.Β
ΠΡΠ»ΠΈ ΡΠ΅ΡΠ΅Π· Π²ΠΎΡΠΎΠ½ΠΊΡ ΠΈ Π΄Π»ΠΈΠ½Π½ΡΡ ΡΡΡΠ±ΠΊΡ — ΡΠ²Π΅ΡΡ Ρ, ΠΎΡΠΊΡΡΠ² ΠΊΠ°ΠΏΠΎΡ.Β


Π£ΡΠΎΠ²Π΅Π½Ρ ΡΡΠ°Π½ΡΠΌΠΈΡΡΠΈΠΎΠ½Π½ΠΎΠ³ΠΎ ΠΌΠ°ΡΠ»Π° Π² ΠΠΠ Π΄ΠΎΠ»ΠΆΠ΅Π½ Π±ΡΡΡ Π²ΡΠΎΠ²Π΅Π½Ρ Ρ Π·Π°Π»ΠΈΠ²Π½ΡΠΌ ΠΎΡΠ²Π΅ΡΡΡΠΈΠ΅ΠΌ.Β

ΠΡΠ΅ ΠΌΠ°ΡΠ»ΠΎ ΡΠ»ΠΈΡΡ Π½Π΅ ΠΏΠΎΠ»ΡΡΠΈΡΡΡ, ΡΠΊΠΎΠ»ΡΠΊΠΎ Π² ΠΎΠ±ΡΠ΅ΠΌΠ΅ ΠΊΠ°ΡΡΠ΅ΡΠ° (2.5 Π»ΠΈΡΡΠ°), Π²Π»Π΅Π·Π΅ΡΒ ΠΏΠΎΡΡΠ΄ΠΊΠ° 1,9-2Π» ΠΌΠ°ΡΠ»Π°, ΠΌΠΎΠΆΠ΅Ρ ΡΡΡΡ Π±ΠΎΠ»ΡΡΠ΅.
ΠΠ°ΠΊΡΡΡΠΈΠ²Π°Π΅ΠΌ ΠΏΠ»Π°ΡΡΠΈΠΊΠΎΠ²ΡΡ ΠΏΡΠΎΠ±ΠΊΡ. ΠΡ ΡΡΠΊΠΈ Π΄ΠΎ ΡΠΏΠΎΡΠ°.Β
Π‘ΡΠ°Π²ΠΈΠΌ ΠΊΠΎΠ»Π΅ΡΠΎ. ΠΠΏΡΡΠΊΠ°Π΅ΠΌ Π΄ΠΎΠΌΠΊΡΠ°Ρ. Π£Π±ΠΈΡΠ°Π΅ΠΌ ΡΠΏΠΎΡΡ.Β
ΠΡΠΎΠ²Π΅ΡΡΠ΅ΠΌ Ρ ΠΎΠ΄Ρ ΡΡΡΠ°Π³Π° ΠΠΠΠ ΡΡΠΎΡ Π½Π° ΠΌΠ΅ΡΡΠ΅.Β
ΠΡΠ»ΠΈ Π²ΡΡ Π² ΠΏΠΎΡΡΠ΄ΠΊΠ΅, Π·Π°Π²ΠΎΠ΄ΠΈΠΌ Π΄Π²ΠΈΠ³Π°ΡΠ΅Π»Ρ ΠΈ ΡΡΠ΅Π·ΠΆΠ°Π΅ΠΌ Ρ ΡΡΡΠ°ΠΊΠ°Π΄Ρ.
Π€ΠΎΡΠΎ:Β http://megane2.ru/
ΠΡΠ»ΠΈ Ρ ΠΠ°Ρ Π΅ΡΡΡ, ΡΡΠΎ Π΄ΠΎΠ±Π°Π²ΠΈΡΡ ΠΊ ΡΡΠ°ΡΡΠ΅, ΠΈΠ»ΠΈ ΠΡ Ρ ΠΎΡΠΈΡΠ΅ ΠΏΠΎΠ΄Π΅Π»ΠΈΡΡΡΡ ΡΠ²ΠΎΠΈΠΌ ΠΎΠΏΡΡΠΎΠΌ Π½Π° Π΄Π°Π½Π½ΡΡ ΡΠ΅ΠΌΡ β ΠΏΠΎΠΆΠ°Π»ΡΠΉΡΡΠ°, ΠΎΡΡΠ°Π²ΡΡΠ΅ ΠΊΠΎΠΌΠΌΠ΅Π½ΡΠ°ΡΠΈΠΉ ΠΡΠ»ΠΈ ΠΡ ΡΠ²Π»ΡΠ΅ΡΠ΅ΡΡ Π°Π²ΡΠΎΡΠΎΠΌ ΠΎΡΡΠ΅ΡΠ° ΠΎ ΡΠ΅ΠΌΠΎΠ½ΡΠ΅, Π΄ΠΎΡΠ°Π±ΠΎΡΠΊΠ΅ Π°Π²ΡΠΎΠΌΠΎΠ±ΠΈΠ»Ρ Renault ΠΈΠ»ΠΈ ΡΠ΅ΠΊΠΎΠΌΠ΅Π½Π΄ΡΠ΅ΡΠ΅ ΠΌΠ°ΡΠ΅ΡΠΈΠ°Π» Π΄Π»Ρ ΠΠ°Π·Ρ Π·Π½Π°Π½ΠΈΠΉ Renault-DriveΒ β ΠΏΠΎΠΆΠ°Π»ΡΠΉΡΡΠ°,Β ΡΠΎΠΎΠ±ΡΠΈΡΠ΅ Π½Π°ΠΌ ΠΎΠ± ΡΡΠΎΠΌ ΠΠΎΠ½ΡΠ°Π²ΠΈΠ»Π°ΡΡ ΡΡΠ°ΡΡΡ? ΠΠΎΠ΄Π΅Π»ΠΈΡΠ΅ΡΡ Ρ Π΄ΡΡΠ·ΡΡΠΌΠΈ Ρ ΠΏΠΎΠΌΠΎΡΡΡ «ΠΊΠ½ΠΎΠΏΠΎΠΊ» ΡΠΎΡΡΠ΅ΡΠ΅ΠΉ: |
renault-drive.ru
Π‘ΡΠΎΠΊ ΡΠ»ΡΠΆΠ±Ρ ΠΊΠΎΡΠΎΠ±ΠΊΠΈ ΠΏΠ΅ΡΠ΅Π΄Π°Ρ Π·Π°Π²ΠΈΡΠΈΡ ΠΎΡ ΠΊΠ°ΡΠ΅ΡΡΠ²Π° ΡΡΠ°Π½ΡΠΌΠΈΡΡΠΈΠΎΠ½Π½ΠΎΠ³ΠΎ ΠΌΠ°ΡΠ»Π°. ΠΡΠ»ΠΈ Π΅Π³ΠΎ ΡΠΈΠ·ΠΈΡΠ΅ΡΠΊΠΈΠ΅ ΡΠ²ΠΎΠΉΡΡΠ²Π° ΠΈΠ»ΠΈ ΡΡΠΎΠ²Π΅Π½Ρ (ΠΊΠΎΠ»ΠΈΡΠ΅ΡΡΠ²ΠΎ) Π½Π΅ ΡΠΎΠΎΡΠ²Π΅ΡΡΡΠ²ΡΡΡ ΡΡΠ΅Π±ΡΠ΅ΠΌΡΠΌ ΠΏΠ°ΡΠ°ΠΌΠ΅ΡΡΠ°ΠΌ, Π΄Π΅ΡΠ°Π»ΠΈ ΠΠΠ Π½Π°ΡΠΈΠ½Π°ΡΡ ΠΈΠ½ΡΠ΅Π½ΡΠΈΠ²Π½ΠΎ ΠΈΠ·Π½Π°ΡΠΈΠ²Π°ΡΡΡΡ. ΠΠΎΠ»ΠΈΡΡ ΠΌΠ°ΡΠ»ΠΎ Π² ΠΊΠΎΡΠΎΠ±ΠΊΡ ΠΠΠ 2107 ΠΈΠ»ΠΈ ΠΏΠΎΠΌΠ΅Π½ΡΡΡ Π΅Π³ΠΎ ΠΌΠΎΠΆΠ½ΠΎ ΡΠ°ΠΌΠΎΡΡΠΎΡΡΠ΅Π»ΡΠ½ΠΎ. ΠΡΠ° ΠΎΠΏΠ΅ΡΠ°ΡΠΈΡ Π½Π΅ ΡΡΠ΅Π±ΡΠ΅Ρ Π²ΡΡΠΎΠΊΠΎΠΉ ΠΊΠ²Π°Π»ΠΈΡΠΈΠΊΠ°ΡΠΈΠΈ ΠΈ ΡΠΏΠ΅ΡΠΈΠ½ΡΡΡΡΠΌΠ΅Π½ΡΠ°. ΠΡΠΆΠ½ΠΎ Π»ΠΈΡΡ Π·Π½Π°ΡΡ ΠΊΠ°ΠΊΠΎΠ΅ ΠΌΠ°ΡΠ»ΠΎ ΠΌΠΎΠΆΠ½ΠΎ Π»ΠΈΡΡ Π² ΠΠΠ βΡΠ΅ΠΌΠ΅ΡΠΊΠΈβ, ΠΊΠΎΠ³Π΄Π° ΠΈ ΠΊΠ°ΠΊ ΠΌΠ΅Π½ΡΡΡ Π΅Π³ΠΎ Π½Π°Π΄ΠΎ ΠΌΠ΅Π½ΡΡΡ ΠΈΠ»ΠΈ Π΄ΠΎΠ»ΠΈΠ²Π°ΡΡ.

ΠΡΠΎΠ²Π΅ΡΠΊΠ° ΡΡΠΎΠ²Π½Ρ ΠΌΠ°ΡΠ»Π° Π² ΠΊΠΎΡΠΎΠ±ΠΊΠ΅ Π²ΡΠΏΠΎΠ»Π½ΡΠ΅ΡΡΡ ΡΠ°ΠΊ:
Π£ΡΠΎΠ²Π΅Π½Ρ ΠΌΠ°ΡΠ»Π° Π΄ΠΎΠ»ΠΆΠ΅Π½ Π΄ΠΎΡΡΠΈΠ³Π°ΡΡ Π΅Π΅ Π½ΠΈΠΆΠ½Π΅ΠΉ ΠΊΡΠΎΠΌΠΊΠΈ. ΠΠ°ΠΎΠ΄Π½ΠΎ ΡΠ°ΠΊ ΠΌΠΎΠΆΠ½ΠΎ ΠΈ ΠΏΡΠΎΠ²Π΅ΡΠΈΡΡ ΡΠΎΡΡΠΎΡΠ½ΠΈΠ΅ ΠΌΠ°ΡΠ»Π°.

ΠΡΠ»ΠΈ Π³ΠΎΠ²ΠΎΡΠΈΡΡ ΠΎ ΡΠΎΠΌ, ΡΠΊΠΎΠ»ΡΠΊΠΎ ΠΌΠ°ΡΠ»Π° Π² ΠΊΠΎΡΠΎΠ±ΠΊΠ΅ ΠΠΠ 2107, Π½ΡΠΆΠ½ΠΎ ΠΏΠΎΠ½ΠΈΠΌΠ°ΡΡ, ΠΎ ΠΊΠ°ΠΊΠΎΠΉ ΠΌΠΎΠ΄ΠΈΡΠΈΠΊΠ°ΡΠΈΠΈ ΠΊΠΎΡΠΎΠ±ΠΊΠΈ ΠΈΠ΄Π΅Ρ ΡΠ΅ΡΡ. Π ΡΠ΅ΡΡΡΠ΅Ρ
ΡΡΡΠΏΠ΅Π½ΡΠ°ΡΡΡ ΠΊΠΎΡΠΎΠ±ΠΊΡ Π·Π°Π»ΠΈΠ²Π°ΡΡ 1.35 Π»ΠΈΡΡΠ° ΠΌΠ°ΡΠ»Π°, Π° Π² ΠΏΡΡΠΈΡΡΡΠΏΠ΅Π½ΡΠ°ΡΡΡ β 1,6 Π»ΠΈΡΡΠ°.
ΠΠΎΠ»ΠΈΠ²Π°ΡΡ ΠΌΠ°ΡΠ»ΠΎ Π½ΡΠΆΠ½ΠΎ Π»ΠΈΡΡ ΠΊΠΎΠ³Π΄Π° Π΅Π³ΠΎ ΡΡΠΎΠ²Π΅Π½Ρ Π½ΠΈΠΆΠ΅ Π½ΠΎΡΠΌΡ. ΠΡΠΎ ΠΌΠΎΠΆΠ½ΠΎ ΡΠ΄Π΅Π»Π°ΡΡ ΡΠΏΠ΅ΡΠΈΠ°Π»ΡΠ½ΡΠΌ ΡΠΏΡΠΈΡΠΎΠΌ, ΠΏΡΠ΅Π΄Π²Π°ΡΠΈΡΠ΅Π»ΡΠ½ΠΎ ΠΎΡΠΊΡΡΡΠΈΠ² ΠΌΠ°ΡΠ»ΠΎΠ·Π°Π»ΠΈΠ²Π½ΡΡ ΠΏΡΠΎΠ±ΠΊΡ.
ΠΠ°ΠΌΠ΅Π½Π° ΠΌΠ°ΡΠ»Π° Π² ΠΊΠΎΡΠΎΠ±ΠΊΠ΅ ΠΠΠ 2107 Π²ΡΠΏΠΎΠ»Π½ΡΠ΅ΡΡΡ Π² ΡΠ°ΠΊΠΈΡ
ΡΠ»ΡΡΠ°ΡΡ
:
ΠΡΠΎΠΌΠ΅Π΄Π»Π΅Π½ΠΈΠ΅ Ρ Π·Π°ΠΌΠ΅Π½ΠΎΠΉ ΠΌΠ°ΡΠ»Π° Π±ΡΡΡΡΠΎ ΠΏΡΠΈΠ²Π΅Π΄Π΅Ρ ΠΊ ΠΏΠΎΠ»ΠΎΠΌΠΊΠ΅ ΠΠΠ.
ΠΠ΅Π·Π°Π²ΠΈΡΠΈΠΌΠΎ ΠΎΡ ΠΌΠΎΠ΄ΠΈΡΠΈΠΊΠ°ΡΠΈΠΈ ΠΠΠ (ΠΏΡΡΠΈ- ΠΈΠ»ΠΈ ΡΠ΅ΡΡΡΠ΅Ρ
ΡΡΡΠΏΠ΅Π½ΡΠ°ΡΠ°Ρ), Π² Π½Π΅Π΅ ΠΌΠΎΠΆΠ½ΠΎ Π»ΠΈΡΡ ΡΠΎΠ»ΡΠΊΠΎ ΡΠΏΠ΅ΡΠΈΠ°Π»ΡΠ½ΠΎΠ΅ ΠΌΠ°ΡΠ»ΠΎ, ΡΠ²ΠΎΠΉΡΡΠ²Π° ΠΊΠΎΡΠΎΡΠΎΠ³ΠΎ ΡΠΎΠΎΡΠ²Π΅ΡΡΡΠ²ΡΡΡ ΡΡΠ»ΠΎΠ²ΠΈΡΠΌ ΡΠΊΡΠΏΠ»ΡΠ°ΡΠ°ΡΠΈΠΈ ΠΌΠ°ΡΠΈΠ½Ρ.
ΠΡΠΎΠΈΠ·Π²ΠΎΠ΄ΠΈΡΠ΅Π»Ρ ΡΠ΅ΠΊΠΎΠΌΠ΅Π½Π΄ΡΠ΅Ρ Π΄Π»Ρ ΠΈΡΠΏΠΎΠ»ΡΠ·ΠΎΠ²Π°Π½ΠΈΡ ΠΌΠ°ΡΠ»Π° Π΄Π²ΡΡ
Π³ΡΡΠΏΠΏ:
Π ΠΊΠΎΡΠΎΠ±ΠΊΠ΅ βΡΠ΅ΠΌΠ΅ΡΠΊΠΈβ ΠΌΠΎΠ³ΡΡ ΠΈΡΠΏΠΎΠ»ΡΠ·ΠΎΠ²Π°ΡΡΡΡ ΡΠΈΠ½ΡΠ΅ΡΠΈΡΠ΅ΡΠΊΠΈΠ΅ ΠΈΠ»ΠΈ ΠΏΠΎΠ»ΡΡΠΈΠ½ΡΠ΅ΡΠΈΡΠ΅ΡΠΊΠΈΠ΅ ΠΌΠ°ΡΠ»Π° ΡΠ»Π΅Π΄ΡΡΡΠΈΡ ΠΊΠ»Π°ΡΡΠΎΠ² Π²ΡΠ·ΠΊΠΎΡΡΠΈ:
ΠΠΎΡΠ»Π΅Π΄Π½ΠΈΠ΅ Π΄Π²Π° ΡΠΈΠΏΠ° ΠΌΠ°ΡΠ»Π° Π»ΡΡΡΠ΅ Π²ΡΠ΅Π³ΠΎ ΠΏΡΠΈΡΠΏΠΎΡΠΎΠ±Π»Π΅Π½Ρ ΠΊ ΡΠΎΡΡΠΈΠΉΡΠΊΠΈΠΌ ΠΏΠΎΠ³ΠΎΠ΄Π½ΡΠΌ ΡΡΠ»ΠΎΠ²ΠΈΡΠΌ.
ΠΠ»Ρ ΡΠ°Π±ΠΎΡΡ Π½Π΅ΠΎΠ±Ρ ΠΎΠ΄ΠΈΠΌΠΎ ΠΏΡΠΈΠ³ΠΎΡΠΎΠ²ΠΈΡΡ:
Π§ΡΠΎΠ±Ρ Π·Π°ΠΌΠ΅Π½ΠΈΡΡ ΠΌΠ°ΡΠ»ΠΎ Π² ΠΊΠΎΡΠΎΠ±ΠΊΡ βΡΠ΅ΠΌΠ΅ΡΠΊΠΈβ, Π½Π΅ΠΎΠ±Ρ ΠΎΠ΄ΠΈΠΌΠΎ Π²ΡΠΏΠΎΠ»Π½ΠΈΡΡ ΡΠ°ΠΊΠΈΠ΅ Π΄Π΅ΠΉΡΡΠ²ΠΈΡ:

Β
ΠΠ°ΠΆΠ½ΠΎ: ΠΈΠ·Π±Π΅Π³Π°ΠΉΡΠ΅ ΠΏΠΎΠΏΠ°Π΄Π°Π½ΠΈΡ ΠΌΠ°ΡΠ»Π° Π½Π° Π·Π΅ΠΌΠ»Ρ. ΠΠ½ΠΎ ΡΠΎΠ΄Π΅ΡΠΆΠΈΡ Ρ ΠΈΠΌΠΈΠΊΠ°ΡΡ, ΠΎΠΏΠ°ΡΠ½ΡΠ΅ Π΄Π»Ρ ΠΎΠΊΡΡΠΆΠ°ΡΡΠ΅ΠΉ ΡΡΠ΅Π΄Ρ.
Β
Β
ΠΠ½ΠΈΠΌΠ°Π½ΠΈΠ΅: Π΅ΡΠ»ΠΈ Π² βΠΎΡΡΠ°Π±ΠΎΡΠΊΠ΅β ΠΈΠΌΠ΅ΡΡΡΡ ΠΎΠΏΠΈΠ»ΠΊΠΈ, ΠΠΠ Π½ΡΠΆΠ΄Π°Π΅ΡΡΡ Π² ΡΠ΅ΠΌΠΎΠ½ΡΠ΅!
Β
Β
Π‘ΠΎΠ²Π΅Ρ: Π΅ΡΠ»ΠΈ Ρ Π²Π°Ρ Π½Π΅Ρ ΡΠΏΡΠΈΡΠ° Π΄Π»Ρ Π·Π°Π»ΠΈΠ²Π° ΠΌΠ°ΡΠ»Π°, ΠΌΠΎΠΆΠ½ΠΎ ΠΈΡΠΏΠΎΠ»ΡΠ·ΠΎΠ²Π°ΡΡ Π²ΠΎΡΠΎΠ½ΠΊΡ Ρ ΠΏΡΠΈΡΠΎΠ΅Π΄ΠΈΠ½Π΅Π½Π½ΠΎΠΉ ΠΊ Π½Π΅ΠΉ Π΄Π»ΠΈΠ½Π½ΠΎΠΉ Π³ΠΈΠ±ΠΊΠΎΠΉ ΡΡΡΠ±ΠΊΠΎΠΉ. ΠΠΎΡΠ»Π΅Π΄Π½ΡΡ Π½Π΅ΠΎΠ±Ρ ΠΎΠ΄ΠΈΠΌΠΎ Π·Π°Π²Π΅ΡΡΠΈ ΡΠ²Π΅ΡΡ Ρ ΠΏΠΎ Π»Π΅Π²ΠΎΠΉ ΡΡΠΎΡΠΎΠ½Π΅ ΠΎΡ Π΄Π²ΠΈΠ³Π°ΡΠ΅Π»Ρ ΠΈ Π²ΡΡΠ°Π²ΠΈΡΡ Π² ΠΎΡΠ²Π΅ΡΡΡΠΈΠ΅ Π΄Π»Ρ Π·Π°Π»ΠΈΠ²Π°. Π’Π°ΠΊΠΈΠΌ ΠΎΠ±ΡΠ°Π·ΠΎΠΌ ΠΌΠΎΠΆΠ½ΠΎ Π·Π°Π»ΠΈΡΡ ΠΌΠ°ΡΠ»ΠΎ Π² ΠΠΠ Π±Π΅Π· ΠΏΡΠΈΠΌΠ΅Π½Π΅Π½ΠΈΡ ΡΠΏΡΠΈΡΠ°.
Β
Π’Π΅ΠΏΠ΅ΡΡ Π²Ρ Π·Π½Π°Π΅ΡΠ΅ ΠΊΠ°ΠΊ Π·Π°Π»ΠΈΡΡ ΠΌΠ°ΡΠ»ΠΎ Π² ΠΊΠΎΡΠΎΠ±ΠΊΡ ΠΠΠ 2107 ΠΈ ΡΠΌΠΎΠΆΠ΅ΡΠ΅ ΡΠ°ΠΌΠΎΡΡΠΎΡΡΠ΅Π»ΡΠ½ΠΎ ΠΏΡΠΎΠΊΠΎΠ½ΡΡΠΎΠ»ΠΈΡΠΎΠ²Π°ΡΡ Π΅Π³ΠΎ ΡΠΎΡΡΠΎΡΠ½ΠΈΠ΅. Π‘Π²ΠΎΠ΅Π²ΡΠ΅ΠΌΠ΅Π½Π½Π°Ρ Π·Π°ΠΌΠ΅Π½Π° ΠΈΠ»ΠΈ Π΄ΠΎΠ»ΠΈΠ²ΠΊΠ° ΠΌΠ°ΡΠ»Π° ΠΎΠ±Π΅ΡΠΏΠ΅ΡΠΈΡ Π΄ΠΎΠ»Π³ΡΡ ΡΠ»ΡΠΆΠ±Ρ ΡΠ°ΠΊΠΎΠ³ΠΎ Π΄ΠΎΡΠΎΠ³ΠΎΡΡΠΎΡΡΠ΅Π³ΠΎ ΡΠ·Π»Π°, ΠΊΠ°ΠΊ ΠΊΠΎΡΠΎΠ±ΠΊΠ° ΠΏΠ΅ΡΠ΅ΠΊΠ»ΡΡΠ΅Π½ΠΈΡ ΠΏΠ΅ΡΠ΅Π΄Π°Ρ.
semerkavaz.ru
ΠΠ²ΡΠΎΡ: admin Β· ΠΠ°ΡΠ°: 15 Π°ΠΏΡΠ΅Π»Ρ 2010 Β· ΠΠΎΠΊΠ° Π½Π΅Ρ ΠΊΠΎΠΌΠΌΠ΅Π½ΡΠ°ΡΠΈΠ΅Π²
ΠΡΠΎΠ²Π΅ΡΠΊΠ° ΡΡΠΎΠ²Π½Ρ ΠΌΠ°ΡΠ»Π°
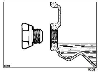
1.Β Π£ΡΡΠ°Π½ΠΎΠ²ΠΈΡΠ΅ Π°Π²ΡΠΎΠΌΠΎΠ±ΠΈΠ»Ρ Π½Π° ΡΠΎΠ²Π½ΠΎΠΉ Π³ΠΎΡΠΈΠ·ΠΎΠ½ΡΠ°Π»ΡΠ½ΠΎΠΉ ΠΏΠΎΠ²Π΅ΡΡ Π½ΠΎΡΡΠΈ.
2.Β ΠΡΠ²Π΅ΡΠ½ΠΈΡΠ΅ Π·Π°Π»ΠΈΠ²Π½ΡΡ ΠΏΡΠΎΠ±ΠΊΡ (Π) ΠΈ ΡΠ½ΠΈΠΌΠΈΡΠ΅ ΠΏΡΠΎΠΊΠ»Π°Π΄ΠΊΡ (Π).
3.Β Π£Π±Π΅Π΄ΠΈΡΠ΅ΡΡ, ΡΡΠΎ ΡΡΠΎΠ²Π΅Π½Ρ ΠΌΠ°ΡΠ»Π° (Π‘) Π½Π°Ρ ΠΎΠ΄ΠΈΡΡΡ Π½Π° ΡΡΠΎΠ²Π½Π΅ Π½ΠΈΠΆΠ½Π΅ΠΉ ΠΊΡΠΎΠΌΠΊΠΈ Π·Π°Π»ΠΈΠ²Π½ΠΎΠ³ΠΎ ΠΎΡΠ²Π΅ΡΡΡΠΈΡ.
ΠΡΠΈ Π½Π΅ΠΎΠ±Ρ ΠΎΠ΄ΠΈΠΌΠΎΡΡΠΈ Π΄ΠΎΠ²Π΅Π΄ΠΈΡΠ΅ ΡΡΠΎΠ²Π΅Π½Ρ ΠΌΠ°ΡΠ»Π° Π² ΠΊΠΎΡΠΎΠ±ΠΊΠ΅ ΠΏΠ΅ΡΠ΅Π΄Π°Ρ Π΄ΠΎ ΡΡΡΠ°Π½ΠΎΠ²Π»Π΅Π½Π½ΠΎΠΉ Π½ΠΎΡΠΌΡ.
ΠΠ°ΡΠ»ΠΎβ¦β¦β¦β¦β¦β¦β¦..Honda Ultra MTF-II
4.Β Π£ΡΡΠ°Π½ΠΎΠ²ΠΈΡΠ΅ Π½ΠΎΠ²ΡΡ ΠΏΡΠΎΠΊΠ»Π°Π΄ΠΊΡ ΠΈ Π·Π°Π²Π΅ΡΠ½ΠΈΡΠ΅ Π·Π°Π»ΠΈΠ²Π½ΡΡ ΠΏΡΠΎΠ±ΠΊΡ.
ΠΠΎΠΌΠ΅Π½Ρ Π·Π°ΡΡΠΆΠΊΠΈβ¦β¦β¦β¦β¦β¦β¦β¦44 ΠΠΌ
ΠΠ°ΠΌΠ΅Π½Π° ΠΌΠ°ΡΠ»Π°
1.Β Π£ΡΡΠ°Π½ΠΎΠ²ΠΈΡΠ΅ Π°Π²ΡΠΎΠΌΠΎΠ±ΠΈΠ»Ρ Π½Π° ΡΠΎΠ²Π½ΠΎΠΉ Π³ΠΎΡΠΈΠ·ΠΎΠ½ΡΠ°Π»ΡΠ½ΠΎΠΉ ΠΏΠΎΠ²Π΅ΡΡ Π½ΠΎΡΡΠΈ.
2.Β ΠΡΠ²Π΅ΡΠ½ΠΈΡΠ΅ Π·Π°Π»ΠΈΠ²Π½ΡΡ ΠΏΡΠΎΠ±ΠΊΡ ΠΈ ΡΠ½ΠΈΠΌΠΈΡΠ΅ ΠΏΡΠΎΠΊΠ»Π°Π΄ΠΊΡ.
ΠΠΎΡΠΎΠ±ΠΊΠΈ ΠΏΠ΅ΡΠ΅Π΄Π°Ρ S4C, SKH, SKJ.
ΠΠΎΡΠΎΠ±ΠΊΠ° ΠΏΠ΅ΡΠ΅Π΄Π°Ρ S40.
ΠΠΎΡΠΎΠ±ΠΊΠ° ΠΏΠ΅ΡΠ΅Π΄Π°Ρ S22.
3.Β ΠΡΠ²Π΅ΡΠ½ΠΈΡΠ΅ ΡΠ»ΠΈΠ²Π½ΡΡ ΠΏΡΠΎΠ±ΠΊΡ ΠΈ ΡΠ½ΠΈΠΌΠΈΡΠ΅ ΠΏΡΠΎΠΊΠ»Π°Π΄ΠΊΡ.
4.Β Π‘Π»Π΅ΠΉΡΠ΅ ΠΌΠ°ΡΠ»ΠΎ ΠΈΠ· ΠΊΠΎΡΠΎΠ±ΠΊΠΈ ΠΏΠ΅ΡΠ΅Π΄Π°Ρ Π² Π΅ΠΌΠΊΠΎΡΡΡ.
5.Β Π£ΡΡΠ°Π½ΠΎΠ²ΠΈΡΠ΅ Π½ΠΎΠ²ΡΡ ΠΏΡΠΎΠΊΠ»Π°Π΄ΠΊΡ ΠΈ Π·Π°Π²Π΅ΡΠ½ΠΈΡΠ΅ ΡΠ»ΠΈΠ²Π½ΡΡ ΠΏΡΠΎΠ±ΠΊΡ.
ΠΠΎΠΌΠ΅Π½Ρ Π·Π°ΡΡΠΆΠΊΠΈβ¦β¦β¦β¦β¦β¦β¦..39 ΠΠΌ
6.Β ΠΠ°Π»Π΅ΠΉΡΠ΅ ΠΌΠ°ΡΠ»ΠΎ Π² ΠΊΠΎΡΠΎΠ±ΠΊΡ ΠΏΠ΅ΡΠ΅Π΄Π°Ρ, Ρ
ΠΠ°ΡΠ»ΠΎβ¦β¦β¦β¦β¦β¦β¦.Honda Ultra MTF-lm
ΠΠ°ΠΏΡΠ°Π²ΠΎΡΠ½Π°Ρ Π΅ΠΌΠΊΠΎΡΡΡ: |
ΠΊΠΎΡΠΎΠ±ΠΊΠ° S4C: Π©
ΠΏΡΠΈ Π·Π°ΠΌΠ΅Π½Π΅β¦β¦β¦β¦β¦β¦β¦β¦β¦β¦2,2Ρ
ΠΏΠΎΠ»Π½ΡΠΉ ΠΎΠ±ΡΠ΅ΠΌβ¦.β¦β¦β¦β¦β¦β¦β¦2,3 Π³Π³
ΠΊΠΎΡΠΎΠ±ΠΊΠ° SKH:
ΠΏΡΠΈ Π·Π°ΠΌΠ΅Π½Π΅β¦β¦β¦β¦β¦β¦β¦.:β¦β¦.2,0 Π»
ΠΏΠΎΠ»Π½ΡΠΉ ΠΎΠ±ΡΠ΅ΠΌβ¦β¦β¦β¦β¦β¦β¦β¦.2,1 Π»
ΠΊΠΎΡΠΎΠ±ΠΊΠ° SKJ:
ΠΏΡΠΈ Π·Π°ΠΌΠ΅Π½Π΅β¦β¦β¦β¦β¦.:β¦β¦β¦β¦.1,7 Π»
ΠΏΠΎΠ»Π½ΡΠΉ ΠΎΠ±ΡΠ΅ΠΌβ¦β¦β¦β¦β¦β¦β¦β¦.2,1 Π»
ΠΊΠΎΡΠΎΠ±ΠΊΠ° S40:
ΠΏΡΠΈ Π·Π°ΠΌΠ΅Π½Π΅β¦β¦β¦β¦β¦β¦β¦β¦β¦β¦ 1,8 Π»
ΠΏΠΎΠ»Π½ΡΠΉ ΠΎΠ±ΡΠ΅ΠΌβ¦β¦β¦β¦β¦β¦β¦β¦.1,9 Π»
ΠΊΠΎΡΠΎΠ±ΠΊΠ° S22:
ΠΏΡΠΈ Π·Π°ΠΌΠ΅Π½Π΅β¦β¦β¦β¦β¦β¦β¦β¦β¦β¦2,2 Π»
ΠΏΠΎΠ»Π½ΡΠΉ ΠΎΠ±ΡΠ΅ΠΌβ¦β¦β¦β¦β¦β¦β¦β¦.2,8 Π»
7. Π£Π±Π΅Π΄ΠΈΡΠ΅ΡΡ, ΡΡΠΎ ΡΡΠΎΠ²Π΅Π½Ρ ΠΌΠ°ΡΠ»Π° Π² ΠΊΠΎΡΠΎΠ±ΠΊΠ΅ ΠΏΠ΅ΡΠ΅Π΄Π°Ρ Π½Π°Ρ ΠΎΠ΄ΠΈΡΡΡ Π½Π° ΡΡΠΎΠ²Π½Π΅ Π½ΠΈΠΆΠ½Π΅ΠΉ ΠΊΡΠΎΠΌΠΊΠΈ Π·Π°Π»ΠΈΠ²Π½ΠΎΠ³ΠΎ ΠΎΡΠ²Π΅ΡΡΡΠΈΡ. ΠΡΠΈ Π½Π΅ΠΎΠ±Ρ ΠΎΠ΄ΠΈΠΌΠΎΡΡΠΈ Π΄ΠΎΠ²Π΅Π΄ΠΈΡΠ΅ ΡΡΠΎΠ²Π΅Π½Ρ ΠΌΠ°ΡΠ»Π° Π΄ΠΎ ΡΡΡΠ°Π½ΠΎΠ²Π»Π΅Π½Π½ΠΎΠΉ Π½ΠΎΡΠΌΡ.
8.Β Π£ΡΡΠ°Π½ΠΎΠ²ΠΈΡΠ΅ Π½ΠΎΠ²ΡΡ ΠΏΡΠΎΠΊΠ»Π°Π΄ΠΊΡ ΠΈ Π·Π°Π²Π΅ΡΠ½ΠΈΡΠ΅ Π·Π°Π»ΠΈΠ²Π½ΡΡ ΠΏΡΠΎΠ±ΠΊΡ. ΠΠΎΠΌΠ΅Π½Ρ Π·Π°ΡΡΠΆΠΊΠΈβ¦β¦β¦β¦β¦β¦β¦..44 ΠΠΌ
Popularity: 11% []
Π ΡΠ±ΡΠΈΠΊΠ°: ΠΠ±ΡΠΈΠ΅ ΡΠ²Π΅Π΄Π΅Π½ΠΈΡ Β· ΠΠ°ΠΏΠΈΡΡ ΠΈΠΌΠ΅Π΅Ρ ΠΌΠ΅ΡΠΊΠΈ: ΡΡΠΊΠΎΠ²ΠΎΠ΄ΡΡΠ²ΠΎ Β
www.orthia-car.ru