История прикуривателя берет свои истоки еще с тех незапамятных времен, когда эра автомобилестроения лишь набирала свои обороты. Когда-то прикуриватель был предметом роскоши – позволить себе пользоваться автомобилем могли исключительно богатые и знатные люди, а так как все они, в основном, были изрядными курильщиками (шли в ход не только сигареты, но и сигары), для поднятия уровня продаж производители принялись укомплектовывать свои автомобили прикуривателями в качестве дополнительного устройства.
Интересно, что размер прикуривателя подстраивался именно под размер сигар и до наших дней таким и сохранился. В сегодняшней теме мы познакомимся поближе с прикуривателем как функциональным устройством, узнаем, в чем его назначение, из каких элементов он состоит, а также рассмотрим основные неисправности, которые могут возникнуть при эксплуатации прикуривателя.
В те далекие времена, когда первый прикуриватель увидел жизнь, главным его предназначением было прикуривание сигареты от него. Производители не могли даже предположить, что его будут использовать в каких-либо других целях. Своим появлением прикуриватель не смог произвести особый фурор – автомобилисты продолжали пользоваться зажигалками или спичками, а некурящие и вовсе считали данное устройство бесполезным изобретением. Поэтому многие автопроизводители стали всерьез задумываться о том, чтобы убрать данную опцию из обихода.
Это интересно! В начале 21 века автомобильный прикуриватель стал источником одного интересного инцидента. Следуя программе борьбы с табачной зависимостью, некоторые автопроизводители отказались от установки прикуривателя и пепельниц на свои автомобили. Возмущению автомобилистов по этому поводу не было предела, и они начали протестовать против запрета использования своих любимых девайсов. Протест был настолько велик, что автопроизводителям пришлось-таки вернуть «излюбленный» разъем на место, хотя пепельницы и нагреватели все-таки исчезли из обихода.
Однако технический прогресс не стоял на одном месте, и с появлением большого количества разнообразных автомобильных аксессуаров, работающих от электричества, прикуриватель обрел «новую жизнь». Гнездо прикуривателя стало выполнять функцию своеобразной розетки, к которой можно было подключить все вспомогательные приборы.
На сегодняшний день автомобильный прикуриватель (точнее, его гнездо) широко используется для подключения к автомобильной электросети различных устройств, к примеру, миниатюрных электрочайников, зарядных устройств для мобильника или же ноутбука, переносных осветительных ламп и даже автомобильного пылесоса, переносного холодильника, компрессора для подкачки шин и FM-трансмиттера.
Несомненно, данное устройство способно выручить в различных ситуациях, где нужна подпитка электроэнергией.
Теперь рассмотрим конструкцию прикуривателя.
Если взять в руки прикуриватель и внимательно к нему присмотреться, можно увидеть, что он состоит из двух частей: головки и гнезда. Головка являет собой металлический патрон, имеющий пластиковую кнопку-рукоятку. Внутри патрона расположена нихромовая спираль, которая раскаляется и от которой прикуривается сигарета. Специальное гнездо (розетка) находится на приборной панели машины. Для того чтобы привести прикуриватель в рабочее состояние, его необходимо вставить в гнездо, нажав рукоятку и подключив к бортовой автомобильной электросети.
Стандартное напряжение в бортовых прикуривателях современных автомобилей достигает 12 В. «Плюс» передается на центральный контакт гнезда прикуривателя, а также на прижимные биметаллические лапки штекера, после чего поступает на внешнюю сторону спирали прикуривателя (с биметаллических пластин), или же на «жало» штекера устройств, которые подключаются (с центрального контакта).
«Минус» подается с цоколя гнезда напрямую на цоколь спирали или боковые контакты нештатного штекера.
Разъем прикуривателя обычно защищается специальным предохранителем на 10 А. Его легко заметить, так как он обозначается значком сигареты или надписью «cigar». Данное устройство находится в блоке предохранителей. Сам блок, в зависимости от модели автомобиля, располагается под торпедо, под сидениями или в багажнике.
Интересно знать! Первый электроприкуриватель увидел свет в 1920-е годы. Его головка соединялась с катушкой провода, а цепь замыкалась в момент вытаскивания головки из гнезда.
А теперь давайте разберемся, как же работает прикуриватель. При нажатии на вставку (включении) происходит подключение прикуривателя к бортовой электросети, причем первый удерживается в этом положении с помощью специальных биметаллических пластин. Через проводник начинает протекать электрический ток (тепловое действие тока), вследствие чего происходит эффект нагревания первого.
После того как проводник нагревается до заданной температуры (спираль должна раскалиться докрасна), биметаллические пластины начинают расходиться, и вставка прикуривателя возвращается автоматически (под действием пружины, которая находится в ней) в исходное отключенное положение, этим самым подавая сигнал о том, что прикуриватель готов к работе.
Чтобы прикурить сигарету, автомобилист просто прикладывает ее к раскаленной спирали. Прикуриватель сам по себе имеет в своем составе предохранительное устройство, которое защищает его от перегрева и возгорания в случае заклинивания вставки в гнезде прикуривателя (это может случиться, к примеру, если удерживающие биметаллические пластины деформировались из-за попытки подключить в гнездо стороннее оборудование, хотя обычно все происходит с точностью до наоборот — вставка не может зафиксироваться в гнезде).
Самое простое такое устройство являет собой легкоплавкую шайбу, выполненную из металла. Под воздействием высоких температур она расплавляется и может перемкнуть на короткое время питание прикуривателя. В итоге происходит перегорание предохранителя в блоке и обесточивание прикуривателя.
Для того чтобы предотвратить данную проблему, в некоторых прикуривателях конструктивно установили предохранитель, который находился в самом гнезде. Если шайба плавилась, или в гнезде перегорал предохранитель, прикуриватель необходимо было менять. За последнее время автопроизводители стали применять тепловой многоразовый биметаллический предохранитель в гнезде прикуривателя, который, перегреваясь, перемыкал контакты питания и этим самым препятствовал перегоранию предохранителя, но после того как он остынет, он вновь размыкает эти контакты.
Важно! Перегрев также может иметь место при нарушенном контакте в гнезде с вилкой от стороннего оборудования, если последнее «висит» на подключении длительное время и подпитывает мощность больше нормы.
Прикуриватель никогда не был абсолютно надежным электрическим соединением. Этого не предусматривала сама его конструкция – она не расположена к длительной коммутации больших токов. Только увеличение числа прижимных лапок может обеспечить хорошую фиксацию вилки потребителя в гнезде прикуривателя. Но увы, единообразного стандарта на такое соединение на сегодня нету.
В реальности, в нештатных вилках имеется только подпружиненный центральный контакт и пара прижимных лапок массы. Расположение площади центрального контакта в гнезде может быть довольно глубокое, а может и не совсем. Расположение пазов для прижимных лапок может быть не там, где они располагаются на вилке. Для коммутации больших токов сечения самих контактов недостаточно.
Вследствие различных толчков и вибраций во время езды вилка и гнездо прикуривателя теряют надежный контакт, соединение может искрить, также может быть и короткое замыкание. Так как на современных автомобилях гнездо прикуривателя принято применять как розетку для подключения большого количества других устройств, здесь свое применение находят всевозможные тройники и разветвители, которые также не могут сами по себе добавить надежности устройству.
Знаете ли Вы? На автомобилях современного образца прикуриватель стали устанавливать только в 1950-ых годах. Но уже тогда прикуриватель имел современную конструкцию, которая дошла и до нашего времени.
Подведем итоги и скажем, что безотказная работа автомобильного прикуривателя возможна лишь в том случае, когда использование последнего сводится к его прямому предназначению –разогреву спирали вставки и прикуриванию сигарет. В противном случае, вы рано или поздно столкнетесь с одной из неисправностей, о которых мы поговорим ниже.
Очень часто бывает, что водители жалуются на плохую фиксацию прикуривателя в гнезде. Согласитесь, придерживать прикуриватель в гнезде до его полного разогрева довольно утомительно и небезопасно, особенно если вы управляете автомобилем. Причина такой неисправности кроется в «разнашивании» усиков в гнезде, после чего они просто перестают держать прикуриватель. Устраняется такая проблема довольно легко: вам необходимо немножко подогнуть усики.
Причиной тому, что прикуриватель перестал работать, может послужить перегорание спирали на самом прикуривателе. В данном случае справиться с проблемой поможет замена головки прикуривателя на новую. Если вы не можете найти нужную деталь, вы можете самостоятельно провести несложный ремонт – очистить спиральку головки от нагара и копоти.
Если следовать правилам, спираль стандартного прикуривателя должна нагреваться до красного цвета и выщелкиваться через 20 секунд после включения. В том случае, если она делает это быстрее или медленнее, отрегулировать время можно благодаря разгибу или подгибу контактов прикуривателя. Если регулировка не дала результатов, решить проблему можно с помощью замены детали.
Перегорание предохранителя зачастую происходит по вине самого автомобилиста, который любит подключать множество дополнительных приборов посредством разветвителя. Таким образом, на прикуриватель возлагается повышенная нагрузка, а так как по своим особенностям данное устройство рассчитано исключительно на определенную мощность, а также лишь на кратковременные включения, а не на систематическое использование, предохранитель просто не выдерживает сильной нагрузки и перегорает.
Данная проблема имеет решение, хотя оно и не лишено рисков: можно воспользоваться более мощным предохранителем, но это может привести к сгоранию всего гнезда. Для предотвращения перегорания предохранителя, а также гнезда прикуривателя специалисты не советуют подключать к нему множество устройств через разветвители, а также категорически запрещается подключать к прикуривателю устройства, штекеры которых собраны не плотно или болтаются – в таком случае возможно замыкание и возникновение многих дополнительных проблем.
Еще одной неисправностью, при которой работа прибора будет нарушена, является обрыв проводки. Как правило, провод может перетираться в каком-нибудь месте или же защемлять, в результате отсутствует контакт, и прикуриватель не работает. Проверить наличие данной неисправности (обрыв цепи проводки) можно, воспользовавшись цифровым мультиметром, который имеет функцию прозвона проводки.
Решить проблему может лишь замена проводки. Дабы избежать проблем с электропроводкой в дальнейшем, необходимо запомнить некоторые несложные правила. Во-первых, ни в коем случае не нужно подключать магнитолу или подобные по мощности устройства к прикуривателю – их нужно подключать непосредственно к аккумулятору. Во-вторых, проведите качественную изоляцию всех проводов, так как возникновение искр при плохой изоляции может привести к возгоранию автомобиля. Будьте крайне осторожны и внимательны!
Рекомендаций по правильной эксплуатации прикуривателя не так уж и много, но все они определяют длительную и качественную работу устройства.
В идеале прикуриватель должен использоваться только по назначению – подкуривать сигареты, но так как большинство автомобилистов пользуются ним как устройством для подключения электрических девайсов, существует ряд правил по их использованию:
1. Ни в коем случае нельзя превышать общую разрешенную нагрузку на устройство прикуривателя.
2. Если вы используете разветвитель, мощность всех потребителей необходимо складывать.
3. Не забывайте о том, что автомобильный прикуриватель постоянно «запитывается» к системе, поэтому даже если зажигание выключено, подключенные приборы продолжают потреблять энергию. Исходя из этого, риск полного разряда аккумулятора или выхода из строя частичной или всей бортовой сети очень велик.
4. Как мы уже говорили, ни в коем случае нельзя вставлять в гнездо штекеры приборов, которые болтаются или неплотно собраны – это может привести к замыканию. Этот список можно пополнять в зависимости от модели автомобиля и производителя устройства.
Надеемся, что проблем с прикуривателем у вас никогда не возникнет, и он сможет выручить вас в неудобной ситуации с разряженным мобильным телефоном или ноутбуком. Удачи вам!
Подписывайтесь на наши ленты в Facebook, Вконтакте и Instagram: все самые интересные автомобильные события в одном месте.
Была ли эта статья полезна?
Да Нет
auto.today
Если прикуриватель не работает, причин неполадки может быть несколько. О том, почему не работает прикуриватель, о том, как вытащить и как поменять устройство – читайте ниже.
Содержание
[ Раскрыть]
[ Скрыть]
Прикуриватель — это специальный нагревательный элемент, который зачастую подключен к автомобильной батарее. Если это так, то прибор будет работать даже в том случае, если просто включен замок зажигания. Кроме прямого назначения, штекер используют как зарядное устройство для мобильного телефона и прочих гаджетов. Благодаря тому, что к нему часто подсоединен разветвитель, этим обеспечивается одновременная зарядка сразу нескольких девайсов, в том числе и видеорегистратора.
Разветвитель с несколькими гнездамиЕсли перестал работать прикуриватель, причин может быть несколько:
Как починить прикуриватель – ниже.
Удобное приспособление для транспортного средстваЕсли перестал работать прикуриватель, необходимо провести грамотную диагностику. Для этой операции понадобится лишь мультиметр, установленный в режиме тестера, или самодельный прибор, сконструированный из лампы и нескольких проводов.
По большей степени этот прибор находится в монтажном блоке в специальном отсеке машины. Чтобы добраться до этого устройства, придется открыть капот и в монтажном блоке – в черном ящике, который находится в дальнем углу, отыскать предохранитель, который может называться либо F4, F7, а иногда 20 А – все зависит от максимального тока, на который рассчитан предохранитель.
Для того, чтобы диагностировать предохранитель, нужно изъять его и подключить к мультиметру, чтобы прозвонить контакты. Если лампа на самодельном тестере загорится, или прибор издаст звуковое оповещение, говорящее о том, что предохранитель цел, значит, проблема кроется в другом.
Важно: не стоит устанавливать рядом с предохранителем расчетный ток, потому что это приведет к необратимым последствиям, возможно даже к пожару.
Одной из причин неисправности может быть невнимательность водителя при работе со вспомогательными приборами. Например, после недавней уборки в салоне автомобиля с использованием электротехники, не работает прикуриватель в машине – значит дело в предохранителе. Чтобы в будущем избежать этих проблем, нужно тщательно контролировать подачу тока.
Деталь для транспортного средстваИногда, если не работает прикуриватель и магнитола одновременно, можно не найти никакой связи, но она есть. Ведь случается в повседневности и такое, когда водитель контакты магнитолы подсоединяет к этому приспособлению, ведь это проще, чем идти другим путем и подключаться к батарее машины. Таким образом, когда он перегорает, одновременно с ним в машине перестает работать стерео. В таком случае лучше не заниматься «самолечением», а отправиться в автоцентр и обратиться к квалифицированному специалисту.
Бывает, водители устанавливают в автомобиль много техники, хотя правильнее подсоединять ее к аккумулятору.
Если вышеописанные способы не решили проблемы, осталось проверить на предмет коррозии проводку.
О том, как снять прикуриватель, как разобраться в его схеме, произвести установку, а также о том, как разобрать прикуриватель – ниже.
Схема подключения прикуривателяУстановка, а также замена прикуривателя подразумевает наличие некоторых инструментов:
Как подключить прикуриватель, можно узнать от автора видео Дмитрий Мазницын.
Как поменять прикуриватель можно узнать из ниже описанной инструкции.
Деталь на приборной панели автомобиляО том, как решить одну из неисправностей, можно узнать на фотографиях.
1. Вытащить прикуриватель. 2. Подогнуть медные усики. Загрузка …Ремонт прикуривателя детально освещен на видео от автора Александр Загорный.
avtozam.com
Автомобильный прикуриватель – обязательный аксессуар транспортного средства. В последнее время неисправность разъема прикуривателя особенно ощутима, так как он часто нагружается дополнительными функциями питания и зарядки всевозможных гаджетов.

Они же являются возможной причиной перегорания предохранителей питания розетки прикуривателя и неисправности разъема.
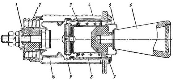
Несмотря на внешнюю простоту, устройство автоприкуривателя представляет довольно сложную техническую конструкцию:

На центральный контакт 1 подают напряжение питания + 12 Вольт через предохранитель номиналом 10 – 30 Ампер (зависит от типа прикуривателя и марки автомобиля). Рабочий элемент 9 обычно выполнен из спиральной нагревательной нихромовой пластины. Его центральный контакт соединяется с контактом 1 (напряжение питания) после нажатия на кнопку 6 съемного элемента прикуривателя 5.
Биметаллические пластины 10 фиксируют момент прижатия съемного элемента к контакту прикуривателя. По мере нагревания электрического элемента 9 температура биметаллических пластин увеличивается, они изменяют геометрические размеры, крепление фиксаторов ослабляется, и пружина 3 выталкивает съемную часть из гнезда, тем самым сообщая о моменте полного разогрева.
В большинстве современных прикуривателей имеется лампочка или светодиодные элементы для подсветки гнезда в темное время суток.
Основными неисправностями автомобильных прикуривателей являются:
Перегорание нагревательного элемента в настоящее время встречается гораздо реже, чем другие неисправности. Это связано и с пропагандой здорового образа жизни, в том числе, но, в большей мере с тем, что гораздо чаще гнездо прикуривателя питает и заряжает различные гаджеты, чем служит для непосредственного исполнения своих прямых обязанностей.
Нагревательный элемент, в принципе, можно заменить — раньше на Жигулях так и делали. Но сейчас при всем многообразии автоприкуривателей, легче и дешевле поменять конструкцию, причем, целиком в сборе, так как подобрать в точности элементы стационарной и съемных частей очень сложно.
Видео — замена прикуривателя на Приоре:
Подгорание контактных зон – частая неисправность. Она связана с большими токами (до 25 Ампер), которые протекают, особенно в момент коммутации.
Большая ошибка – пробовать подчистить контакты с помощью ножа или отвертки. В большинстве случаев питание на прикуриватель подается постоянно (иногда в первом положении ключа зажигания). Производя очистку неизолированным металлическим предметом, можно закоротить питающее напряжение на массу, и, в лучшем случае, перегорание предохранителя неизбежно.
Чистку контактных зон желательно производить при обесточивании самого прикуривателя (например вынув соответствующий предохранитель). Очистку можно произвести отверткой, надежно обёрнутой наждачной бумагой или протереть контакты чистым спиртом с помощью жесткой кисточки, после этого дать просохнуть во избежание возгорания.
Видео — как отремонтировать прикуриватель в машине:
Несвоевременный выброс съемного элемента с недостигнутой до рабочей температуры нагревательного элемента возможен при износе биметаллических пластин фиксатора.
Очень часто это случается по причине нарушения геометрии пластин при установке «левых» гаджетов и переходников. Пластины со временем разгибаются и неправильно фиксируют прикуривательный элемент, производят преждевременный выброс.
Видео — решение проблемы с прикуривателем Калины при подключении компрессора:
Наиболее опасна ситуация отсутствия выброса съемного элемента, то есть чрезмерная фиксация. Это может привести к самовозгоранию пластмассовых элементов конструкции и автомобиля в целом. Такие случаи имели место. Поэтому некоторые некурящие автолюбители достают съемную часть из гнезда во избежание случайной фиксации (например, прислонив туда сумку).
Однако и в этом случае гнездо конструкции лучше чем-нибудь заполнить во избежание случайного попадания в него небольших металлических предметов и закорачивания контактов.
Не следует оставлять на длительное время, особенно при отсутствии пассажиров и водителя в салоне, включенные в разъем переходники питания гаджетов, разветвители и тройники, дополнительное оборудование.

Особенно опасны сравнительно недавно появившиеся на рынке дополнительные обогреватели салона с питанием от прикуривателя.

Они потребляют большие токи в непрерывном режиме. Если прикуриватель нагревается за минуту, то они могут оставаться включенными часы. Предохранитель 30 Ампер (иногда его номинал принудительно увеличен) может выдержать большой постоянный ток в течение длительного периода. А вот идущие к разъему проводники начинают разогреваться, изоляция размягчаться. Возможна ситуация межпроводниковых замыканий, которая может привести к возгоранию проводки.
Видео — как разобрать прикуриватель при его замене на ВАЗ 2110, 2111, 2112:
Очень часто, в основном автолюбители, параллельно прикуривателю подключают питание магнитол, дополнительное оборудование. Действительно, обычно этот способ подключения наиболее прост. Но, вместе с тем, и наиболее опасен.
Проводка прикуривателя зачастую не рассчитана на большие постоянные токи, а современные магнитолы с выходной мощностью 4 х 50 Ватт потребляют токи до 50 Ампер в пиковом режиме.
При выходе из строя предохранителя прикуривателя (обычно он установлен в группе предохранителей в салоне), следует исследовать причины его перегорания. Очень частая причина – неисправность зарядного устройства гаджета либо замыкание контактов в момент коммутации.
Это не так страшно, как замыкание электропроводки или перегорание выходных каскадов автомагнитолы при ее подключению к прикуривателю.
В любом случае, недопустима установка на место предохранителя «жучка», даже на непродолжительное время.

Минусовой (массовый) вывод прикуривателя соединен с внутренней поверхностью гнезда. Во многих автомобилях он подключается непосредственно под болт на «массу» кузова. В процессе длительной эксплуатации место соединения может окислиться, контакт нарушиться. Это приводит к нарушению работы прикуривателя. Чтобы восстановить работоспособность, необходимо очистить контакты массового провода.
Советы по эксплуатации автомобильного прикуривателя:
Если загорелся значок аккумулятора на панели приборов — что делать в этом случае.
Как правильно подключить разъем фаркопа автомобиля.
Где можно вести поиск штрафа http://voditeliauto.ru/voditeli-i-gibdd/shtrafy/po-nomeru-postanovleniya.html по номеру постановления.
Видео — как сделать плюс в прикуривателе от ключа:
Может заинтересовать:
Добавить свою рекламу
Добавить свою рекламу
Добавить свою рекламу
Добавить свою рекламу
voditeliauto.ru
Просмотр полной версии : Прикуриватель не фиксируется
Когда нажимеешь на прикуриватель он должен зафиксироваться,и когда нагреется отщелкнуться,а уменя он не фиксируется,но если удерживать его в нажатом положении пальцем,он нагревается.Подскажите плиз,в чем причина?
КОМРАД
05.06.2006, 16:26
причина в прикуривателе.
нужно разбирать и смотреть.
Меньше зарядку от мобилы туда тыкать нада…
Разбирай и подгибай пластины прикуривателя
And Ed сказал правильно ,но и разбирать не надо если предварительно вытащить пр-ль прикуривателя и можно на месте отогнуть усы ,а использование левых зарядок может привести и к более печальным последствиям.
такая же хрень!
а где посмотреть как разбирать?
вытащить пр-ль прикуривателя и можно на месте отогнуть усы
этого достаточно и разбирать не нада… Я то за одно и подсветку чинил, пришлось разбирать.
Ed
а сам механизм разве только справой стороны, где прикуриватель? А слева, где пепельница нет ничего?
Ромарио
05.06.2006, 17:35
такая же фихня, ток наоборот.., утонул там, и не выскакивает, собака страшная 
https://passatworld.ru/index.php?option=co … &Itemid=57 (https://passatworld.ru/index.php?option=com_content&task=view&id=131&Itemid=57)
Вот блин #-o год ездил с неработающим прикуривателем,а оказалось что надо потратить всего минуту времени что бы он заработал ……….
Сёня отковыряю прикуриватель. Завтра расскажу.
myst,дык не надо его отковыривать,вытаскиваешь предохранитель,вынимаеш прикуриватель,и подгибаешь отверткой пластины
Powered by vBulletin® Copyright © 2018 vBulletin Solutions, Inc. All rights reserved. Перевод: zCarot
passatworld.ru