| Β |
| Π‘ΡΠ΅ΠΏΠ»Π΅Π½ΠΈΠ΅ ΠΠΎΠ»ΠΎΠΌΠΊΠΈ ΡΡΠ΅ΠΏΠ»Π΅Π½ΠΈΡ Π₯ΠΎΠ΄ ΠΏΠ΅Π΄Π°Π»ΠΈ ΡΡΠ΅ΠΏΠ»Π΅Π½ΠΈΡ ΠΠΎΠ½ΡΠ°ΠΆ ΡΡΠ΅ΠΏΠ»Π΅Π½ΠΈΡ Π Π°Π±ΠΎΡΠΈΠΉ ΡΠΈΠ»ΠΈΠ½Π΄Ρ ΡΡΠ΅ΠΏΠ»Π΅Π½ΠΈΡ ΠΠ»Π°Π²Π½ΡΠΉ ΡΠΈΠ»ΠΈΠ½Π΄Ρ ΡΡΠ΅ΠΏΠ»Π΅Π½ΠΈΡ Π’ΡΡΠ±ΠΎΠΏΡΠΎΠ²ΠΎΠ΄ ΡΡΠ΅ΠΏΠ»Π΅Π½ΠΈΡ ΠΠ΅Π΄Π°Π»Ρ ΡΡΠ΅ΠΏΠ»Π΅Π½ΠΈΡ ΠΡΠΎΠΊΠ°ΡΠΊΠ° ΡΡΠ΅ΠΏΠ»Π΅Π½ΠΈΡ ΠΠΎΡΠΎΠ±ΠΊΠ° ΠΏΠ΅ΡΠ΅Π΄Π°Ρ ΠΠΎΠ»ΠΎΠΌΠΊΠΈ ΠΠΠ ΠΠ°ΠΌΠ΅Π½Π° ΠΌΠ°ΡΠ»Π° Π² ΠΠ Π‘Π°Π»ΡΠ½ΠΈΠΊΠΈ ΠΠ ΠΠΎΠ½ΡΠ°ΠΆ ΠΊΠΎΡΠΎΠ±ΠΊΠΈ ΠΏΠ΅ΡΠ΅Π΄Π°Ρ Π’ΡΠΎΡΠ° ΠΊΠΎΡΠΎΠ±ΠΊΠΈ ΠΏΠ΅ΡΠ΅Π΄Π°Ρ ΠΡΠ»ΠΈΡΠ° ΠΠΠ ΠΠ°ΡΡΡΠΎΠΉΠΊΠ° ΡΠΏΡΠ°Π²Π»Π΅Π½ΠΈΡ ΠΠΠ ΠΠ΅ΡΠ΅Π΄Π½ΠΈΠΉ ΠΏΡΠΈΠ²ΠΎΠ΄ ΠΠΎΠ»ΠΎΠΌΠΊΠΈ ΠΏΡΠΈΠ²ΠΎΠ΄Π° ΠΊΠΎΠ»ΡΡ ΠΠΎΠ½ΡΠ°ΠΆ ΠΏΠ΅ΡΠ΅Π΄Π½Π΅Π³ΠΎ ΠΏΡΠΈΠ²ΠΎΠ΄Π° Π¨Π Π£Π‘Ρ — ΡΠ°Π·Π±ΠΎΡΠΊΠ°, Π·Π°ΠΌΠ΅Π½Π° ΠΠΎΠ΄ΡΠΈΠΏΠ½ΠΈΠΊ ΠΏΡΠΎΠΌΠ΅ΠΆΡΡΠΎΡΠ½ΠΎΠΉ ΠΎΠΏΠΎΡΡ |
focusello.ru
ΠΠ° Π°Π²ΡΠΎΠΌΠΎΠ±ΠΈΠ»ΠΈ Ford Focus 2 Π² Π±Π°Π·ΠΎΠ²ΠΎΠΉ ΠΊΠΎΠΌΠΏΠ»Π΅ΠΊΡΠ°ΡΠΈΠΈ ΡΡΡΠ°Π½Π°Π²Π»ΠΈΠ²Π°ΡΡ ΠΌΠ΅Ρ Π°Π½ΠΈΡΠ΅ΡΠΊΡΡ ΠΊΠΎΡΠΎΠ±ΠΊΡ ΠΏΠ΅ΡΠ΅Π΄Π°Ρ ΡΠΈΠΏΠ° iB5, MTX-75 ΠΈΠ»ΠΈ ΠΠΠ’Π± (Π² Π·Π°Π²ΠΈΡΠΈΠΌΠΎΡΡΠΈ ΠΎΡ ΡΠΈΠΏΠ° ΠΏΡΠΈΠΌΠ΅Π½ΡΠ΅ΠΌΠΎΠ³ΠΎ Π΄Π²ΠΈΠ³Π°ΡΠ΅Π»Ρ). ΠΡΠ΅ ΠΌΠ΅Ρ Π°Π½ΠΈΡΠ΅ΡΠΊΠΈΠ΅ ΠΊΠΎΡΠΎΠ±ΠΊΠΈ ΠΏΠ΅ΡΠ΅Π΄Π°Ρ ΡΠ°Π·Π»ΠΈΡΠ°ΡΡΡΡ ΠΌΠ΅ΠΆΠ΄Ρ ΡΠΎΠ±ΠΎΠΉ ΠΏΠ΅ΡΠ΅Π΄Π°ΡΠΎΡΠ½ΡΠΌΠΈ ΡΠΈΡΠ»Π°ΠΌΠΈ ΠΈ ΠΊΠΎΠ½ΡΡΡΡΠΊΡΠΈΠ΅ΠΉ ΠΎΡΠ΄Π΅Π»ΡΠ½ΡΡ Π΄Π΅ΡΠ°Π»Π΅ΠΉ, Π½ΠΎ ΠΈΠΌΠ΅ΡΡ ΠΏΡΠΈΠ½ΡΠΈΠΏΠΈΠ°Π»ΡΠ½ΠΎ ΠΎΠ±ΡΡΡ ΠΊΠΎΠΌΠΏΠΎΠ½ΠΎΠ²ΠΊΡ (Ρ ΡΠ΅ΡΡΠΈΡΡΡΠΏΠ΅Π½ΡΠ°ΡΠΎΠΉ ΠΊΠΎΡΠΎΠ±ΠΊΠΈ ΠΠΠ’Π± Π΅ΡΡΡ ΠΎΡΠ»ΠΈΡΠΈΡ Π² ΠΊΠΎΠΌΠΏΠΎΠ½ΠΎΠ²ΠΊΠ΅ ΠΈΠ·-Π·Π° Π½Π°Π»ΠΈΡΠΈΡ VI ΠΏΠ΅ΡΠ΅Π΄Π°ΡΠΈ) ΠΈ ΡΡΡΠ°Π½ΠΎΠ²ΠΎΡΠ½ΡΠ΅ ΡΠ°Π·ΠΌΠ΅ΡΡ. ΠΠΎ Π·Π°ΠΊΠ°Π·Ρ Π½Π° Π°Π²ΡΠΎΠΌΠΎΠ±ΠΈΠ»ΠΈ Ρ Π΄Π²ΠΈΠ³Π°ΡΠ΅Π»ΡΠΌΠΈ ΡΠ°Π±ΠΎΡΠΈΠΌ ΠΎΠ±ΡΠ΅ΠΌΠΎΠΌ 1,6 ΠΈ 2,0 Π» ΠΌΠΎΠ³ΡΡ Π±ΡΡΡ ΡΡΡΠ°Π½ΠΎΠ²Π»Π΅Π½Ρ ΠΏΡΡΠΈΡΡΡΠΏΠ΅Π½ΡΠ°ΡΡΠ΅ Π°Π²ΡΠΎΠΌΠ°ΡΠΈΡΠ΅ΡΠΊΠΈΠ΅ ΠΊΠΎΡΠΎΠ±ΠΊΠΈ ΠΏΠ΅ΡΠ΅Π΄Π°Ρ, ΡΡΡΠ°Π½ΠΎΠ²ΠΎΡΠ½ΡΠ΅ ΡΠ°Π·ΠΌΠ΅ΡΡ ΠΊΠΎΡΠΎΡΡΡ Π°Π½Π°Π»ΠΎΠ³ΠΈΡΠ½ΡΠ΅ ΡΠ°Π·ΠΌΠ΅ΡΠ°ΠΌ ΠΌΠ΅Ρ Π°Π½ΠΈΡΠ΅ΡΠΊΠΈΡ ΠΊΠΎΡΠΎΠ±ΠΎΠΊ. Π ΡΠ²ΡΠ·ΠΈ Ρ ΡΡΠΈΠΌ Π² Π΄Π°Π½Π½ΠΎΠΌ ΡΠ°Π·Π΄Π΅Π»Π΅ ΡΠ½ΡΡΠΈΠ΅ ΠΈ ΡΡΡΠ°Π½ΠΎΠ²ΠΊΠ° ΠΎΠΏΠΈΡΠ°Π½Ρ Π½Π° ΠΏΡΠΈΠΌΠ΅ΡΠ΅ ΡΠΎΠ»ΡΠΊΠΎ ΠΌΠ΅Ρ Π°Π½ΠΈΡΠ΅ΡΠΊΠΎΠΉ ΠΊΠΎΡΠΎΠ±ΠΊΠΈ ΠΏΠ΅ΡΠ΅Π΄Π°Ρ iB5, ΠΡΡΠ°Π»ΡΠ½ΡΠ΅ ΠΊΠΎΡΠΎΠ±ΠΊΠΈ ΠΏΠ΅ΡΠ΅Π΄Π°Ρ ΡΠ½ΠΈΠΌΠ°ΡΡ ΠΈ ΡΡΡΠ°Π½Π°Π²Π»ΠΈΠ²Π°ΡΡ ΠΏΡΠ°ΠΊΡΠΈΡΠ΅ΡΠΊΠΈ Π°Π½Π°Π»ΠΎΠ³ΠΈΡΠ½ΠΎ.
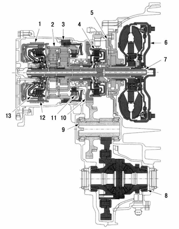
ΠΠ΅Ρ Π°Π½ΠΈΡΠ΅ΡΠΊΠ°Ρ ΠΊΠΎΡΠΎΠ±ΠΊΠ° ΠΏΠ΅ΡΠ΅Π΄Π°Ρ Π²ΡΠΏΠΎΠ»Π½Π΅Π½Π° ΠΏΠΎ Π΄Π²ΡΡ Π²Π°Π»ΡΠ½ΠΎΠΉ ΡΡ Π΅ΠΌΠ΅ Ρ ΠΏΡΡΡΡ (Ρ ΠΊΠΎΡΠΎΠ±ΠΊΠΈ ΠΏΠ΅ΡΠ΅Π΄Π°Ρ ΠΠΠ’Π± — Ρ ΡΠ΅ΡΡΡΡ) ΡΠΈΠ½Ρ ΡΠΎΠ½ΠΈΠ·ΠΈΡΠΎΠ²Π°Π½Π½ΡΠΌΠΈ ΠΏΠ΅ΡΠ΅Π΄Π°ΡΠ°ΠΌΠΈ ΠΏΠ΅ΡΠ΅Π΄Π½Π΅Π³ΠΎ Ρ ΠΎΠ΄Π°. ΠΠΎΡΠΎΠ±ΠΊΠ° ΠΏΠ΅ΡΠ΅Π΄Π°Ρ ΠΈ Π³Π»Π°Π²Π½Π°Ρ ΠΏΠ΅ΡΠ΅Π΄Π°ΡΠ° Ρ Π΄ΠΈΡΡΠ΅ΡΠ΅Π½ΡΠΈΠ°Π»ΠΎΠΌ ΠΈΠΌΠ΅ΡΡ ΠΎΠ±ΡΠΈΠΉ ΠΊΠ°ΡΡΠ΅Ρ 2 (ΡΠΈΡ. 6.4 ΠΈ 6.5). Π ΠΏΠ΅ΡΠ΅Π΄Π½Π΅ΠΉ ΡΠ°ΡΡΠΈ ΠΊΠ°ΡΡΠ΅ΡΠ° ΠΊΠΎΡΠΎΠ±ΠΊΠΈ ΠΏΠ΅ΡΠ΅Π΄Π°Ρ ΠΏΡΠΈΡΠΎΠ΅Π΄ΠΈΠ½Π΅Π½ ΠΊΠ°ΡΡΠ΅Ρ ΡΡΠ΅ΠΏΠ»Π΅Π½ΠΈΡ 6 (ΡΠΌ. ΡΠΈΡ. 6.4) ΠΈ 5 (ΡΠΌ. ΡΠΈΡ 6.5). ΠΠ° Π·Π°Π΄Π½ΡΡ ΡΠ°ΡΡΡ ΠΊΠ°ΡΡΠ΅ΡΠ° ΠΊΠΎΡΠΎΠ±ΠΊΠΈ ΠΏΠ΅ΡΠ΅Π΄Π°Ρ ΡΡΡΠ°Π½ΠΎΠ²Π»Π΅Π½Π° ΡΡΠ°Π»ΡΠ½Π°Ρ ΡΡΠ°ΠΌΠΏΠΎΠ²Π°Π½Π½Π°Ρ ΠΊΡΡΡΠΊΠ° 1 (ΡΠΌ. ΡΠΈΡ. 6.4 ΠΈ 6.5).
Π ΠΈΡ. 6.4. ΠΠ΅Ρ Π°Π½ΠΈΡΠ΅ΡΠΊΠ°Ρ ΠΊΠΎΡΠΎΠ±ΠΊΠ° ΠΏΠ΅ΡΠ΅Π΄Π°Ρ (ΠΊΠΎΠΆΡΡ ΠΌΠ΅Ρ Π°Π½ΠΈΠ·ΠΌΠ° ΠΏΠ΅ΡΠ΅ΠΊΠ»ΡΡΠ΅Π½ΠΈΡ ΠΏΠ΅ΡΠ΅Π΄Π°Ρ ΡΠ½ΡΡ Π΄Π»Ρ Π½Π°Π³Π»ΡΠ΄Π½ΠΎΡΡΠΈ):

ΠΠ° ΠΏΠ΅ΡΠ²ΠΈΡΠ½ΠΎΠΌ Π²Π°Π»Ρ 7 (ΡΠΌ. ΡΠΈΡ. 6.5) ΡΠ°ΡΠΏΠΎΠ»ΠΎΠΆΠ΅Π½Π° Π·Π°ΡΠΈΠΊΡΠΈΡΠΎΠ²Π°Π½Π½Π°Ρ Π½Π° ΡΠ»ΠΈΡΠ°Ρ Π²Π°Π»Π° ΡΠ΅ΡΡΠ΅ΡΠ½Ρ V ΠΏΠ΅ΡΠ΅Π΄Π°ΡΠΈ Ρ ΡΠΈΠ½Ρ ΡΠΎΠ½ΠΈΠ·Π°ΡΠΎΡΠΎΠΌ, Π° Π²Π΅Π΄ΡΡΠΈΠ΅ ΡΠ΅ΡΡΠ΅ΡΠ½ΠΈ I, II, III ΠΈ IV ΠΏΠ΅ΡΠ΅Π΄Π°Ρ ΠΈΠ·Π³ΠΎΡΠΎΠ²Π»Π΅Π½Ρ Π·Π° ΠΎΠ΄Π½ΠΎ ΡΠ΅Π»ΠΎΠ΅ Ρ ΠΏΠ΅ΡΠ²ΠΈΡΠ½ΡΠΌ Π²Π°Π»ΠΎΠΌ.
ΠΡΠΎΡΠΈΡΠ½ΡΠΉ Π²Π°Π» 8 ΠΈΠ·Π³ΠΎΡΠΎΠ²Π»Π΅Π½ Π²ΠΌΠ΅ΡΡΠ΅ Ρ Π²Π΅Π΄ΡΡΠ΅ΠΉ ΡΠ΅ΡΡΠ΅ΡΠ½Π΅ΠΉ Π³Π»Π°Π²Π½ΠΎΠΉ ΠΏΠ΅ΡΠ΅Π΄Π°ΡΠΈ 9. ΠΡΠΎΠΌΠ΅ ΡΡΠΎΠ³ΠΎ Π½Π° Π²Π°Π»Ρ ΡΡΡΠ°Π½ΠΎΠ²Π»Π΅Π½Ρ ΡΠ²ΠΎΠ±ΠΎΠ΄Π½ΠΎ Π²ΡΠ°ΡΠ°ΡΡΠΈΠ΅ΡΡ Π½Π° ΠΏΠΎΠ΄ΡΠΈΠΏΠ½ΠΈΠΊΠ°Ρ ΡΠΊΠΎΠ»ΡΠΆΠ΅Π½ΠΈΡ Π²Π΅Π΄ΠΎΠΌΡΠ΅ ΡΠ΅ΡΡΠ΅ΡΠ½ΠΈ I, II, III, IV ΠΈ V ΠΏΠ΅ΡΠ΅Π΄Π°Ρ.
ΠΠ΅ΡΠ΅Π΄Π°ΡΠΈ ΠΏΠ΅ΡΠ΅Π΄Π½Π΅Π³ΠΎ Ρ ΠΎΠ΄Π° Π²ΠΊΠ»ΡΡΠ°ΡΡΡΡ ΠΎΡΠ΅Π²ΡΠΌ ΠΏΠ΅ΡΠ΅ΠΌΠ΅ΡΠ΅Π½ΠΈΠ΅ΠΌ ΠΌΡΡΡ Π΄Π²ΡΡ ΡΠΈΠ½Ρ ΡΠΎΠ½ΠΈΠ·Π°ΡΠΎΡΠΎΠ² HI ΠΈ HHV ΠΏΠ΅ΡΠ΅Π΄Π°Ρ ΠΈ ΠΌΡΡΡΡ ΡΠΈΠ½Ρ ΡΠΎΠ½ΠΈΠ·Π°ΡΠΎΡΠ° V ΠΏΠ΅ΡΠ΅Π΄Π°ΡΠΈ, ΡΡΡΠ°Π½ΠΎΠ²Π»Π΅Π½Π½ΡΡ Π½Π° Π²ΡΠΎΡΠΈΡΠ½ΠΎΠΌ Π²Π°Π»Ρ. ΠΠ΅Ρ Π°Π½ΠΈΠ·ΠΌ ΠΏΠ΅ΡΠ΅ΠΊΠ»ΡΡΠ΅Π½ΠΈΡ ΠΏΠ΅ΡΠ΅Π΄Π°Ρ ΡΠ°ΡΠΏΠΎΠ»ΠΎΠΆΠ΅Π½ Π²Π½ΡΡΡΠΈ ΠΊΠ°ΡΡΠ΅ΡΠ° ΠΊΠΎΡΠΎΠ±ΠΊΠΈ ΠΏΠ΅ΡΠ΅Π΄Π°Ρ Ρ Π΅Π³ΠΎ Π»Π΅Π²ΠΎΠΉ ΡΡΠΎΡΠΎΠ½Ρ. Π‘Π½Π°ΡΡΠΆΠΈ Π½Π°Ρ ΠΎΠ΄ΡΡΡΡ Π΄Π²Π° ΡΡΡΠ°Π³Π° ΠΌΠ΅Ρ Π°Π½ΠΈΠ·ΠΌΠ°: ΡΡΡΠ°Π³ 3 (ΡΠΌ. ΡΠΈΡ. 6.4) Π²ΡΠ±ΠΎΡΠ° ΠΏΠ΅ΡΠ΅Π΄Π°ΡΠΈ ΠΈ ΡΡΡΠ°Π³ 10 ΠΏΠ΅ΡΠ΅ΠΊΠ»ΡΡΠ΅Π½ΠΈΡ.
ΠΡΠΈΠ²ΠΎΠ΄ ΡΠΏΡΠ°Π²Π»Π΅Π½ΠΈΡ ΠΌΠ΅Ρ Π°Π½ΠΈΡΠ΅ΡΠΊΠΎΠΉ ΠΊΠΎΡΠΎΠ±ΠΊΠΎΠΉ ΠΏΠ΅ΡΠ΅Π΄Π°Ρ ΡΠΎΡΡΠΎΠΈΡ ΠΈΠ· ΠΊΡΠ»ΠΈΡΡ ΡΡΡΠ°Π³Π° ΠΏΠ΅ΡΠ΅ΠΊΠ»ΡΡΠ΅Π½ΠΈΡ ΠΏΠ΅ΡΠ΅Π΄Π°Ρ Ρ ΡΠ°ΡΠΎΠ²ΠΎΠΉ ΠΎΠΏΠΎΡΠΎΠΉ, ΡΡΡΠ°Π½ΠΎΠ²Π»Π΅Π½Π½ΠΎΠΉ Π½Π° ΠΎΡΠ½ΠΎΠ²Π°Π½ΠΈΠΈ ΠΊΡΠ·ΠΎΠ²Π°, Π΄Π²ΡΡ ΡΡΠΎΡΠΎΠ² ΠΏΠ΅ΡΠ΅ΠΊΠ»ΡΡΠ΅Π½ΠΈΡ ΠΈ Π²ΡΠ±ΠΎΡΠ° ΠΏΠ΅ΡΠ΅Π΄Π°Ρ, Π° ΡΠ°ΠΊΠΆΠ΅ ΠΌΠ΅Ρ Π°Π½ΠΈΠ·ΠΌΠ°, ΡΡΡΠ°Π½ΠΎΠ²Π»Π΅Π½Π½ΠΎΠ³ΠΎ Π² ΠΊΠ°ΡΡΠ΅ΡΠ΅ ΠΊΠΎΡΠΎΠ±ΠΊΠΈ ΠΏΠ΅ΡΠ΅Π΄Π°Ρ ΠΠ»Ρ ΠΎΠ±Π΅ΡΠΏΠ΅ΡΠ΅Π½ΠΈΡ ΡΠ΅ΡΠΊΠΎΠ³ΠΎ Π²ΠΊΠ»ΡΡΠ΅Π½ΠΈΡ ΠΏΠ΅ΡΠ΅Π΄Π°Ρ ΡΡΡΠ°Π³ 10 ΠΏΠ΅ΡΠ΅ΠΊΠ»ΡΡΠ΅Π½ΠΈΡ ΠΏΠ΅ΡΠ΅Π΄Π°Ρ ΠΌΠ΅Ρ Π°Π½ΠΈΠ·ΠΌΠ° ΠΏΠ΅ΡΠ΅ΠΊΠ»ΡΡΠ΅Π½ΠΈΡ ΠΈΠ·Π³ΠΎΡΠΎΠ²Π»Π΅Π½ Π·Π° ΠΎΠ΄Π½ΠΎ ΡΠ΅Π»ΠΎΠ΅ Ρ ΠΌΠ°ΡΡΠΈΠ²Π½ΡΠΌ ΠΏΡΠΎΡΠΈΠ²ΠΎΠ²Π΅ΡΠΎΠΌ. Π’ΡΠΎΡΡ Π²ΡΠ±ΠΎΡΠ° ΠΈ ΠΏΠ΅ΡΠ΅ΠΊΠ»ΡΡΠ΅Π½ΠΈΡ ΠΏΠ΅ΡΠ΅Π΄Π°Ρ ΠΊΠΎΠ½ΡΡΡΡΠΊΡΠΈΠ²Π½ΠΎ ΠΎΡΠ»ΠΈΡΠ°ΡΡΡΡ Π΄ΡΡΠ³ ΠΎΡ Π΄ΡΡΠ³Π° ΠΈ Π½Π΅Π²Π·Π°ΠΈΠΌΠΎΠ·Π°ΠΌΠ΅Π½ΡΠ΅ΠΌΡ.
ΠΠ»Π°Π²Π½Π°Ρ ΠΏΠ΅ΡΠ΅Π΄Π°ΡΠ° Π²ΡΠΏΠΎΠ»Π½Π΅Π½Π° Π² Π²ΠΈΠ΄Π΅ ΠΏΠ°ΡΡ ΡΠΈΠ»ΠΈΠ½Π΄ΡΠΈΡΠ΅ΡΠΊΠΈΡ ΡΠ΅ΡΡΠ΅ΡΠ΅Π½, ΠΏΠΎΠ΄ΠΎΠ±ΡΠ°Π½Π½ΡΡ ΠΏΠΎ ΡΡΠΌΡ. ΠΡΡΡΡΡΠΈΠΉ ΠΌΠΎΠΌΠ΅Π½Ρ ΠΏΠ΅ΡΠ΅Π΄Π°Π΅ΡΡΡ ΠΎΡ Π²Π΅Π΄ΠΎΠΌΠΎΠΉ ΡΠ΅ΡΡΠ΅ΡΠ½ΠΈ Π³Π»Π°Π²Π½ΠΎΠΉ ΠΏΠ΅ΡΠ΅Π΄Π°ΡΠΈ Π½Π° Π΄ΠΈΡΡΠ΅ΡΠ΅Π½ΡΠΈΠ°Π» ΠΈ Π΄Π°Π»Π΅Π΅ Π½Π° ΠΏΡΠΈΠ²ΠΎΠ΄Ρ ΠΏΠ΅ΡΠ΅Π΄Π½ΠΈΡ ΠΊΠΎΠ»Π΅Ρ.
ΠΠΈΡΡΠ΅ΡΠ΅Π½ΡΠΈΠ°Π» ΠΊΠΎΠ½ΠΈΡΠ΅ΡΠΊΠΈΠΉ, Π΄Π²ΡΡ ΡΠ°ΡΠ΅Π»Π»ΠΈΡΠ½ΡΠΉ. ΠΠ΅ΡΠΌΠ΅ΡΠΈΡΠ½ΠΎΡΡΡ ΡΠΎΠ΅Π΄ΠΈΠ½Π΅Π½ΠΈΡ Π²Π½ΡΡΡΠ΅Π½Π½ΠΈΡ ΡΠ°ΡΠ½ΠΈΡΠΎΠ² ΠΏΡΠΈΠ²ΠΎΠ΄ΠΎΠ² ΠΏΠ΅ΡΠ΅Π΄Π½ΠΈΡ ΠΊΠΎΠ»Π΅Ρ Ρ ΡΠ΅ΡΡΠ΅ΡΠ½ΡΠΌΠΈ Π΄ΠΈΡΡΠ΅ΡΠ΅Π½ΡΠΈΠ°Π»Π° ΠΎΠ±Π΅ΡΠΏΠ΅ΡΠΈΠ²Π°Π΅ΡΡΡ ΡΠ°Π»ΡΠ½ΠΈΠΊΠ°ΠΌΠΈ 12.
Π ΠΈΡ. 6.5. ΠΡΠΈΠ½ΡΠΈΠΏΠΈΠ°Π»ΡΠ½Π°Ρ ΡΡ Π΅ΠΌΠ° ΠΏΡΡΠΈΡΡΡΠΏΠ΅Π½ΡΠ°ΡΠΎΠΉ ΠΌΠ΅Ρ Π°Π½ΠΈΡΠ΅ΡΠΊΠΎΠΉ ΠΊΠΎΡΠΎΠ±ΠΊΠΈ ΠΏΠ΅ΡΠ΅Π΄Π°Ρ: 1 — Π·Π°Π΄Π½ΡΡ ΠΊΡΡΡΠΊΠ° ΠΊΠ°ΡΡΠ΅ΡΠ° ΠΊΠΎΡΠΎΠ±ΠΊΠΈ ΠΏΠ΅ΡΠ΅Π΄Π°Ρ: 2 — ΠΊΠ°ΡΡΠ΅Ρ ΠΊΠΎΡΠΎΠ±ΠΊΠΈ ΠΏΠ΅ΡΠ΅Π΄Π°Ρ: 3 — ΡΠ°ΠΏΡΠ½: 4 — ΡΠ°Π±ΠΎΡΠΈΠΉ ΡΠΈΠ»ΠΈΠ½Π΄Ρ Π³ΠΈΠ΄ΡΠΎΠΏΡΠΈΠ²ΠΎΠ΄Π° Π²ΡΠΊΠ»ΡΡΠ΅Π½ΠΈΡ ΡΡΠ΅ΠΏΠ»Π΅Π½ΠΈΡ: 5 — ΠΊΠ°ΡΡΠ΅Ρ ΡΡΠ΅ΠΏΠ»Π΅Π½ΠΈΡ; 6 — ΠΏΠΎΠ΄ΡΠΈΠΏΠ½ΠΈΠΊ Π²ΡΠΊΠ»ΡΡΠ΅Π½ΠΈΡ ΡΡΠ΅ΠΏΠ»Π΅Π½ΠΈΡ; 7 — ΠΏΠ΅ΡΠ²ΠΈΡΠ½ΡΠΉ Π²Π°Π»: Π — Π²ΡΠΎΡΠΈΡΠ½ΡΠΉ Π²Π°Π»; 9 — Π³Π»Π°Π²Π½Π°Ρ ΠΏΠ΅ΡΠ΅Π΄Π°ΡΠ° ΠΈ Π΄ΠΈΡΡΠ΅ΡΠ΅Π½ΡΠΈΠ°Π»

ΠΠ²ΡΠΎΠΌΠ°ΡΠΈΡΠ΅ΡΠΊΠ°Ρ ΠΊΠΎΡΠΎΠ±ΠΊΠ° ΠΏΠ΅ΡΠ΅Π΄Π°Ρ Ρ Π°Π΄Π°ΠΏΡΠΈΠ²Π½ΠΎΠΉ ΡΠΈΡΡΠ΅ΠΌΠΎΠΉ ΡΠΏΡΠ°Π²Π»Π΅Π½ΠΈΡ ΠΎΠ±Π΅ΡΠΏΠ΅ΡΠΈΠ²Π°Π΅Ρ Π²ΡΠ±ΠΎΡ ΠΎΠΏΡΠΈΠΌΠ°Π»ΡΠ½ΠΎΠ³ΠΎ ΡΠ΅ΠΆΠΈΠΌΠ° ΠΏΠ΅ΡΠ΅ΠΊΠ»ΡΡΠ΅Π½ΠΈΡ ΠΏΠ΅ΡΠ΅Π΄Π°Ρ ΠΏΡΠ°ΠΊΡΠΈΡΠ΅ΡΠΊΠΈ Π΄Π»Ρ Π»ΡΠ±ΡΡ ΡΡΠΈΠ»Π΅ΠΉ Π²ΠΎΠΆΠ΄Π΅Π½ΠΈΡ ΠΈ Π΄ΠΎΡΠΎΠΆΠ½ΡΡ ΡΡΠ»ΠΎΠ²ΠΈΠΉ. ΠΠ²ΡΠΎΠΌΠ°ΡΠΈΡΠ΅ΡΠΊΠΈΠ΅ ΠΊΠΎΡΠΎΠ±ΠΊΠΈ ΠΏΠ΅ΡΠ΅Π΄Π°Ρ, ΡΡΡΠ°Π½Π°Π²Π»ΠΈΠ²Π°Π΅ΠΌΡΠ΅ Ρ Π΄Π²ΠΈΠ³Π°ΡΠ΅Π»ΡΠΌΠΈ ΡΠ°Π±ΠΎΡΠΈΠΌ ΠΎΠ±ΡΠ΅ΠΌΠΎΠΌ 1,6 ΠΈ 2,0 Π», ΠΎΠ΄ΠΈΠ½Π°ΠΊΠΎΠ²Ρ ΠΏΠΎ ΠΊΠΎΠ½ΡΡΡΡΠΊΡΠΈΠΈ ΠΈ ΡΠ°Π·Π»ΠΈΡΠ°ΡΡΡΡ ΡΠΎΠ»ΡΠΊΠΎ ΠΏΠ΅ΡΠ΅Π΄Π°ΡΠΎΡΠ½ΡΠΌΠΈ ΡΠΈΡΠ»Π°ΠΌΠΈ.
ΠΠ²ΡΠΎΠΌΠ°ΡΠΈΡΠ΅ΡΠΊΠ°Ρ ΠΊΠΎΡΠΎΠ±ΠΊΠ° ΠΏΠ΅ΡΠ΅Π΄Π°Ρ ΡΠΊΠΎΠΌΠΏΠΎΠ½ΠΎΠ²Π°Π½Π° ΠΏΠΎ ΡΡΠ°Π΄ΠΈΡΠΈΠΎΠ½Π½ΠΎΠΉ ΠΏΠ»Π°Π½Π΅ΡΠ°ΡΠ½ΠΎΠΉ ΡΡ Π΅ΠΌΠ΅ Ρ ΡΠΎΡΠΌΠΎΠΆΠ΅Π½ΠΈΠ΅ΠΌ ΡΡΠΈΠΊΡΠΈΠΎΠ½Π°ΠΌΠΈ ΠΈ ΡΠΎΠ΅Π΄ΠΈΠ½Π΅Π½Π° Ρ ΠΊΠΎΠ»Π΅Π½ΡΠ°ΡΡΠΌ Π²Π°Π»ΠΎΠΌ Π΄Π²ΠΈΠ³Π°ΡΠ΅Π»Ρ ΡΠ΅ΡΠ΅Π· Π³ΠΈΠ΄ΡΠΎΡΡΠ°Π½ΡΡΠΎΡΠΌΠ°ΡΠΎΡ. ΠΡΠΎΠ±Π΅Π½Π½ΠΎΡΡΡΡ ΠΊΠΎΡΠΎΠ±ΠΊΠΈ Π°Π²ΡΠΎΠΌΠΎΠ±ΠΈΠ»Π΅ΠΉ Ford Focus II ΠΏΠΎ ΡΡΠ°Π²Π½Π΅Π½ΠΈΡ Ρ Π°Π²ΡΠΎΠΌΠ°ΡΠΈΡΠ΅ΡΠΊΠΈΠΌΠΈ ΠΊΠΎΡΠΎΠ±ΠΊΠ°ΠΌΠΈ ΠΏΠ΅ΡΠ΅Π΄Π°Ρ ΠΏΡΠ΅Π΄ΡΠ΄ΡΡΠΈΡ ΠΏΠΎΠΊΠΎΠ»Π΅Π½ΠΈΠΉ ΡΠ²Π»ΡΠ΅ΡΡΡ Π²ΠΎΠ·ΠΌΠΎΠΆΠ½ΠΎΡΡΡ ΠΏΠ΅ΡΠ΅Ρ ΠΎΠ΄Π° ΠΈΠ· ΠΏΠΎΠ»Π½ΠΎΡΡΡΡ Π°Π²ΡΠΎΠΌΠ°ΡΠΈΡΠ΅ΡΠΊΠΎΠ³ΠΎ ΡΠ΅ΠΆΠΈΠΌΠ° ΡΠΏΡΠ°Π²Π»Π΅Π½ΠΈΡ Π² ΡΡΡΠ½ΠΎΠΉ ΡΠ΅ΠΆΠΈΠΌ (ΡΠ°ΠΊ Π½Π°Π·ΡΠ²Π°Π΅ΠΌΠ°Ρ ΡΠ΅ΠΊΠ²Π΅Π½ΡΠ°Π»ΡΠ½Π°Ρ ΠΊΠΎΡΠΎΠ±ΠΊΠ° ΠΏΠ΅ΡΠ΅Π΄Π°Ρ), ΠΏΡΠΈ ΠΊΠΎΡΠΎΡΠΎΠΌ Π²ΠΎΠ΄ΠΈΡΠ΅Π»Ρ Π²ΠΎ Π²ΡΠ΅ΠΌΡ ΡΠ°Π·Π³ΠΎΠ½Π° Π°Π²ΡΠΎΠΌΠΎΠ±ΠΈΠ»Ρ ΡΠ°ΠΌΠΎΡΡΠΎΡΡΠ΅Π»ΡΠ½ΠΎ Π²ΡΠ±ΠΈΡΠ°Π΅Ρ ΠΌΠΎΠΌΠ΅Π½Ρ ΠΏΠ΅ΡΠ΅ΠΊΠ»ΡΡΠ΅Π½ΠΈΡ Π½Π° ΠΏΠΎΠ²ΡΡΠ°ΡΡΡΡ ΠΏΠ΅ΡΠ΅Π΄Π°ΡΡ. ΠΡΠΎ ΠΏΠΎΠ·Π²ΠΎΠ»ΡΠ΅Ρ ΠΏΡΠΈ ΠΆΠ΅Π»Π°Π½ΠΈΠΈ Π΄ΠΎΠ±ΠΈΡΡΡΡ Π±ΠΎΠ»Π΅Π΅ ΠΈΠ½ΡΠ΅Π½ΡΠΈΠ²Π½ΠΎΠ³ΠΎ ΡΠ°Π·Π³ΠΎΠ½Π° ΠΏΠΎ ΡΡΠ°Π²Π½Π΅Π½ΠΈΡ Ρ Π°Π²ΡΠΎΠΌΠ°ΡΠΈΡΠ΅ΡΠΊΠΈΠΌ ΡΠ΅ΠΆΠΈΠΌΠΎΠΌ, ΠΈΡΠΊΡΡΡΡΠ²Π΅Π½Π½ΠΎ Π·Π°Π΄Π΅ΡΠΆΠΈΠ²Π°Ρ ΠΏΠ΅ΡΠ΅ΠΊΠ»ΡΡΠ΅Π½ΠΈΠ΅ Π½Π° ΠΏΠΎΠ²ΡΡΠ°ΡΡΡΡ ΠΏΠ΅ΡΠ΅Π΄Π°ΡΡ, ΡΡΠΎ ΠΏΠΎΠ·Π²ΠΎΠ»ΡΠ΅Ρ Π΄ΠΎΠ²Π΅ΡΡΠΈ ΡΠ°ΡΡΠΎΡΡ Π²ΡΠ°ΡΠ΅Π½ΠΈΡ ΠΊΠΎΠ»Π΅Π½ΡΠ°ΡΠΎΠ³ΠΎ Π²Π°Π»Π° Π΄Π²ΠΈΠ³Π°ΡΠ΅Π»Ρ Π΄ΠΎ Π΄ΠΈΠ°ΠΏΠ°Π·ΠΎΠ½Π° Π½Π°ΠΈΠ±ΠΎΠ»ΡΡΠ΅Π³ΠΎ ΠΊΡΡΡΡΡΠ΅Π³ΠΎ ΠΌΠΎΠΌΠ΅Π½ΡΠ°. Π ΡΠΎ ΠΆΠ΅ Π²ΡΠ΅ΠΌΡ ΡΠ»Π΅ΠΊΡΡΠΎΠ½Π½Π°Ρ ΡΠΈΡΡΠ΅ΠΌΠ° ΡΠΏΡΠ°Π²Π»Π΅Π½ΠΈΡ ΠΏΠΎΡΡΠΎΡΠ½Π½ΠΎ ΠΊΠΎΠ½ΡΡΠΎΠ»ΠΈΡΡΠ΅Ρ ΡΠΊΠΎΡΠΎΡΡΡ Π°Π²ΡΠΎΠΌΠΎΠ±ΠΈΠ»Ρ ΠΈ Π½Π°Π³ΡΡΠ·ΠΊΡ Π΄Π²ΠΈΠ³Π°ΡΠ΅Π»Ρ, ΠΈΡΠΊΠ»ΡΡΠ°Π΅Ρ ΠΎΡΠΈΠ±ΠΊΠΈ Π²ΠΎΠ΄ΠΈΡΠ΅Π»Ρ, Π½Π΅ ΠΏΠΎΠ·Π²ΠΎΠ»ΡΡ Π΅ΠΌΡ Π²ΠΊΠ»ΡΡΠΈΡΡ Π±ΠΎΠ»Π΅Π΅ Π²ΡΡΠΎΠΊΡΡ ΠΏΠ΅ΡΠ΅Π΄Π°ΡΡ ΠΏΡΠΈ ΠΌΠ°Π»ΠΎΠΉ ΡΠΊΠΎΡΠΎΡΡΠΈ Π΄Π²ΠΈΠΆΠ΅Π½ΠΈΡ, ΡΡΠΎΠ±Ρ ΠΈΠ·Π±Π΅ΠΆΠ°ΡΡ ΠΏΠ΅ΡΠ΅Π³ΡΡΠ·ΠΊΠΈ Π΄Π²ΠΈΠ³Π°ΡΠ΅Π»Ρ, Π° ΡΠ°ΠΊΠΆΠ΅ Π½Π΅ ΠΏΠΎΠ·Π²ΠΎΠ»ΡΡ Π²ΠΊΠ»ΡΡΠΈΡΡ ΠΏΠΎΠ½ΠΈΠΆΠ°ΡΡΡΡ ΠΏΠ΅ΡΠ΅Π΄Π°ΡΡ Π½Π° ΡΠ»ΠΈΡΠΊΠΎΠΌ Π±ΠΎΠ»ΡΡΠΎΠΉ ΡΠΊΠΎΡΠΎΡΡΠΈ, ΡΡΠΎ ΠΈΡΠΊΠ»ΡΡΠ°Π΅Ρ Π²ΠΎΠ·ΠΌΠΎΠΆΠ½ΠΎΡΡΡ ΠΏΡΠ΅Π²ΡΡΠ΅Π½ΠΈΡ ΠΌΠ°ΠΊΡΠΈΠΌΠ°Π»ΡΠ½ΠΎ Π΄ΠΎΠΏΡΡΡΠΈΠΌΠΎΠΉ ΡΠ°ΡΡΠΎΡΡ Π²ΡΠ°ΡΠ΅Π½ΠΈΡ ΠΊΠΎΠ»Π΅Π½ΡΠ°ΡΠΎΠ³ΠΎ Π²Π°Π»Π° Π΄Π²ΠΈΠ³Π°ΡΠ΅Π»Ρ. ΠΡΠΈ ΡΠ½ΠΈΠΆΠ΅Π½ΠΈΠΈ ΡΠΊΠΎΡΠΎΡΡΠΈ Π°Π²ΡΠΎΠΌΠΎΠ±ΠΈΠ»Ρ ΠΏΠ΅ΡΠ΅Π΄Π°ΡΠΈ Π°Π²ΡΠΎΠΌΠ°ΡΠΈΡΠ΅ΡΠΊΠΈ ΠΏΠ΅ΡΠ΅ΠΊΠ»ΡΡΠ°ΡΡΡΡ Π½Π° Π±ΠΎΠ»Π΅Π΅ Π½ΠΈΠ·ΠΊΠΈΠ΅ Π±Π΅Π· ΡΡΠ°ΡΡΠΈΡ Π²ΠΎΠ΄ΠΈΡΠ΅Π»Ρ. Π ΠΌΠΎΠΌΠ΅Π½Ρ ΠΏΠΎΠ»Π½ΠΎΠΉ ΠΎΡΡΠ°Π½ΠΎΠ²ΠΊΠΈ Π°Π²ΡΠΎΠΌΠΎΠ±ΠΈΠ»Ρ Π°Π²ΡΠΎΠΌΠ°ΡΠΈΡΠ΅ΡΠΊΠΈ Π²ΠΊΠ»ΡΡΠ°Π΅ΡΡΡ I ΠΏΠ΅ΡΠ΅Π΄Π°ΡΠ°.
ΠΡΠΈΠ²ΠΎΠ΄ ΡΠΏΡΠ°Π²Π»Π΅Π½ΠΈΡ Π°Π²ΡΠΎΠΌΠ°ΡΠΈΡΠ΅ΡΠΊΠΎΠΉ ΠΊΠΎΡΠΎΠ±ΠΊΠΎΠΉ ΠΏΠ΅ΡΠ΅Π΄Π°Ρ ΡΡΠΎΡΠΎΠ²ΡΠΉ, ΡΠΊΠΎΠ½ΡΡΡΡΠΈΡΠΎΠ²Π°Π½ ΠΏΠΎ ΡΠΎΠΌΡ ΠΆΠ΅ ΠΏΡΠΈΠ½ΡΠΈΠΏΡ, ΡΡΠΎ ΠΈ ΠΏΡΠΈΠ²ΠΎΠ΄ ΡΠΏΡΠ°Π²Π»Π΅Π½ΠΈΡ ΠΌΠ΅Ρ Π°Π½ΠΈΡΠ΅ΡΠΊΠΎΠΉ ΠΊΠΎΡΠΎΠ±ΠΊΠΎΠΉ, Π½ΠΎ ΠΎΡΠ»ΠΈΡΠ°Π΅ΡΡΡ ΠΎΡ Π½Π΅Π³ΠΎ ΠΊΠΎΠ»ΠΈΡΠ΅ΡΡΠ²ΠΎΠΌ ΠΈ ΠΊΠΎΠ½ΡΡΡΡΠΊΡΠΈΠ΅ΠΉ Π΄Π΅ΡΠ°Π»Π΅ΠΉ. Π‘Π΅Π»Π΅ΠΊΡΠΎΡ Π°Π²ΡΠΎΠΌΠ°ΡΠΈΡΠ΅ΡΠΊΠΎΠΉ ΠΊΠΎΡΠΎΠ±ΠΊΠΈ ΠΏΠ΅ΡΠ΅Π΄Π°Ρ ΡΡΡΠ°Π½ΠΎΠ²Π»Π΅Π½ Π½Π° ΡΠΎΠΌ ΠΆΠ΅ ΠΌΠ΅ΡΡΠ΅ Π½Π° ΡΠΎΠ½Π½Π΅Π»Π΅ ΠΏΠΎΠ»Π°, ΡΡΠΎ ΠΈ ΡΡΡΠ°Π³ ΡΠΏΡΠ°Π²Π»Π΅Π½ΠΈΡ ΠΌΠ΅Ρ Π°Π½ΠΈΡΠ΅ΡΠΊΠΎΠΉ ΠΊΠΎΡΠΎΠ±ΠΊΠΎΠΉ, ΠΈ ΡΠΎΠ΅Π΄ΠΈΠ½Π΅Π½ Ρ Π±Π»ΠΎΠΊΠΎΠΌ ΡΠΏΡΠ°Π²Π»Π΅Π½ΠΈΡ Π½Π° ΠΊΠΎΡΠΎΠ±ΠΊΠ΅ ΠΏΠ΅ΡΠ΅Π΄Π°Ρ ΡΡΠΎΡΠΎΠΌ ΡΠΏΡΠ°Π²Π»Π΅Π½ΠΈΡ.
ΠΠΈΡΡΠ΅ΡΠ΅Π½ΡΠΈΠ°Π» Π°Π²ΡΠΎΠΌΠ°ΡΠΈΡΠ΅ΡΠΊΠΎΠΉ ΠΊΠΎΡΠΎΠ±ΠΊΠΈ ΠΏΠ΅ΡΠ΅Π΄Π°Ρ ΠΏΠΎ ΠΊΠΎΠ½ΡΡΡΡΠΊΡΠΈΠΈ ΠΏΠΎΠ»Π½ΠΎΡΡΡΡ Π°Π½Π°Π»ΠΎΠ³ΠΈΡΠ΅Π½ Π΄ΠΈΡΡΠ΅ΡΠ΅Π½ΡΠΈΠ°Π»Ρ ΠΌΠ΅Ρ Π°Π½ΠΈΡΠ΅ΡΠΊΠΎΠΉ ΠΊΠΎΡΠΎΠ±ΠΊΠΈ ΠΏΠ΅ΡΠ΅Π΄Π°Ρ.
ΠΠ»Ρ ΡΠ΅ΠΌΠΎΠ½ΡΠ° ΠΊΠΎΡΠΎΠ±ΠΊΠΈ ΠΏΠ΅ΡΠ΅Π΄Π°Ρ, ΠΎΡΠΎΠ±Π΅Π½Π½ΠΎ Π°Π²ΡΠΎΠΌΠ°ΡΠΈΡΠ΅ΡΠΊΠΎΠΉ ΠΊΠΎΡΠΎΠ±ΠΊΠΈ, ΡΡΠ΅Π±ΡΠ΅ΡΡΡ Π±ΠΎΠ»ΡΡΠΎΠΉ Π½Π°Π±ΠΎΡ ΡΠΏΠ΅ΡΠΈΠ°Π»ΡΠ½ΠΎΠ³ΠΎ ΠΈΠ½ΡΡΡΡΠΌΠ΅Π½ΡΠ° ΠΈ ΡΠΎΠΎΡΠ²Π΅ΡΡΡΠ²ΡΡΡΠ°Ρ ΠΏΠΎΠ΄Π³ΠΎΡΠΎΠ²ΠΊΠ° ΠΈΡΠΏΠΎΠ»Π½ΠΈΡΠ΅Π»Ρ, ΠΏΠΎΡΡΠΎΠΌΡ Π² Π΄Π°Π½Π½ΠΎΠΌ ΡΠ°Π·Π΄Π΅Π»Π΅ ΡΠ°ΡΡΠΌΠΎΡΡΠ΅Π½Ρ ΡΠΎΠ»ΡΠΊΠΎ ΡΠ½ΡΡΠΈΠ΅ ΠΈ ΡΡΡΠ°Π½ΠΎΠ²ΠΊΠ° ΠΊΠΎΡΠΎΠ±ΠΊΠΈ ΠΏΠ΅ΡΠ΅Π΄Π°Ρ, Π·Π°ΠΌΠ΅Π½Π° Π΅Π΅ ΡΠΏΠ»ΠΎΡΠ½Π΅Π½ΠΈΠΉ, ΡΠ΅ΠΌΠΎΠ½Ρ ΠΏΡΠΈΠ²ΠΎΠ΄Π°. Π ΡΠ»ΡΡΠ°Π΅ Π½Π΅ΠΎΠ±Ρ ΠΎΠ΄ΠΈΠΌΠΎΡΡΠΈ Π²ΡΠΏΠΎΠ»Π½ΡΠΉΡΠ΅ ΡΠ΅ΠΌΠΎΠ½Ρ ΠΊΠΎΡΠΎΠ±ΠΊΠΈ ΠΏΠ΅ΡΠ΅Π΄Π°Ρ Π½Π° ΡΠΏΠ΅ΡΠΈΠ°Π»ΠΈΠ·ΠΈΡΠΎΠ²Π°Π½Π½ΠΎΠΌ ΡΠ΅ΡΠ²ΠΈΡΠ΅.
carpod.ru
ΠΠ° Π°Π²ΡΠΎΠΌΠΎΠ±ΠΈΠ»ΠΈ Ford Focus II Π² Π±Π°Π·ΠΎΠ²ΠΎΠΉ ΠΊΠΎΠΌΠΏΠ»Π΅ΠΊΡΠ°ΡΠΈΠΈ ΡΡΡΠ°Π½Π°Π²Π»ΠΈΠ²Π°ΡΡ ΠΌΠ΅Ρ Π°Π½ΠΈΡΠ΅ΡΠΊΡΡ ΠΊΠΎΡΠΎΠ±ΠΊΡ ΠΏΠ΅ΡΠ΅Π΄Π°Ρ ΡΠΈΠΏΠ° iB5, ΠΠ’Π₯-75 ΠΈΠ»ΠΈ MΠΠ’6 (Π² Π·Π°Π²ΠΈΡΠΈΠΌΠΎΡΡΠΈ ΠΎΡ ΡΠΈΠΏΠ° ΠΏΡΠΈΠΌΠ΅Π½ΡΠ΅ΠΌΠΎΠ³ΠΎ Π΄Π²ΠΈΠ³Π°ΡΠ΅Π»Ρ). ΠΡΠ΅ ΠΌΠ΅Ρ Π°Π½ΠΈΡΠ΅ΡΠΊΠΈΠ΅ ΠΊΠΎΡΠΎΠ±ΠΊΠΈ ΠΏΠ΅ΡΠ΅Π΄Π°Ρ ΡΠ°Π·Π»ΠΈΡΠ°ΡΡΡΡ ΠΌΠ΅ΠΆΠ΄Ρ ΡΠΎΠ±ΠΎΠΉ ΠΏΠ΅ΡΠ΅Π΄Π°ΡΠΎΡΠ½ΡΠΌΠΈ ΡΠΈΡΠ»Π°ΠΌΠΈ ΠΈ ΠΊΠΎΠ½ΡΡΡΡΠΊΡΠΈΠ΅ΠΉ ΠΎΡΠ΄Π΅Π»ΡΠ½ΡΡ Π΄Π΅ΡΠ°Π»Π΅ΠΉ, Π½ΠΎ ΠΈΠΌΠ΅ΡΡ ΠΏΡΠΈΠ½ΡΠΈΠΏΠΈΠ°Π»ΡΠ½ΠΎ ΠΎΠ±ΡΡΡ ΠΊΠΎΠΌΠΏΠΎΠ½ΠΎΠ²ΠΊΡ (Ρ ΡΠ΅ΡΡΠΈΡΡΡΠΏΠ΅Π½ΡΠ°ΡΠΎΠΉ ΠΊΠΎΡΠΎΠ±ΠΊΠΈ MΠΠ’6 Π΅ΡΡΡ ΠΎΡΠ»ΠΈΡΠΈΡ Π² ΠΊΠΎΠΌΠΏΠΎΠ½ΠΎΠ²ΠΊΠ΅ ΠΈΠ·-Π·Π° Π½Π°Π»ΠΈΡΠΈΡ VI ΠΏΠ΅ΡΠ΅Π΄Π°ΡΠΈ) ΠΈ ΡΡΡΠ°Π½ΠΎΠ²ΠΎΡΠ½ΡΠ΅ ΡΠ°Π·ΠΌΠ΅ΡΡ. ΠΠΎ Π·Π°ΠΊΠ°Π·Ρ Π½Π° Π°Π²ΡΠΎΠΌΠΎΠ±ΠΈΠ»ΠΈ Ρ Π΄Π²ΠΈΠ³Π°ΡΠ΅Π»ΡΠΌΠΈ ΡΠ°Π±ΠΎΡΠΈΠΌ ΠΎΠ±ΡΠ΅ΠΌΠΎΠΌ 1,6 ΠΈ 2,0 Π» ΠΌΠΎΠ³ΡΡ Π±ΡΡΡ ΡΡΡΠ°Π½ΠΎΠ²Π»Π΅Π½Ρ ΠΏΡΡΠΈΡΡΡΠΏΠ΅Π½ΡΠ°ΡΡΠ΅ Π°Π²ΡΠΎΠΌΠ°ΡΠΈΡΠ΅ΡΠΊΠΈΠ΅ ΠΊΠΎΡΠΎΠ±ΠΊΠΈ ΠΏΠ΅ΡΠ΅Π΄Π°Ρ, ΡΡΡΠ°Π½ΠΎΠ²ΠΎΡΠ½ΡΠ΅ ΡΠ°Π·ΠΌΠ΅ΡΡ ΠΊΠΎΡΠΎΡΡΡ Π°Π½Π°Π»ΠΎΠ³ΠΈΡΠ½ΡΠ΅ ΡΠ°Π·ΠΌΠ΅ΡΠ°ΠΌ ΠΌΠ΅Ρ Π°Π½ΠΈΡΠ΅ΡΠΊΠΈΡ ΠΊΠΎΡΠΎΠ±ΠΎΠΊ. Π ΡΠ²ΡΠ·ΠΈ Ρ ΡΡΠΈΠΌ Π² Π΄Π°Π½Π½ΠΎΠΌ ΡΠ°Π·Π΄Π΅Π»Π΅ ΡΠ½ΡΡΠΈΠ΅ ΠΈ ΡΡΡΠ°Π½ΠΎΠ²ΠΊΠ° ΠΎΠΏΠΈΡΠ°Π½Ρ Π½Π° ΠΏΡΠΈΠΌΠ΅ΡΠ΅ ΡΠΎΠ»ΡΠΊΠΎ ΠΌΠ΅Ρ Π°Π½ΠΈΡΠ΅ΡΠΊΠΎΠΉ ΠΊΠΎΡΠΎΠ±ΠΊΠΈ ΠΏΠ΅ΡΠ΅Π΄Π°Ρ iB5.
ΠΡΡΠ°Π»ΡΠ½ΡΠ΅ ΠΊΠΎΡΠΎΠ±ΠΊΠΈ ΠΏΠ΅ΡΠ΅Π΄Π°Ρ ΡΠ½ΠΈΠΌΠ°ΡΡ ΠΈ ΡΡΡΠ°Π½Π°Π²Π»ΠΈΠ²Π°ΡΡ ΠΏΡΠ°ΠΊΡΠΈΡΠ΅ΡΠΊΠΈ Π°Π½Π°Π»ΠΎΠ³ΠΈΡΠ½ΠΎ.
ΠΠ΅Ρ
Π°Π½ΠΈΡΠ΅ΡΠΊΠ°Ρ ΠΊΠΎΡΠΎΠ±ΠΊΠ° ΠΏΠ΅ΡΠ΅Π΄Π°Ρ Π²ΡΠΏΠΎΠ»Π½Π΅Π½Π° ΠΏΠΎ Π΄Π²ΡΡ
Π²Π°Π»ΡΠ½ΠΎΠΉ ΡΡ
Π΅ΠΌΠ΅ Ρ ΠΏΡΡΡΡ (Ρ ΠΊΠΎΡΠΎΠ±ΠΊΠΈ ΠΏΠ΅ΡΠ΅Π΄Π°Ρ MΠΠ’6 β Ρ ΡΠ΅ΡΡΡΡ) ΡΠΈΠ½Ρ
ΡΠΎΠ½ΠΈΠ·ΠΈΡΠΎΠ²Π°Π½Π½ΡΠΌΠΈ ΠΏΠ΅ΡΠ΅Π΄Π°ΡΠ°ΠΌΠΈ ΠΏΠ΅ΡΠ΅Π΄Π½Π΅Π³ΠΎ Ρ
ΠΎΠ΄Π°. ΠΠΎΡΠΎΠ±ΠΊΠ° ΠΏΠ΅ΡΠ΅Π΄Π°Ρ ΠΈ Π³Π»Π°Π²Π½Π°Ρ ΠΏΠ΅ΡΠ΅Π΄Π°ΡΠ° Ρ Π΄ΠΈΡΡΠ΅ΡΠ΅Π½ΡΠΈΠ°Π»ΠΎΠΌ ΠΈΠΌΠ΅ΡΡ ΠΎΠ±ΡΠΈΠΉ ΠΊΠ°ΡΡΠ΅Ρ 2 (ΡΠΈΡ. 6.4 ΠΈ 6.5). Π ΠΏΠ΅ΡΠ΅Π΄Π½Π΅ΠΉ ΡΠ°ΡΡΠΈ ΠΊΠ°ΡΡΠ΅ΡΠ° ΠΊΠΎΡΠΎΠ±ΠΊΠΈ ΠΏΠ΅ΡΠ΅Π΄Π°Ρ ΠΏΡΠΈΡΠΎΠ΅Π΄ΠΈΠ½Π΅Π½ ΠΊΠ°ΡΡΠ΅Ρ ΡΡΠ΅ΠΏΠ»Π΅Π½ΠΈΡ 6 (ΡΠΌ. ΡΠΈΡ. 6.4) ΠΈ 5 (ΡΠΌ. ΡΠΈΡ. 6.5). ΠΠ° Π·Π°Π΄Π½ΡΡ ΡΠ°ΡΡΡ ΠΊΠ°ΡΡΠ΅ΡΠ° ΠΊΠΎΡΠΎΠ±ΠΊΠΈ ΠΏΠ΅ΡΠ΅Π΄Π°Ρ ΡΡΡΠ°Π½ΠΎΠ²Π»Π΅Π½Π° ΡΡΠ°Π»ΡΠ½Π°Ρ ΡΡΠ°ΠΌΠΏΠΎΠ²Π°Π½Π½Π°Ρ ΠΊΡΡΡΠΊΠ° 1
(ΡΠΌ. ΡΠΈΡ. 6.4 ΠΈ 6.5).

Π ΠΈΡ. 6.4. ΠΠ΅Ρ Π°Π½ΠΈΡΠ΅ΡΠΊΠ°Ρ ΠΊΠΎΡΠΎΠ±ΠΊΠ° ΠΏΠ΅ΡΠ΅Π΄Π°Ρ (ΠΊΠΎΠΆΡΡ ΠΌΠ΅Ρ Π°Π½ΠΈΠ·ΠΌΠ° ΠΏΠ΅ΡΠ΅ΠΊΠ»ΡΡΠ΅Π½ΠΈΡ ΠΏΠ΅ΡΠ΅Π΄Π°Ρ ΡΠ½ΡΡ Π΄Π»Ρ Π½Π°Π³Π»ΡΠ΄Π½ΠΎΡΡΠΈ): 1 β ΠΊΡΡΡΠΊΠ° ΠΊΠ°ΡΡΠ΅ΡΠ° ΠΊΠΎΡΠΎΠ±ΠΊΠΈ ΠΏΠ΅ΡΠ΅Π΄Π°Ρ; 2 β ΠΊΠ°ΡΡΠ΅Ρ ΠΊΠΎΡΠΎΠ±ΠΊΠΈ ΠΏΠ΅ΡΠ΅Π΄Π°Ρ; 3 β ΡΡΡΠ°Π³ Π²ΡΠ±ΠΎΡΠ° ΠΏΠ΅ΡΠ΅Π΄Π°Ρ; 4 β ΠΊΡΠΎΠ½ΡΡΠ΅ΠΉΠ½ ΠΊΡΠ΅ΠΏΠ»Π΅Π½ΠΈΡ ΡΡΠΎΡΠΎΠ² ΡΠΏΡΠ°Π²Π»Π΅Π½ΠΈΡ ΠΊΠΎΡΠΎΠ±ΠΊΠΎΠΉ ΠΏΠ΅ΡΠ΅Π΄Π°Ρ; 5 β Π²ΡΠΊΠ»ΡΡΠ°ΡΠ΅Π»Ρ ΡΠ²Π΅ΡΠ° Π·Π°Π΄Π½Π΅Π³ΠΎ Ρ ΠΎΠ΄Π°; 6 β ΠΊΠ°ΡΡΠ΅Ρ ΡΡΠ΅ΠΏΠ»Π΅Π½ΠΈΡ; 7 β ΠΏΠ΅ΡΠ΅Ρ ΠΎΠ΄Π½ΠΈΠΊ ΡΠ°Π±ΠΎΡΠ΅Π³ΠΎ ΡΠΈΠ»ΠΈΠ½Π΄ΡΠ° ΠΏΡΠΈΠ²ΠΎΠ΄Π° Π²ΡΠΊΠ»ΡΡΠ΅Π½ΠΈΡ ΡΡΠ΅ΠΏΠ»Π΅Π½ΠΈΡ; 8 β ΡΠ°ΠΏΡΠ½; 9 β ΠΊΡΠΎΠ½ΡΡΠ΅ΠΉΠ½ ΠΊΡΠ΅ΠΏΠ»Π΅Π½ΠΈΡ ΡΡΡΠ±ΠΎΠΏΡΠΎΠ²ΠΎΠ΄Π° Π³ΠΈΠ΄ΡΠΎΠΏΡΠΈΠ²ΠΎΠ΄Π° Π²ΡΠΊΠ»ΡΡΠ΅Π½ΠΈΡ ΡΡΠ΅ΠΏΠ»Π΅Π½ΠΈΡ; 10 β ΡΡΡΠ°Π³ ΠΏΠ΅ΡΠ΅ΠΊΠ»ΡΡΠ΅Π½ΠΈΡ ΠΏΠ΅ΡΠ΅Π΄Π°Ρ; 11 β Π΄Π°ΡΡΠΈΠΊ ΡΠΊΠΎΡΠΎΡΡΠΈ; 12 β ΡΠ°Π»ΡΠ½ΠΈΠΊ ΠΏΠΎΠ»ΡΠΎΡΠΈ

Β Π ΠΈΡ. 6.5. ΠΡΠΈΠ½ΡΠΈΠΏΠΈΠ°Π»ΡΠ½Π°Ρ ΡΡ Π΅ΠΌΠ° ΠΏΡΡΠΈΡΡΡΠΏΠ΅Π½ΡΠ°ΡΠΎΠΉ ΠΌΠ΅Ρ Π°Π½ΠΈΡΠ΅ΡΠΊΠΎΠΉ ΠΊΠΎΡΠΎΠ±ΠΊΠΈ ΠΏΠ΅ΡΠ΅Π΄Π°Ρ: 1 β Π·Π°Π΄Π½ΡΡ ΠΊΡΡΡΠΊΠ° ΠΊΠ°ΡΡΠ΅ΡΠ° ΠΊΠΎΡΠΎΠ±ΠΊΠΈ ΠΏΠ΅ΡΠ΅Π΄Π°Ρ; 2 β ΠΊΠ°ΡΡΠ΅Ρ ΠΊΠΎΡΠΎΠ±ΠΊΠΈ ΠΏΠ΅ΡΠ΅Π΄Π°Ρ; 3 β ΡΠ°ΠΏΡΠ½; 4 β ΡΠ°Π±ΠΎΡΠΈΠΉ ΡΠΈΠ»ΠΈΠ½Π΄Ρ Π³ΠΈΠ΄ΡΠΎΠΏΡΠΈΠ²ΠΎΠ΄Π° Π²ΡΠΊΠ»ΡΡΠ΅Π½ΠΈΡ ΡΡΠ΅ΠΏΠ»Π΅Π½ΠΈΡ; 5 β ΠΊΠ°ΡΡΠ΅Ρ ΡΡΠ΅ΠΏΠ»Π΅Π½ΠΈΡ; 6 β ΠΏΠΎΠ΄ΡΠΈΠΏΠ½ΠΈΠΊ Π²ΡΠΊΠ»ΡΡΠ΅Π½ΠΈΡ ΡΡΠ΅ΠΏΠ»Π΅Π½ΠΈΡ; 7 β ΠΏΠ΅ΡΠ²ΠΈΡΠ½ΡΠΉ Π²Π°Π»; 8 β Π²ΡΠΎΡΠΈΡΠ½ΡΠΉ Π²Π°Π»; 9 β Π³Π»Π°Π²Π½Π°Ρ ΠΏΠ΅ΡΠ΅Π΄Π°ΡΠ° ΠΈ Π΄ΠΈΡΡΠ΅ΡΠ΅Π½ΡΠΈΠ°Π»
ΠΠ° ΠΏΠ΅ΡΠ²ΠΈΡΠ½ΠΎΠΌ Π²Π°Π»Ρ 7 (ΡΠΌ. ΡΠΈΡ. 6.5) ΡΠ°ΡΠΏΠΎΠ»ΠΎΠΆΠ΅Π½Π° Π·Π°ΡΠΈΠΊΡΠΈΡΠΎΠ²Π°Π½Π½Π°Ρ Π½Π° ΡΠ»ΠΈΡΠ°Ρ
Π²Π°Π»Π° ΡΠ΅ΡΡΠ΅ΡΠ½Ρ V ΠΏΠ΅ΡΠ΅Π΄Π°ΡΠΈ Ρ ΡΠΈΠ½Ρ
ΡΠΎΠ½ΠΈΠ·Π°ΡΠΎΡΠΎΠΌ, Π° Π²Π΅Π΄ΡΡΠΈΠ΅ ΡΠ΅ΡΡΠ΅ΡΠ½ΠΈ I, II, III ΠΈ IV ΠΏΠ΅ΡΠ΅Π΄Π°Ρ ΠΈΠ·Π³ΠΎΡΠΎΠ²Π»Π΅Π½Ρ Π·Π° ΠΎΠ΄Π½ΠΎ ΡΠ΅Π»ΠΎΠ΅ Ρ ΠΏΠ΅ΡΠ²ΠΈΡΠ½ΡΠΌ Π²Π°Π»ΠΎΠΌ.
ΠΡΠΎΡΠΈΡΠ½ΡΠΉ Π²Π°Π» 8 ΠΈΠ·Π³ΠΎΡΠΎΠ²Π»Π΅Π½ Π²ΠΌΠ΅ΡΡΠ΅ Ρ Π²Π΅Π΄ΡΡΠ΅ΠΉ ΡΠ΅ΡΡΠ΅ΡΠ½Π΅ΠΉ Π³Π»Π°Π²Π½ΠΎΠΉ ΠΏΠ΅ΡΠ΅Π΄Π°ΡΠΈ 9. ΠΡΠΎΠΌΠ΅ ΡΡΠΎΠ³ΠΎ Π½Π° Π²Π°Π»Ρ ΡΡΡΠ°Π½ΠΎΠ²Π»Π΅Π½Ρ ΡΠ²ΠΎΠ±ΠΎΠ΄Π½ΠΎ Π²ΡΠ°ΡΠ°ΡΡΠΈΠ΅ΡΡ Π½Π° ΠΏΠΎΠ΄ΡΠΈΠΏΠ½ΠΈΠΊΠ°Ρ
ΡΠΊΠΎΠ»ΡΠΆΠ΅Π½ΠΈΡ Π²Π΅Π΄ΠΎΠΌΡΠ΅ ΡΠ΅ΡΡΠ΅ΡΠ½ΠΈ I, II, III, IV ΠΈ V ΠΏΠ΅ΡΠ΅Π΄Π°Ρ.
ΠΠ΅ΡΠ΅Π΄Π°ΡΠΈ ΠΏΠ΅ΡΠ΅Π΄Π½Π΅Π³ΠΎ Ρ
ΠΎΠ΄Π° Π²ΠΊΠ»ΡΡΠ°ΡΡΡΡ ΠΎΡΠ΅Π²ΡΠΌ ΠΏΠ΅ΡΠ΅ΠΌΠ΅ΡΠ΅Π½ΠΈΠ΅ΠΌ ΠΌΡΡΡ Π΄Π²ΡΡ
ΡΠΈΠ½Ρ
ΡΠΎΠ½ΠΈΠ·Π°ΡΠΎΡΠΎΠ² IβII ΠΈ IIIβIV ΠΏΠ΅ΡΠ΅Π΄Π°Ρ ΠΈ ΠΌΡΡΡΡ ΡΠΈΠ½Ρ
ΡΠΎΠ½ΠΈΠ·Π°ΡΠΎΡΠ° V ΠΏΠ΅ΡΠ΅Π΄Π°ΡΠΈ, ΡΡΡΠ°Π½ΠΎΠ²Π»Π΅Π½Π½ΡΡ
Π½Π° Π²ΡΠΎΡΠΈΡΠ½ΠΎΠΌ Π²Π°Π»Ρ. ΠΠ΅Ρ
Π°Π½ΠΈΠ·ΠΌ ΠΏΠ΅ΡΠ΅ΠΊΠ»ΡΡΠ΅Π½ΠΈΡ ΠΏΠ΅ΡΠ΅Π΄Π°Ρ ΡΠ°ΡΠΏΠΎΠ»ΠΎΠΆΠ΅Π½ Π²Π½ΡΡΡΠΈ ΠΊΠ°ΡΡΠ΅ΡΠ° ΠΊΠΎΡΠΎΠ±ΠΊΠΈ ΠΏΠ΅ΡΠ΅Π΄Π°Ρ Ρ Π΅Π³ΠΎ Π»Π΅Π²ΠΎΠΉ ΡΡΠΎΡΠΎΠ½Ρ. Π‘Π½Π°ΡΡΠΆΠΈ Π½Π°Ρ
ΠΎΠ΄ΡΡΡΡ Π΄Π²Π° ΡΡΡΠ°Π³Π° ΠΌΠ΅Ρ
Π°Π½ΠΈΠ·ΠΌΠ°: ΡΡΡΠ°Π³ 3 (ΡΠΌ. ΡΠΈΡ. 6.4) Π²ΡΠ±ΠΎΡΠ° ΠΏΠ΅ΡΠ΅Π΄Π°ΡΠΈ ΠΈ ΡΡΡΠ°Π³ 10 ΠΏΠ΅ΡΠ΅ΠΊΠ»ΡΡΠ΅Π½ΠΈΡ.
ΠΡΠΈΠ²ΠΎΠ΄ ΡΠΏΡΠ°Π²Π»Π΅Π½ΠΈΡ ΠΌΠ΅Ρ
Π°Π½ΠΈΡΠ΅ΡΠΊΠΎΠΉ ΠΊΠΎΡΠΎΠ±ΠΊΠΎΠΉ ΠΏΠ΅ΡΠ΅Π΄Π°Ρ ΡΠΎΡΡΠΎΠΈΡ ΠΈΠ· ΠΊΡΠ»ΠΈΡΡ ΡΡΡΠ°Π³Π° ΠΏΠ΅ΡΠ΅ΠΊΠ»ΡΡΠ΅Π½ΠΈΡ ΠΏΠ΅ΡΠ΅Π΄Π°Ρ Ρ ΡΠ°ΡΠΎΠ²ΠΎΠΉ ΠΎΠΏΠΎΡΠΎΠΉ, ΡΡΡΠ°Π½ΠΎΠ²Π»Π΅Π½Π½ΠΎΠΉ Π½Π° ΠΎΡΠ½ΠΎΠ²Π°Π½ΠΈΠΈ ΠΊΡΠ·ΠΎΠ²Π°, Π΄Π²ΡΡ
ΡΡΠΎΡΠΎΠ² ΠΏΠ΅ΡΠ΅ΠΊΠ»ΡΡΠ΅Π½ΠΈΡ ΠΈ Π²ΡΠ±ΠΎΡΠ° ΠΏΠ΅ΡΠ΅Π΄Π°Ρ, Π° ΡΠ°ΠΊΠΆΠ΅ ΠΌΠ΅Ρ
Π°Π½ΠΈΠ·ΠΌΠ°, ΡΡΡΠ°Π½ΠΎΠ²Π»Π΅Π½Π½ΠΎΠ³ΠΎ Π² ΠΊΠ°ΡΡΠ΅ΡΠ΅ ΠΊΠΎΡΠΎΠ±ΠΊΠΈ ΠΏΠ΅ΡΠ΅Π΄Π°Ρ. ΠΠ»Ρ ΠΎΠ±Π΅ΡΠΏΠ΅ΡΠ΅Π½ΠΈΡ ΡΠ΅ΡΠΊΠΎΠ³ΠΎ Π²ΠΊΠ»ΡΡΠ΅Π½ΠΈΡ ΠΏΠ΅ΡΠ΅Π΄Π°Ρ ΡΡΡΠ°Π³ 10 ΠΏΠ΅ΡΠ΅ΠΊΠ»ΡΡΠ΅Π½ΠΈΡ ΠΏΠ΅ΡΠ΅Π΄Π°Ρ ΠΌΠ΅Ρ
Π°Π½ΠΈΠ·ΠΌΠ° ΠΏΠ΅ΡΠ΅ΠΊΠ»ΡΡΠ΅Π½ΠΈΡ ΠΈΠ·Π³ΠΎΡΠΎΠ²Π»Π΅Π½ Π·Π° ΠΎΠ΄Π½ΠΎ ΡΠ΅Π»ΠΎΠ΅ Ρ ΠΌΠ°ΡΡΠΈΠ²Π½ΡΠΌ ΠΏΡΠΎΡΠΈΠ²ΠΎΠ²Π΅ΡΠΎΠΌ. Π’ΡΠΎΡΡ Π²ΡΠ±ΠΎΡΠ° ΠΈ ΠΏΠ΅ΡΠ΅ΠΊΠ»ΡΡΠ΅Π½ΠΈΡ ΠΏΠ΅ΡΠ΅Π΄Π°Ρ ΠΊΠΎΠ½ΡΡΡΡΠΊΡΠΈΠ²Π½ΠΎ ΠΎΡΠ»ΠΈΡΠ°ΡΡΡΡ Π΄ΡΡΠ³ ΠΎΡ Π΄ΡΡΠ³Π° ΠΈ Π½Π΅Π²Π·Π°ΠΈΠΌΠΎΠ·Π°ΠΌΠ΅Π½ΡΠ΅ΠΌΡ.
ΠΠ»Π°Π²Π½Π°Ρ ΠΏΠ΅ΡΠ΅Π΄Π°ΡΠ° Π²ΡΠΏΠΎΠ»Π½Π΅Π½Π° Π² Π²ΠΈΠ΄Π΅ ΠΏΠ°ΡΡ ΡΠΈΠ»ΠΈΠ½Π΄ΡΠΈΡΠ΅ΡΠΊΠΈΡ
ΡΠ΅ΡΡΠ΅ΡΠ΅Π½, ΠΏΠΎΠ΄ΠΎΠ±ΡΠ°Π½Π½ΡΡ
ΠΏΠΎ ΡΡΠΌΡ. ΠΡΡΡΡΡΠΈΠΉ ΠΌΠΎΠΌΠ΅Π½Ρ ΠΏΠ΅ΡΠ΅Π΄Π°Π΅ΡΡΡ ΠΎΡ Π²Π΅Π΄ΠΎΠΌΠΎΠΉ ΡΠ΅ΡΡΠ΅ΡΠ½ΠΈ Π³Π»Π°Π²Π½ΠΎΠΉ ΠΏΠ΅ΡΠ΅Π΄Π°ΡΠΈ Π½Π° Π΄ΠΈΡΡΠ΅ΡΠ΅Π½ΡΠΈΠ°Π» ΠΈ Π΄Π°Π»Π΅Π΅ Π½Π° ΠΏΡΠΈΠ²ΠΎΠ΄Ρ ΠΏΠ΅ΡΠ΅Π΄Π½ΠΈΡ
ΠΊΠΎΠ»Π΅Ρ.
ΠΠΈΡΡΠ΅ΡΠ΅Π½ΡΠΈΠ°Π» ΠΊΠΎΠ½ΠΈΡΠ΅ΡΠΊΠΈΠΉ, Π΄Π²ΡΡ
ΡΠ°ΡΠ΅Π»Π»ΠΈΡΠ½ΡΠΉ. ΠΠ΅ΡΠΌΠ΅ΡΠΈΡΠ½ΠΎΡΡΡ ΡΠΎΠ΅Π΄ΠΈΠ½Π΅Π½ΠΈΡ Π²Π½ΡΡΡΠ΅Π½Π½ΠΈΡ
ΡΠ°ΡΠ½ΠΈΡΠΎΠ² ΠΏΡΠΈΠ²ΠΎΠ΄ΠΎΠ² ΠΏΠ΅ΡΠ΅Π΄Π½ΠΈΡ
ΠΊΠΎΠ»Π΅Ρ Ρ ΡΠ΅ΡΡΠ΅ΡΠ½ΡΠΌΠΈ Π΄ΠΈΡΡΠ΅ΡΠ΅Π½ΡΠΈΠ°Π»Π° ΠΎΠ±Π΅ΡΠΏΠ΅ΡΠΈΠ²Π°Π΅ΡΡΡ ΡΠ°Π»ΡΠ½ΠΈΠΊΠ°ΠΌΠΈ 12.
ΠΠ²ΡΠΎΠΌΠ°ΡΠΈΡΠ΅ΡΠΊΠ°Ρ ΠΊΠΎΡΠΎΠ±ΠΊΠ° ΠΏΠ΅ΡΠ΅Π΄Π°Ρ Ρ Π°Π΄Π°ΠΏΡΠΈΠ²Π½ΠΎΠΉ ΡΠΈΡΡΠ΅ΠΌΠΎΠΉ ΡΠΏΡΠ°Π²Π»Π΅Π½ΠΈΡ ΠΎΠ±Π΅ΡΠΏΠ΅ΡΠΈΠ²Π°Π΅Ρ Π²ΡΠ±ΠΎΡ ΠΎΠΏΡΠΈΠΌΠ°Π»ΡΠ½ΠΎΠ³ΠΎ ΡΠ΅ΠΆΠΈΠΌΠ° ΠΏΠ΅ΡΠ΅ΠΊΠ»ΡΡΠ΅Π½ΠΈΡ ΠΏΠ΅ΡΠ΅Π΄Π°Ρ ΠΏΡΠ°ΠΊΡΠΈΡΠ΅ΡΠΊΠΈ Π΄Π»Ρ Π»ΡΠ±ΡΡ
ΡΡΠΈΠ»Π΅ΠΉ Π²ΠΎΠΆΠ΄Π΅Π½ΠΈΡ ΠΈ Π΄ΠΎΡΠΎΠΆΠ½ΡΡ
ΡΡΠ»ΠΎΠ²ΠΈΠΉ. ΠΠ²ΡΠΎΠΌΠ°ΡΠΈΡΠ΅ΡΠΊΠΈΠ΅ ΠΊΠΎΡΠΎΠ±ΠΊΠΈ ΠΏΠ΅ΡΠ΅Π΄Π°Ρ, ΡΡΡΠ°Π½Π°Π²Π»ΠΈΠ²Π°Π΅ΠΌΡΠ΅ Ρ Π΄Π²ΠΈΠ³Π°ΡΠ΅Π»ΡΠΌΠΈ ΡΠ°Π±ΠΎΡΠΈΠΌ ΠΎΠ±ΡΠ΅ΠΌΠΎΠΌ 1,6 ΠΈ 2,0 Π», ΠΎΠ΄ΠΈΠ½Π°ΠΊΠΎΠ²Ρ ΠΏΠΎ ΠΊΠΎΠ½ΡΡΡΡΠΊΡΠΈΠΈ ΠΈ ΡΠ°Π·Π»ΠΈΡΠ°ΡΡΡΡ ΡΠΎΠ»ΡΠΊΠΎ ΠΏΠ΅ΡΠ΅Π΄Π°ΡΠΎΡΠ½ΡΠΌΠΈ ΡΠΈΡΠ»Π°ΠΌΠΈ.
ΠΠ²ΡΠΎΠΌΠ°ΡΠΈΡΠ΅ΡΠΊΠ°Ρ ΠΊΠΎΡΠΎΠ±ΠΊΠ° ΠΏΠ΅ΡΠ΅Π΄Π°Ρ ΡΠΊΠΎΠΌΠΏΠΎΠ½ΠΎΠ²Π°Π½Π° ΠΏΠΎ ΡΡΠ°Π΄ΠΈΡΠΈΠΎΠ½Π½ΠΎΠΉ ΠΏΠ»Π°Π½Π΅ΡΠ°ΡΠ½ΠΎΠΉ ΡΡ
Π΅ΠΌΠ΅ Ρ ΡΠΎΡΠΌΠΎΠΆΠ΅Π½ΠΈΠ΅ΠΌ ΡΡΠΈΠΊΡΠΈΠΎΠ½Π°ΠΌΠΈ ΠΈ ΡΠΎΠ΅Π΄ΠΈΠ½Π΅Π½Π° Ρ ΠΊΠΎΠ»Π΅Π½ΡΠ°ΡΡΠΌ Π²Π°Π»ΠΎΠΌ Π΄Π²ΠΈΠ³Π°ΡΠ΅Π»Ρ ΡΠ΅ΡΠ΅Π· Π³ΠΈΠ΄ΡΠΎΡΡΠ°Π½ΡΡΠΎΡΠΌΠ°ΡΠΎΡ. ΠΡΠΎΠ±Π΅Π½Π½ΠΎΡΡΡΡ ΠΊΠΎΡΠΎΠ±ΠΊΠΈ Π°Π²ΡΠΎΠΌΠΎΠ±ΠΈΠ»Π΅ΠΉ Ford Focus II ΠΏΠΎ ΡΡΠ°Π²Π½Π΅Π½ΠΈΡ Ρ Π°Π²ΡΠΎΠΌΠ°ΡΠΈΡΠ΅ΡΠΊΠΈΠΌΠΈ ΠΊΠΎΡΠΎΠ±ΠΊΠ°ΠΌΠΈ ΠΏΠ΅ΡΠ΅Π΄Π°Ρ ΠΏΡΠ΅Π΄ΡΠ΄ΡΡΠΈΡ
ΠΏΠΎΠΊΠΎΠ»Π΅Π½ΠΈΠΉ ΡΠ²Π»ΡΠ΅ΡΡΡ Π²ΠΎΠ·ΠΌΠΎΠΆΠ½ΠΎΡΡΡ ΠΏΠ΅ΡΠ΅Ρ
ΠΎΠ΄Π° ΠΈΠ· ΠΏΠΎΠ»Π½ΠΎΡΡΡΡ Π°Π²ΡΠΎΠΌΠ°ΡΠΈΡΠ΅ΡΠΊΠΎΠ³ΠΎ ΡΠ΅ΠΆΠΈΠΌΠ° ΡΠΏΡΠ°Π²Π»Π΅Π½ΠΈΡ Π² ΡΡΡΠ½ΠΎΠΉ ΡΠ΅ΠΆΠΈΠΌ (ΡΠ°ΠΊ Π½Π°Π·ΡΠ²Π°Π΅ΠΌΠ°Ρ ΡΠ΅ΠΊΠ²Π΅Π½ΡΠ°Π»ΡΠ½Π°Ρ ΠΊΠΎΡΠΎΠ±ΠΊΠ° ΠΏΠ΅ΡΠ΅Π΄Π°Ρ), ΠΏΡΠΈ ΠΊΠΎΡΠΎΡΠΎΠΌ Π²ΠΎΠ΄ΠΈΡΠ΅Π»Ρ Π²ΠΎ Π²ΡΠ΅ΠΌΡ ΡΠ°Π·Π³ΠΎΠ½Π° Π°Π²ΡΠΎΠΌΠΎΠ±ΠΈΠ»Ρ ΡΠ°ΠΌΠΎΡΡΠΎΡΡΠ΅Π»ΡΠ½ΠΎ Π²ΡΠ±ΠΈΡΠ°Π΅Ρ ΠΌΠΎΠΌΠ΅Π½Ρ ΠΏΠ΅ΡΠ΅ΠΊΠ»ΡΡΠ΅Π½ΠΈΡ Π½Π° ΠΏΠΎΠ²ΡΡΠ°ΡΡΡΡ ΠΏΠ΅ΡΠ΅Π΄Π°ΡΡ. ΠΡΠΎ ΠΏΠΎΠ·Π²ΠΎΠ»ΡΠ΅Ρ ΠΏΡΠΈ ΠΆΠ΅Π»Π°Π½ΠΈΠΈ Π΄ΠΎΠ±ΠΈΡΡΡΡ Π±ΠΎΠ»Π΅Π΅ ΠΈΠ½ΡΠ΅Π½ΡΠΈΠ²Π½ΠΎΠ³ΠΎ ΡΠ°Π·Π³ΠΎΠ½Π° ΠΏΠΎ ΡΡΠ°Π²Π½Π΅Π½ΠΈΡ Ρ Π°Π²ΡΠΎΠΌΠ°ΡΠΈΡΠ΅ΡΠΊΠΈΠΌ ΡΠ΅ΠΆΠΈΠΌΠΎΠΌ, ΠΈΡΠΊΡΡΡΡΠ²Π΅Π½Π½ΠΎ Π·Π°Π΄Π΅ΡΠΆΠΈΠ²Π°Ρ ΠΏΠ΅ΡΠ΅ΠΊΠ»ΡΡΠ΅Π½ΠΈΠ΅ Π½Π° ΠΏΠΎΠ²ΡΡΠ°ΡΡΡΡ ΠΏΠ΅ΡΠ΅Π΄Π°ΡΡ, ΡΡΠΎ ΠΏΠΎΠ·Π²ΠΎΠ»ΡΠ΅Ρ Π΄ΠΎΠ²Π΅ΡΡΠΈ ΡΠ°ΡΡΠΎΡΡ Π²ΡΠ°ΡΠ΅Π½ΠΈΡ ΠΊΠΎΠ»Π΅Π½ΡΠ°ΡΠΎΠ³ΠΎ Π²Π°Π»Π° Π΄Π²ΠΈΠ³Π°ΡΠ΅Π»Ρ Π΄ΠΎ Π΄ΠΈΠ°ΠΏΠ°Π·ΠΎΠ½Π° Π½Π°ΠΈΠ±ΠΎΠ»ΡΡΠ΅Π³ΠΎ ΠΊΡΡΡΡΡΠ΅Π³ΠΎ ΠΌΠΎΠΌΠ΅Π½ΡΠ°. Π ΡΠΎ ΠΆΠ΅ Π²ΡΠ΅ΠΌΡ ΡΠ»Π΅ΠΊΡΡΠΎΠ½Π½Π°Ρ ΡΠΈΡΡΠ΅ΠΌΠ° ΡΠΏΡΠ°Π²Π»Π΅Π½ΠΈΡ ΠΏΠΎΡΡΠΎΡΠ½Π½ΠΎ ΠΊΠΎΠ½ΡΡΠΎΠ»ΠΈΡΡΠ΅Ρ ΡΠΊΠΎΡΠΎΡΡΡ Π°Π²ΡΠΎΠΌΠΎΠ±ΠΈΠ»Ρ ΠΈ Π½Π°Π³ΡΡΠ·ΠΊΡ Π΄Π²ΠΈΠ³Π°ΡΠ΅Π»Ρ, ΠΈΡΠΊΠ»ΡΡΠ°Π΅Ρ ΠΎΡΠΈΠ±ΠΊΠΈ Π²ΠΎΠ΄ΠΈΡΠ΅Π»Ρ, Π½Π΅ ΠΏΠΎΠ·Π²ΠΎΠ»ΡΡ Π΅ΠΌΡ Π²ΠΊΠ»ΡΡΠΈΡΡ Π±ΠΎΠ»Π΅Π΅ Π²ΡΡΠΎΠΊΡΡ ΠΏΠ΅ΡΠ΅Π΄Π°ΡΡ ΠΏΡΠΈ ΠΌΠ°Π»ΠΎΠΉ ΡΠΊΠΎΡΠΎΡΡΠΈ Π΄Π²ΠΈΠΆΠ΅Π½ΠΈΡ, ΡΡΠΎΠ±Ρ ΠΈΠ·Π±Π΅ΠΆΠ°ΡΡ ΠΏΠ΅ΡΠ΅Π³ΡΡΠ·ΠΊΠΈ Π΄Π²ΠΈΠ³Π°ΡΠ΅Π»Ρ, Π° ΡΠ°ΠΊΠΆΠ΅ Π½Π΅ ΠΏΠΎΠ·Π²ΠΎΠ»ΡΡ Π²ΠΊΠ»ΡΡΠΈΡΡ ΠΏΠΎΠ½ΠΈΠΆΠ°ΡΡΡΡ ΠΏΠ΅ΡΠ΅Π΄Π°ΡΡ Π½Π° ΡΠ»ΠΈΡΠΊΠΎΠΌ Π±ΠΎΠ»ΡΡΠΎΠΉ ΡΠΊΠΎΡΠΎΡΡΠΈ, ΡΡΠΎ ΠΈΡΠΊΠ»ΡΡΠ°Π΅Ρ Π²ΠΎΠ·ΠΌΠΎΠΆΠ½ΠΎΡΡΡ ΠΏΡΠ΅Π²ΡΡΠ΅Π½ΠΈΡ ΠΌΠ°ΠΊΡΠΈΠΌΠ°Π»ΡΠ½ΠΎ Π΄ΠΎΠΏΡΡΡΠΈΠΌΠΎΠΉ ΡΠ°ΡΡΠΎΡΡ Π²ΡΠ°ΡΠ΅Π½ΠΈΡ ΠΊΠΎΠ»Π΅Π½ΡΠ°ΡΠΎΠ³ΠΎ Π²Π°Π»Π° Π΄Π²ΠΈΠ³Π°ΡΠ΅Π»Ρ. ΠΡΠΈ ΡΠ½ΠΈΠΆΠ΅Π½ΠΈΠΈ ΡΠΊΠΎΡΠΎΡΡΠΈ Π°Π²ΡΠΎΠΌΠΎΠ±ΠΈΠ»Ρ ΠΏΠ΅ΡΠ΅Π΄Π°ΡΠΈ Π°Π²ΡΠΎΠΌΠ°ΡΠΈΡΠ΅ΡΠΊΠΈ ΠΏΠ΅ΡΠ΅ΠΊΠ»ΡΡΠ°ΡΡΡΡ Π½Π° Π±ΠΎΠ»Π΅Π΅ Π½ΠΈΠ·ΠΊΠΈΠ΅ Π±Π΅Π· ΡΡΠ°ΡΡΠΈΡ Π²ΠΎΠ΄ΠΈΡΠ΅Π»Ρ. Π ΠΌΠΎΠΌΠ΅Π½Ρ ΠΏΠΎΠ»Π½ΠΎΠΉ ΠΎΡΡΠ°Π½ΠΎΠ²ΠΊΠΈ Π°Π²ΡΠΎΠΌΠΎΠ±ΠΈΠ»Ρ Π°Π²ΡΠΎΠΌΠ°ΡΠΈΡΠ΅ΡΠΊΠΈ Π²ΠΊΠ»ΡΡΠ°Π΅ΡΡΡ I ΠΏΠ΅ΡΠ΅Π΄Π°ΡΠ°.
ΠΡΠΈΠ²ΠΎΠ΄ ΡΠΏΡΠ°Π²Π»Π΅Π½ΠΈΡ Π°Π²ΡΠΎΠΌΠ°ΡΠΈΡΠ΅ΡΠΊΠΎΠΉ ΠΊΠΎΡΠΎΠ±ΠΊΠΎΠΉ ΠΏΠ΅ΡΠ΅Π΄Π°Ρ ΡΡΠΎΡΠΎΠ²ΡΠΉ, ΡΠΊΠΎΠ½ΡΡΡΡΠΈΡΠΎΠ²Π°Π½ ΠΏΠΎ ΡΠΎΠΌΡ ΠΆΠ΅ ΠΏΡΠΈΠ½ΡΠΈΠΏΡ, ΡΡΠΎ ΠΈ ΠΏΡΠΈΠ²ΠΎΠ΄ ΡΠΏΡΠ°Π²Π»Π΅Π½ΠΈΡ ΠΌΠ΅Ρ
Π°Π½ΠΈΡΠ΅ΡΠΊΠΎΠΉ ΠΊΠΎΡΠΎΠ±ΠΊΠΎΠΉ, Π½ΠΎ ΠΎΡΠ»ΠΈΡΠ°Π΅ΡΡΡ ΠΎΡ Π½Π΅Π³ΠΎ ΠΊΠΎΠ»ΠΈΡΠ΅ΡΡΠ²ΠΎΠΌ ΠΈ ΠΊΠΎΠ½ΡΡΡΡΠΊΡΠΈΠ΅ΠΉ Π΄Π΅ΡΠ°Π»Π΅ΠΉ. Π‘Π΅Π»Π΅ΠΊΡΠΎΡ Π°Π²ΡΠΎΠΌΠ°ΡΠΈΡΠ΅ΡΠΊΠΎΠΉ ΠΊΠΎΡΠΎΠ±ΠΊΠΈ ΠΏΠ΅ΡΠ΅Π΄Π°Ρ ΡΡΡΠ°Π½ΠΎΠ²Π»Π΅Π½ Π½Π° ΡΠΎΠΌ ΠΆΠ΅ ΠΌΠ΅ΡΡΠ΅ Π½Π° ΡΠΎΠ½Π½Π΅Π»Π΅ ΠΏΠΎΠ»Π°, ΡΡΠΎ ΠΈ ΡΡΡΠ°Π³ ΡΠΏΡΠ°Π²Π»Π΅Π½ΠΈΡ ΠΌΠ΅Ρ
Π°Π½ΠΈΡΠ΅ΡΠΊΠΎΠΉ ΠΊΠΎΡΠΎΠ±ΠΊΠΎΠΉ, ΠΈ ΡΠΎΠ΅Π΄ΠΈΠ½Π΅Π½ Ρ Π±Π»ΠΎΠΊΠΎΠΌ ΡΠΏΡΠ°Π²Π»Π΅Π½ΠΈΡ Π½Π° ΠΊΠΎΡΠΎΠ±ΠΊΠ΅ ΠΏΠ΅ΡΠ΅Π΄Π°Ρ ΡΡΠΎΡΠΎΠΌ ΡΠΏΡΠ°Π²Π»Π΅Π½ΠΈΡ.
ΠΠΈΡΡΠ΅ΡΠ΅Π½ΡΠΈΠ°Π» Π°Π²ΡΠΎΠΌΠ°ΡΠΈΡΠ΅ΡΠΊΠΎΠΉ ΠΊΠΎΡΠΎΠ±ΠΊΠΈ ΠΏΠ΅ΡΠ΅Π΄Π°Ρ ΠΏΠΎ ΠΊΠΎΠ½ΡΡΡΡΠΊΡΠΈΠΈ ΠΏΠΎΠ»Π½ΠΎΡΡΡΡ Π°Π½Π°Π»ΠΎΠ³ΠΈΡΠ΅Π½ Π΄ΠΈΡΡΠ΅ΡΠ΅Π½ΡΠΈΠ°Π»Ρ ΠΌΠ΅Ρ
Π°Π½ΠΈΡΠ΅ΡΠΊΠΎΠΉ ΠΊΠΎΡΠΎΠ±ΠΊΠΈ ΠΏΠ΅ΡΠ΅Π΄Π°Ρ.
ΠΠ»Ρ ΡΠ΅ΠΌΠΎΠ½ΡΠ° ΠΊΠΎΡΠΎΠ±ΠΊΠΈ ΠΏΠ΅ΡΠ΅Π΄Π°Ρ, ΠΎΡΠΎΠ±Π΅Π½Π½ΠΎ Π°Π²ΡΠΎΠΌΠ°ΡΠΈΡΠ΅ΡΠΊΠΎΠΉ ΠΊΠΎΡΠΎΠ±ΠΊΠΈ, ΡΡΠ΅Π±ΡΠ΅ΡΡΡ Π±ΠΎΠ»ΡΡΠΎΠΉ Π½Π°Π±ΠΎΡ ΡΠΏΠ΅ΡΠΈΠ°Π»ΡΠ½ΠΎΠ³ΠΎ ΠΈΠ½ΡΡΡΡΠΌΠ΅Π½ΡΠ° ΠΈ ΡΠΎΠΎΡΠ²Π΅ΡΡΡΠ²ΡΡΡΠ°Ρ ΠΏΠΎΠ΄Π³ΠΎΡΠΎΠ²ΠΊΠ° ΠΈΡΠΏΠΎΠ»Π½ΠΈΡΠ΅Π»Ρ, ΠΏΠΎΡΡΠΎΠΌΡ Π² Π΄Π°Π½Π½ΠΎΠΌ ΡΠ°Π·Π΄Π΅Π»Π΅ ΡΠ°ΡΡΠΌΠΎΡΡΠ΅Π½Ρ ΡΠΎΠ»ΡΠΊΠΎ ΡΠ½ΡΡΠΈΠ΅ ΠΈ ΡΡΡΠ°Π½ΠΎΠ²ΠΊΠ° ΠΊΠΎΡΠΎΠ±ΠΊΠΈ ΠΏΠ΅ΡΠ΅Π΄Π°Ρ, Π·Π°ΠΌΠ΅Π½Π° Π΅Π΅ ΡΠΏΠ»ΠΎΡΠ½Π΅Π½ΠΈΠΉ, ΡΠ΅ΠΌΠΎΠ½Ρ ΠΏΡΠΈΠ²ΠΎΠ΄Π°. Π ΡΠ»ΡΡΠ°Π΅ Π½Π΅ΠΎΠ±Ρ
ΠΎΠ΄ΠΈΠΌΠΎΡΡΠΈ Π²ΡΠΏΠΎΠ»Π½ΡΠΉΡΠ΅ ΡΠ΅ΠΌΠΎΠ½Ρ ΠΊΠΎΡΠΎΠ±ΠΊΠΈ ΠΏΠ΅ΡΠ΅Π΄Π°Ρ Π½Π° ΡΠΏΠ΅ΡΠΈΠ°Π»ΠΈΠ·ΠΈΡΠΎΠ²Π°Π½Π½ΠΎΠΌ ΡΠ΅ΡΠ²ΠΈΡΠ΅.
autosecret.net
ΠΠ° Π°Π²ΡΠΎΠΌΠΎΠ±ΠΈΠ»ΠΈ Ford Focus 2 Π² Π±Π°Π·ΠΎΠ²ΠΎΠΉ ΠΊΠΎΠΌΠΏΠ»Π΅ΠΊΡΠ°ΡΠΈΠΈ ΡΡΡΠ°Π½Π°Π²Π»ΠΈΠ²Π°ΡΡ ΠΌΠ΅Ρ Π°Π½ΠΈΡΠ΅ΡΠΊΡΡ ΠΊΠΎΡΠΎΠ±ΠΊΡ ΠΏΠ΅ΡΠ΅Π΄Π°Ρ ΡΠΈΠΏΠ° iB5, ΠΠ’Π₯-75 ΠΈΠ»ΠΈ ΠΠΠ’6 (Π² Π·Π°Π²ΠΈΡΠΈΠΌΠΎΡΡΠΈ ΠΎΡ ΡΠΈΠΏΠ° ΠΏΡΠΈΠΌΠ΅Π½ΡΠ΅ΠΌΠΎΠ³ΠΎ Π΄Π²ΠΈΠ³Π°ΡΠ΅Π»Ρ). ΠΡΠ΅ ΠΌΠ΅Ρ Π°Π½ΠΈΡΠ΅ΡΠΊΠΈΠ΅ ΠΊΠΎΡΠΎΠ±ΠΊΠΈ ΠΏΠ΅ΡΠ΅Π΄Π°Ρ ΡΠ°Π·Π»ΠΈΡΠ°ΡΡΡΡ ΠΌΠ΅ΠΆΠ΄Ρ ΡΠΎΠ±ΠΎΠΉ ΠΏΠ΅ΡΠ΅Π΄Π°ΡΠΎΡΠ½ΡΠΌΠΈ ΡΠΈΡΠ»Π°ΠΌΠΈ ΠΈ ΠΊΠΎΠ½ΡΡΡΡΠΊΡΠΈΠ΅ΠΉ ΠΎΡΠ΄Π΅Π»ΡΠ½ΡΡ Π΄Π΅ΡΠ°Π»Π΅ΠΉ, Π½ΠΎ ΠΈΠΌΠ΅ΡΡ ΠΏΡΠΈΠ½ΡΠΈΠΏΠΈΠ°Π»ΡΠ½ΠΎ ΠΎΠ±ΡΡΡ ΠΊΠΎΠΌΠΏΠΎΠ½ΠΎΠ²ΠΊΡ (Ρ ΡΠ΅ΡΡΠΈΡΡΡΠΏΠ΅Π½ΡΠ°ΡΠΎΠΉ ΠΊΠΎΡΠΎΠ±ΠΊΠΈ ΠΠΠ’6 Π΅ΡΡΡ ΠΎΡΠ»ΠΈΡΠΈΡ Π² ΠΊΠΎΠΌΠΏΠΎΠ½ΠΎΠ²ΠΊΠ΅ ΠΈΠ·-Π·Π° Π½Π°Π»ΠΈΡΠΈΡ VI ΠΏΠ΅ΡΠ΅Π΄Π°ΡΠΈ) ΠΈ ΡΡΡΠ°Π½ΠΎΠ²ΠΎΡΠ½ΡΠ΅ ΡΠ°Π·ΠΌΠ΅ΡΡ. ΠΠΎ Π·Π°ΠΊΠ°Π·Ρ Π½Π° Π°Π²ΡΠΎΠΌΠΎΠ±ΠΈΠ»ΠΈ Ρ Π΄Π²ΠΈΠ³Π°ΡΠ΅Π»ΡΠΌΠΈ ΡΠ°Π±ΠΎΡΠΈΠΌ ΠΎΠ±ΡΠ΅ΠΌΠΎΠΌ 1,6 ΠΈ 2,0 Π» ΠΌΠΎΠ³ΡΡ Π±ΡΡΡ ΡΡΡΠ°Π½ΠΎΠ²Π»Π΅Π½Ρ ΠΏΡΡΠΈΡΡΡΠΏΠ΅Π½ΡΠ°ΡΡΠ΅ Π°Π²ΡΠΎΠΌΠ°ΡΠΈΡΠ΅ΡΠΊΠΈΠ΅ ΠΊΠΎΡΠΎΠ±ΠΊΠΈ ΠΏΠ΅ΡΠ΅Π΄Π°Ρ, ΡΡΡΠ°Π½ΠΎΠ²ΠΎΡΠ½ΡΠ΅ ΡΠ°Π·ΠΌΠ΅ΡΡ ΠΊΠΎΡΠΎΡΡΡ Π°Π½Π°Π»ΠΎΠ³ΠΈΡΠ½ΡΠ΅ ΡΠ°Π·ΠΌΠ΅ΡΠ°ΠΌ ΠΌΠ΅Ρ Π°Π½ΠΈΡΠ΅ΡΠΊΠΈΡ ΠΊΠΎΡΠΎΠ±ΠΎΠΊ. Π ΡΠ²ΡΠ·ΠΈ Ρ ΡΡΠΈΠΌ Π² Π΄Π°Π½Π½ΠΎΠΌ ΡΠ°Π·Π΄Π΅Π»Π΅ ΡΠ½ΡΡΠΈΠ΅ ΠΈ ΡΡΡΠ°Π½ΠΎΠ²ΠΊΠ° ΠΎΠΏΠΈΡΠ°Π½Ρ Π½Π° ΠΏΡΠΈΠΌΠ΅ΡΠ΅ ΡΠΎΠ»ΡΠΊΠΎ ΠΌΠ΅Ρ Π°Π½ΠΈΡΠ΅ΡΠΊΠΎΠΉ ΠΊΠΎΡΠΎΠ±ΠΊΠΈ ΠΏΠ΅ΡΠ΅Π΄Π°Ρ iB5. ΠΡΡΠ°Π»ΡΠ½ΡΠ΅ ΠΊΠΎΡΠΎΠ±ΠΊΠΈ ΠΏΠ΅ΡΠ΅Π΄Π°Ρ ΡΠ½ΠΈΠΌΠ°ΡΡ ΠΈ ΡΡΡΠ°Π½Π°Π²Π»ΠΈΠ²Π°ΡΡ ΠΏΡΠ°ΠΊΡΠΈΡΠ΅ΡΠΊΠΈ Π°Π½Π°Π»ΠΎΠ³ΠΈΡΠ½ΠΎ.
ΠΠ΅Ρ
Π°Π½ΠΈΡΠ΅ΡΠΊΠ°Ρ ΠΊΠΎΡΠΎΠ±ΠΊΠ° ΠΏΠ΅ΡΠ΅Π΄Π°Ρ Π²ΡΠΏΠΎΠ»Π½Π΅Π½Π° ΠΏΠΎ Π΄Π²ΡΡ
Π²Π°Π»ΡΠ½ΠΎΠΉ ΡΡ
Π΅ΠΌΠ΅ Ρ ΠΏΡΡΡΡ (Ρ ΠΊΠΎΡΠΎΠ±ΠΊΠΈ ΠΏΠ΅ΡΠ΅Π΄Π°Ρ ΠΠΠ’6 — Ρ ΡΠ΅ΡΡΡΡ) ΡΠΈΠ½Ρ
ΡΠΎΠ½ΠΈΠ·ΠΈΡΠΎΠ²Π°Π½Π½ΡΠΌΠΈ ΠΏΠ΅ΡΠ΅Π΄Π°ΡΠ°ΠΌΠΈ ΠΏΠ΅ΡΠ΅Π΄Π½Π΅Π³ΠΎ Ρ
ΠΎΠ΄Π°. ΠΠΎΡΠΎΠ±ΠΊΠ° ΠΏΠ΅ΡΠ΅Π΄Π°Ρ ΠΈ Π³Π»Π°Π²Π½Π°Ρ ΠΏΠ΅ΡΠ΅Π΄Π°ΡΠ° Ρ Π΄ΠΈΡΡΠ΅ΡΠ΅Π½ΡΠΈΠ°Π»ΠΎΠΌ ΠΈΠΌΠ΅ΡΡ ΠΎΠ±ΡΠΈΠΉ ΠΊΠ°ΡΡΠ΅Ρ 2
(ΡΠΈΡ. 6.4 ΠΈ 6.5). Π ΠΏΠ΅ΡΠ΅Π΄Π½Π΅ΠΉ ΡΠ°ΡΡΠΈ ΠΊΠ°ΡΡΠ΅ΡΠ° ΠΊΠΎΡΠΎΠ±ΠΊΠΈ ΠΏΠ΅ΡΠ΅Π΄Π°Ρ ΠΏΡΠΈΡΠΎΠ΅Π΄ΠΈΠ½Π΅Π½ ΠΊΠ°ΡΡΠ΅Ρ ΡΡΠ΅ΠΏΠ»Π΅Π½ΠΈΡ 6. ΠΠ° Π·Π°Π΄Π½ΡΡ ΡΠ°ΡΡΡ ΠΊΠ°ΡΡΠ΅ΡΠ° ΠΊΠΎΡΠΎΠ±ΠΊΠΈ ΠΏΠ΅ΡΠ΅Π΄Π°Ρ ΡΡΡΠ°Π½ΠΎΠ²Π»Π΅Π½Π° ΡΡΠ°Π»ΡΠ½Π°Ρ ΡΡΠ°ΠΌΠΏΠΎΠ²Π°Π½Π½Π°Ρ ΠΊΡΡΡΠΊΠ° 1
ΠΠ° ΠΏΠ΅ΡΠ²ΠΈΡΠ½ΠΎΠΌ Π²Π°Π»Ρ 7 ΡΠ°ΡΠΏΠΎΠ»ΠΎΠΆΠ΅Π½Π° Π·Π°ΡΠΈΠΊΡΠΈΡΠΎΠ²Π°Π½Π½Π°Ρ Π½Π° ΡΠ»ΠΈΡΠ°Ρ Π²Π°Π»Π° ΡΠ΅ΡΡΠ΅ΡΠ½Ρ V ΠΏΠ΅ΡΠ΅Π΄Π°ΡΠΈ Ρ ΡΠΈΠ½Ρ ΡΠΎΠ½ΠΈΠ·Π°ΡΠΎΡΠΎΠΌ, Π° Π²Π΅Π΄ΡΡΠΈΠ΅ ΡΠ΅ΡΡΠ΅ΡΠ½ΠΈ I, II, III ΠΈ IV ΠΏΠ΅ΡΠ΅Π΄Π°Ρ ΠΈΠ·Π³ΠΎΡΠΎΠ²Π»Π΅Π½Ρ Π·Π° ΠΎΠ΄Π½ΠΎ ΡΠ΅Π»ΠΎΠ΅ Ρ ΠΏΠ΅ΡΠ²ΠΈΡΠ½ΡΠΌ Π²Π°Π»ΠΎΠΌ.
ΠΡΠΎΡΠΈΡΠ½ΡΠΉ Π²Π°Π» 8 ΠΈΠ·Π³ΠΎΡΠΎΠ²Π»Π΅Π½ Π²ΠΌΠ΅ΡΡΠ΅ Ρ Π²Π΅Π΄ΡΡΠ΅ΠΉ ΡΠ΅ΡΡΠ΅ΡΠ½Π΅ΠΉ Π³Π»Π°Π²Π½ΠΎΠΉ ΠΏΠ΅ΡΠ΅Π΄Π°ΡΠΈ 9. ΠΡΠΎΠΌΠ΅ ΡΡΠΎΠ³ΠΎ Π½Π° Π²Π°Π»Ρ ΡΡΡΠ°Π½ΠΎΠ²Π»Π΅Π½Ρ ΡΠ²ΠΎΠ±ΠΎΠ΄Π½ΠΎ Π²ΡΠ°ΡΠ°ΡΡΠΈΠ΅ΡΡ Π½Π° ΠΏΠΎΠ΄ΡΠΈΠΏΠ½ΠΈΠΊΠ°Ρ ΡΠΊΠΎΠ»ΡΠΆΠ΅Π½ΠΈΡ Π²Π΅Π΄ΠΎΠΌΡΠ΅ ΡΠ΅ΡΡΠ΅ΡΠ½ΠΈ I, II, III, IV ΠΈ V ΠΏΠ΅ΡΠ΅Π΄Π°Ρ.
ΠΠ΅ΡΠ΅Π΄Π°ΡΠΈ ΠΏΠ΅ΡΠ΅Π΄Π½Π΅Π³ΠΎ Ρ ΠΎΠ΄Π° Π²ΠΊΠ»ΡΡΠ°ΡΡΡΡ ΠΎΡΠ΅Π²ΡΠΌ ΠΏΠ΅ΡΠ΅ΠΌΠ΅ΡΠ΅Π½ΠΈΠ΅ΠΌ ΠΌΡΡΡ Π΄Π²ΡΡ ΡΠΈΠ½Ρ ΡΠΎΠ½ΠΈΠ·Π°ΡΠΎΡΠΎΠ² HI ΠΈ IIIβIV ΠΏΠ΅ΡΠ΅Π΄Π°Ρ ΠΈ ΠΌΡΡΡΡ ΡΠΈΠ½Ρ ΡΠΎΠ½ΠΈΠ·Π°ΡΠΎΡΠ° V ΠΏΠ΅ΡΠ΅Π΄Π°ΡΠΈ, ΡΡΡΠ°Π½ΠΎΠ²Π»Π΅Π½Π½ΡΡ Π½Π° Π²ΡΠΎΡΠΈΡΠ½ΠΎΠΌ Π²Π°Π»Ρ. ΠΠ΅Ρ Π°Π½ΠΈΠ·ΠΌ ΠΏΠ΅ΡΠ΅ΠΊΠ»ΡΡΠ΅Π½ΠΈΡ ΠΏΠ΅ΡΠ΅Π΄Π°Ρ ΡΠ°ΡΠΏΠΎΠ»ΠΎΠΆΠ΅Π½ Π²Π½ΡΡΡΠΈ ΠΊΠ°ΡΡΠ΅ΡΠ° ΠΊΠΎΡΠΎΠ±ΠΊΠΈ ΠΏΠ΅ΡΠ΅Π΄Π°Ρ Ρ Π΅Π³ΠΎ Π»Π΅Π²ΠΎΠΉ ΡΡΠΎΡΠΎΠ½Ρ. Π‘Π½Π°ΡΡΠΆΠΈ Π½Π°Ρ ΠΎΠ΄ΡΡΡΡ Π΄Π²Π° ΡΡΡΠ°Π³Π° ΠΌΠ΅Ρ Π°Π½ΠΈΠ·ΠΌΠ°: ΡΡΡΠ°Π³ 3Β Π²ΡΠ±ΠΎΡΠ° ΠΏΠ΅ΡΠ΅Π΄Π°ΡΠΈ ΠΈ ΡΡΡΠ°Π³ 10 ΠΏΠ΅ΡΠ΅ΠΊΠ»ΡΡΠ΅Π½ΠΈΡ.
ΠΡΠΈΠ²ΠΎΠ΄ ΡΠΏΡΠ°Π²Π»Π΅Π½ΠΈΡ ΠΌΠ΅Ρ Π°Π½ΠΈΡΠ΅ΡΠΊΠΎΠΉ ΠΊΠΎΡΠΎΠ±ΠΊΠΎΠΉ ΠΏΠ΅ΡΠ΅Π΄Π°Ρ ΡΠΎΡΡΠΎΠΈΡ ΠΈΠ· ΠΊΡΠ»ΠΈΡΡ ΡΡΡΠ°Π³Π° ΠΏΠ΅ΡΠ΅ΠΊΠ»ΡΡΠ΅Π½ΠΈΡ ΠΏΠ΅ΡΠ΅Π΄Π°Ρ Ρ ΡΠ°ΡΠΎΠ²ΠΎΠΉ ΠΎΠΏΠΎΡΠΎΠΉ, ΡΡΡΠ°Π½ΠΎΠ²Π»Π΅Π½Π½ΠΎΠΉ Π½Π° ΠΎΡΠ½ΠΎΠ²Π°Π½ΠΈΠΈ ΠΊΡΠ·ΠΎΠ²Π°, Π΄Π²ΡΡ ΡΡΠΎΡΠΎΠ² ΠΏΠ΅ΡΠ΅ΠΊΠ»ΡΡΠ΅Π½ΠΈΡ ΠΈ Π²ΡΠ±ΠΎΡΠ° ΠΏΠ΅ΡΠ΅Π΄Π°Ρ, Π° ΡΠ°ΠΊΠΆΠ΅ ΠΌΠ΅Ρ Π°Π½ΠΈΠ·ΠΌΠ°, ΡΡΡΠ°Π½ΠΎΠ²Π»Π΅Π½Π½ΠΎΠ³ΠΎ Π² ΠΊΠ°ΡΡΠ΅ΡΠ΅ ΠΊΠΎΡΠΎΠ±ΠΊΠΈ ΠΏΠ΅ΡΠ΅Π΄Π°Ρ. ΠΠ»Ρ ΠΎΠ±Π΅ΡΠΏΠ΅ΡΠ΅Π½ΠΈΡ ΡΠ΅ΡΠΊΠΎΠ³ΠΎ Π²ΠΊΠ»ΡΡΠ΅Π½ΠΈΡ ΠΏΠ΅ΡΠ΅Π΄Π°Ρ ΡΡΡΠ°Π³ 10 ΠΏΠ΅ΡΠ΅ΠΊΠ»ΡΡΠ΅Π½ΠΈΡ ΠΏΠ΅ΡΠ΅Π΄Π°Ρ ΠΌΠ΅Ρ Π°Π½ΠΈΠ·ΠΌΠ° ΠΏΠ΅ΡΠ΅ΠΊΠ»ΡΡΠ΅Π½ΠΈΡ ΠΈΠ·Π³ΠΎΡΠΎΠ²Π»Π΅Π½ Π·Π° ΠΎΠ΄Π½ΠΎ ΡΠ΅Π»ΠΎΠ΅ Ρ ΠΌΠ°ΡΡΠΈΠ²Π½ΡΠΌ ΠΏΡΠΎΡΠΈΠ²ΠΎΠ²Π΅ΡΠΎΠΌ. Π’ΡΠΎΡΡ Π²ΡΠ±ΠΎΡΠ° ΠΈ ΠΏΠ΅ΡΠ΅ΠΊΠ»ΡΡΠ΅Π½ΠΈΡ ΠΏΠ΅ΡΠ΅Π΄Π°Ρ ΠΊΠΎΠ½ΡΡΡΡΠΊΡΠΈΠ²Π½ΠΎ ΠΎΡΠ»ΠΈΡΠ°ΡΡΡΡ Π΄ΡΡΠ³ ΠΎΡ Π΄ΡΡΠ³Π° ΠΈ Π½Π΅Π²Π·Π°ΠΈΠΌΠΎΠ·Π°ΠΌΠ΅Π½ΡΠ΅ΠΌΡ.
ΠΠ»Π°Π²Π½Π°Ρ ΠΏΠ΅ΡΠ΅Π΄Π°ΡΠ° Π²ΡΠΏΠΎΠ»Π½Π΅Π½Π° Π² Π²ΠΈΠ΄Π΅ ΠΏΠ°ΡΡ ΡΠΈΠ»ΠΈΠ½Π΄ΡΠΈΡΠ΅ΡΠΊΠΈΡ ΡΠ΅ΡΡΠ΅ΡΠ΅Π½, ΠΏΠΎΠ΄ΠΎΠ±ΡΠ°Π½Π½ΡΡ ΠΏΠΎ ΡΡΠΌΡ. ΠΡΡΡΡΡΠΈΠΉ ΠΌΠΎΠΌΠ΅Π½Ρ ΠΏΠ΅ΡΠ΅Π΄Π°Π΅ΡΡΡ ΠΎΡ Π²Π΅Π΄ΠΎΠΌΠΎΠΉ ΡΠ΅ΡΡΠ΅ΡΠ½ΠΈ Π³Π»Π°Π²Π½ΠΎΠΉ ΠΏΠ΅ΡΠ΅Π΄Π°ΡΠΈ Π½Π° Π΄ΠΈΡΡΠ΅ΡΠ΅Π½ΡΠΈΠ°Π» ΠΈ Π΄Π°Π»Π΅Π΅ Π½Π° ΠΏΡΠΈΠ²ΠΎΠ΄Ρ ΠΏΠ΅ΡΠ΅Π΄Π½ΠΈΡ ΠΊΠΎΠ»Π΅Ρ.
ΠΠΈΡΡΠ΅ΡΠ΅Π½ΡΠΈΠ°Π» ΠΊΠΎΠ½ΠΈΡΠ΅ΡΠΊΠΈΠΉ, Π΄Π²ΡΡ ΡΠ°ΡΠ΅Π»Π»ΠΈΡ-Π½ΡΠΉ. ΠΠ΅ΡΠΌΠ΅ΡΠΈΡΠ½ΠΎΡΡΡ ΡΠΎΠ΅Π΄ΠΈΠ½Π΅Π½ΠΈΡ Π²Π½ΡΡΡΠ΅Π½Π½ΠΈΡ ΡΠ°ΡΠ½ΠΈΡΠΎΠ² ΠΏΡΠΈΠ²ΠΎΠ΄ΠΎΠ² ΠΏΠ΅ΡΠ΅Π΄Π½ΠΈΡ ΠΊΠΎΠ»Π΅Ρ Ρ ΡΠ΅ΡΡΠ΅ΡΠ½ΡΠΌΠΈ Π΄ΠΈΡΡΠ΅ΡΠ΅Π½ΡΠΈΠ°Π»Π° ΠΎΠ±Π΅ΡΠΏΠ΅ΡΠΈΠ²Π°Π΅ΡΡΡ ΡΠ°Π»ΡΠ½ΠΈΠΊΠ°ΠΌΠΈ 12.
ΠΠ²ΡΠΎΠΌΠ°ΡΠΈΡΠ΅ΡΠΊΠ°Ρ ΠΊΠΎΡΠΎΠ±ΠΊΠ° ΠΏΠ΅ΡΠ΅Π΄Π°Ρ Ρ Π°Π΄Π°ΠΏΡΠΈΠ²Π½ΠΎΠΉ ΡΠΈΡΡΠ΅ΠΌΠΎΠΉ ΡΠΏΡΠ°Π²Π»Π΅Π½ΠΈΡ ΠΎΠ±Π΅ΡΠΏΠ΅ΡΠΈΠ²Π°Π΅Ρ Π²ΡΠ±ΠΎΡ ΠΎΠΏΡΠΈΠΌΠ°Π»ΡΠ½ΠΎΠ³ΠΎ ΡΠ΅ΠΆΠΈΠΌΠ° ΠΏΠ΅ΡΠ΅ΠΊΠ»ΡΡΠ΅Π½ΠΈΡ ΠΏΠ΅ΡΠ΅Π΄Π°Ρ ΠΏΡΠ°ΠΊΡΠΈΡΠ΅ΡΠΊΠΈ Π΄Π»Ρ Π»ΡΠ±ΡΡ ΡΡΠΈΠ»Π΅ΠΉ Π²ΠΎΠΆΠ΄Π΅Π½ΠΈΡ ΠΈ Π΄ΠΎΡΠΎΠΆΠ½ΡΡ ΡΡΠ»ΠΎΠ²ΠΈΠΉ. ΠΠ²ΡΠΎΠΌΠ°ΡΠΈΡΠ΅ΡΠΊΠΈΠ΅ ΠΊΠΎΡΠΎΠ±ΠΊΠΈ ΠΏΠ΅ΡΠ΅Π΄Π°Ρ, ΡΡΡΠ°Π½Π°Π²Π»ΠΈΠ²Π°Π΅ΠΌΡΠ΅ Ρ Π΄Π²ΠΈΠ³Π°ΡΠ΅Π»ΡΠΌΠΈ ΡΠ°Π±ΠΎΡΠΈΠΌ ΠΎΠ±ΡΠ΅ΠΌΠΎΠΌ 1,6 ΠΈ 2,0 Π», ΠΎΠ΄ΠΈΠ½Π°ΠΊΠΎΠ²Ρ ΠΏΠΎ ΠΊΠΎΠ½ΡΡΡΡΠΊΡΠΈΠΈ ΠΈ ΡΠ°Π·Π»ΠΈΡΠ°ΡΡΡΡ ΡΠΎΠ»ΡΠΊΠΎ ΠΏΠ΅ΡΠ΅Π΄Π°ΡΠΎΡΠ½ΡΠΌΠΈ ΡΠΈΡΠ»Π°ΠΌΠΈ.
ΠΠ²ΡΠΎΠΌΠ°ΡΠΈΡΠ΅ΡΠΊΠ°Ρ ΠΊΠΎΡΠΎΠ±ΠΊΠ° ΠΏΠ΅ΡΠ΅Π΄Π°Ρ ΡΠΊΠΎΠΌΠΏΠΎΠ½ΠΎΠ²Π°Π½Π° ΠΏΠΎ ΡΡΠ°Π΄ΠΈΡΠΈΠΎΠ½Π½ΠΎΠΉ ΠΏΠ»Π°Π½Π΅ΡΠ°ΡΠ½ΠΎΠΉ ΡΡ Π΅ΠΌΠ΅ Ρ ΡΠΎΡΠΌΠΎΠΆΠ΅Π½ΠΈΠ΅ΠΌ ΡΡΠΈΠΊΡΠΈΠΎΠ½Π°ΠΌΠΈ ΠΈ ΡΠΎΠ΅Π΄ΠΈΠ½Π΅Π½Π° Ρ ΠΊΠΎΠ»Π΅Π½ΡΠ°ΡΡΠΌ Π²Π°Π»ΠΎΠΌ Π΄Π²ΠΈΠ³Π°ΡΠ΅Π»Ρ ΡΠ΅ΡΠ΅Π· Π³ΠΈΠ΄ΡΠΎΡΡΠ°Π½ΡΡΠΎΡΠΌΠ°ΡΠΎΡ. ΠΡΠΎΠ±Π΅Π½Π½ΠΎΡΡΡΡ ΠΊΠΎΡΠΎΠ±ΠΊΠΈ Π°Π²ΡΠΎΠΌΠΎΠ±ΠΈΠ»Π΅ΠΉ Ford Focus 2 ΠΏΠΎ ΡΡΠ°Π²Π½Π΅Π½ΠΈΡ Ρ Π°Π²ΡΠΎΠΌΠ°ΡΠΈΡΠ΅ΡΠΊΠΈΠΌΠΈ ΠΊΠΎΡΠΎΠ±ΠΊΠ°ΠΌΠΈ ΠΏΠ΅ΡΠ΅Π΄Π°Ρ ΠΏΡΠ΅Π΄ΡΠ΄ΡΡΠΈΡ ΠΏΠΎΠΊΠΎΠ»Π΅Π½ΠΈΠΉ ΡΠ²Π»ΡΠ΅ΡΡΡ Π²ΠΎΠ·ΠΌΠΎΠΆΠ½ΠΎΡΡΡ ΠΏΠ΅ΡΠ΅Ρ ΠΎΠ΄Π° ΠΈΠ· ΠΏΠΎΠ»Π½ΠΎΡΡΡΡ Π°Π²ΡΠΎΠΌΠ°ΡΠΈΡΠ΅ΡΠΊΠΎΠ³ΠΎ ΡΠ΅ΠΆΠΈΠΌΠ° ΡΠΏΡΠ°Π²Π»Π΅Π½ΠΈΡ Π² ΡΡΡΠ½ΠΎΠΉ ΡΠ΅ΠΆΠΈΠΌ (ΡΠ°ΠΊ Π½Π°Π·ΡΠ²Π°Π΅ΠΌΠ°Ρ ΡΠ΅ΠΊΠ²Π΅Π½-ΡΠ°Π»ΡΠ½Π°Ρ ΠΊΠΎΡΠΎΠ±ΠΊΠ° ΠΏΠ΅ΡΠ΅Π΄Π°Ρ), ΠΏΡΠΈ ΠΊΠΎΡΠΎΡΠΎΠΌ Π²ΠΎΠ΄ΠΈΡΠ΅Π»Ρ Π²ΠΎ Π²ΡΠ΅ΠΌΡ ΡΠ°Π·Π³ΠΎΠ½Π° Π°Π²ΡΠΎΠΌΠΎΠ±ΠΈΠ»Ρ ΡΠ°ΠΌΠΎΡΡΠΎΡΡΠ΅Π»ΡΠ½ΠΎ Π²ΡΠ±ΠΈΡΠ°Π΅Ρ ΠΌΠΎΠΌΠ΅Π½Ρ ΠΏΠ΅ΡΠ΅ΠΊΠ»ΡΡΠ΅Π½ΠΈΡ Π½Π° ΠΏΠΎΠ²ΡΡΠ°ΡΡΡΡ ΠΏΠ΅ΡΠ΅Π΄Π°ΡΡ. ΠΡΠΎ ΠΏΠΎΠ·Π²ΠΎΠ»ΡΠ΅Ρ ΠΏΡΠΈ ΠΆΠ΅Π»Π°Π½ΠΈΠΈ Π΄ΠΎΠ±ΠΈΡΡΡΡ Π±ΠΎΠ»Π΅Π΅ ΠΈΠ½ΡΠ΅Π½ΡΠΈΠ²Π½ΠΎΠ³ΠΎ ΡΠ°Π·Π³ΠΎΠ½Π° ΠΏΠΎ ΡΡΠ°Π²Π½Π΅Π½ΠΈΡ Ρ Π°Π²ΡΠΎΠΌΠ°ΡΠΈΡΠ΅ΡΠΊΠΈΠΌ ΡΠ΅ΠΆΠΈΠΌΠΎΠΌ, ΠΈΡΠΊΡΡΡΡΠ²Π΅Π½Π½ΠΎ Π·Π°Π΄Π΅ΡΠΆΠΈΠ²Π°Ρ ΠΏΠ΅ΡΠ΅ΠΊΠ»ΡΡΠ΅Π½ΠΈΠ΅ Π½Π° ΠΏΠΎΠ²ΡΡΠ°ΡΡΡΡ ΠΏΠ΅ΡΠ΅Π΄Π°ΡΡ, ΡΡΠΎ ΠΏΠΎΠ·Π²ΠΎΠ»ΡΠ΅Ρ Π΄ΠΎΠ²Π΅ΡΡΠΈ ΡΠ°ΡΡΠΎΡΡ Π²ΡΠ°ΡΠ΅Π½ΠΈΡ ΠΊΠΎΠ»Π΅Π½ΡΠ°ΡΠΎΠ³ΠΎ Π²Π°Π»Π° Π΄Π²ΠΈΠ³Π°ΡΠ΅Π»Ρ Π΄ΠΎ Π΄ΠΈΠ°ΠΏΠ°Π·ΠΎΠ½Π° Π½Π°ΠΈΠ±ΠΎΠ»ΡΡΠ΅Π³ΠΎ ΠΊΡΡΡΡΡΠ΅Π³ΠΎ ΠΌΠΎΠΌΠ΅Π½ΡΠ°. Π ΡΠΎ ΠΆΠ΅ Π²ΡΠ΅ΠΌΡ ΡΠ»Π΅ΠΊΡΡΠΎΠ½Π½Π°Ρ ΡΠΈΡΡΠ΅ΠΌΠ° ΡΠΏΡΠ°Π²Π»Π΅Π½ΠΈΡ ΠΏΠΎΡΡΠΎΡΠ½Π½ΠΎ ΠΊΠΎΠ½ΡΡΠΎΠ»ΠΈΡΡΠ΅Ρ ΡΠΊΠΎΡΠΎΡΡΡ Π°Π²ΡΠΎΠΌΠΎΠ±ΠΈΠ»Ρ ΠΈ Π½Π°Π³ΡΡΠ·ΠΊΡ Π΄Π²ΠΈΠ³Π°ΡΠ΅Π»Ρ, ΠΈΡΠΊΠ»ΡΡΠ°Π΅Ρ ΠΎΡΠΈΠ±ΠΊΠΈ Π²ΠΎΠ΄ΠΈΡΠ΅Π»Ρ, Π½Π΅ ΠΏΠΎΠ·Π²ΠΎΠ»ΡΡ Π΅ΠΌΡ Π²ΠΊΠ»ΡΡΠΈΡΡ Π±ΠΎΠ»Π΅Π΅ Π²ΡΡΠΎΠΊΡΡ ΠΏΠ΅ΡΠ΅Π΄Π°ΡΡ ΠΏΡΠΈ ΠΌΠ°Π»ΠΎΠΉ ΡΠΊΠΎΡΠΎΡΡΠΈ Π΄Π²ΠΈΠΆΠ΅Π½ΠΈΡ, ΡΡΠΎΠ±Ρ ΠΈΠ·Π±Π΅ΠΆΠ°ΡΡ ΠΏΠ΅ΡΠ΅Π³ΡΡΠ·ΠΊΠΈ Π΄Π²ΠΈΠ³Π°ΡΠ΅Π»Ρ, Π° ΡΠ°ΠΊΠΆΠ΅ Π½Π΅ ΠΏΠΎΠ·Π²ΠΎΠ»ΡΡ Π²ΠΊΠ»ΡΡΠΈΡΡ ΠΏΠΎΠ½ΠΈΠΆΠ°ΡΡΡΡ ΠΏΠ΅ΡΠ΅Π΄Π°ΡΡ Π½Π° ΡΠ»ΠΈΡΠΊΠΎΠΌ Π±ΠΎΠ»ΡΡΠΎΠΉ ΡΠΊΠΎΡΠΎΡΡΠΈ, ΡΡΠΎ ΠΈΡΠΊΠ»ΡΡΠ°Π΅Ρ Π²ΠΎΠ·ΠΌΠΎΠΆΠ½ΠΎΡΡΡ ΠΏΡΠ΅Π²ΡΡΠ΅Π½ΠΈΡ ΠΌΠ°ΠΊΡΠΈΠΌΠ°Π»ΡΠ½ΠΎ Π΄ΠΎΠΏΡΡΡΠΈΠΌΠΎΠΉ ΡΠ°ΡΡΠΎΡΡ Π²ΡΠ°ΡΠ΅Π½ΠΈΡ ΠΊΠΎΠ»Π΅Π½ΡΠ°ΡΠΎΠ³ΠΎ Π²Π°Π»Π° Π΄Π²ΠΈΠ³Π°ΡΠ΅Π»Ρ. ΠΡΠΈ ΡΠ½ΠΈΠΆΠ΅Π½ΠΈΠΈ ΡΠΊΠΎΡΠΎΡΡΠΈ Π°Π²ΡΠΎΠΌΠΎΠ±ΠΈΠ»Ρ ΠΏΠ΅ΡΠ΅Π΄Π°ΡΠΈ Π°Π²ΡΠΎΠΌΠ°ΡΠΈΡΠ΅ΡΠΊΠΈ ΠΏΠ΅ΡΠ΅ΠΊΠ»ΡΡΠ°ΡΡΡΡ Π½Π° Π±ΠΎΠ»Π΅Π΅ Π½ΠΈΠ·ΠΊΠΈΠ΅ Π±Π΅Π· ΡΡΠ°ΡΡΠΈΡ Π²ΠΎΠ΄ΠΈΡΠ΅Π»Ρ. Π ΠΌΠΎΠΌΠ΅Π½Ρ ΠΏΠΎΠ»Π½ΠΎΠΉ ΠΎΡΡΠ°Π½ΠΎΠ²ΠΊΠΈ Π°Π²ΡΠΎΠΌΠΎΠ±ΠΈΠ»Ρ Π°Π²ΡΠΎΠΌΠ°ΡΠΈΡΠ΅ΡΠΊΠΈ Π²ΠΊΠ»ΡΡΠ°Π΅ΡΡΡ I ΠΏΠ΅ΡΠ΅Π΄Π°ΡΠ°.
ΠΡΠΈΠ²ΠΎΠ΄ ΡΠΏΡΠ°Π²Π»Π΅Π½ΠΈΡ Π°Π²ΡΠΎΠΌΠ°ΡΠΈΡΠ΅ΡΠΊΠΎΠΉ ΠΊΠΎΡΠΎΠ±ΠΊΠΎΠΉ ΠΏΠ΅ΡΠ΅Π΄Π°Ρ ΡΡΠΎΡΠΎΠ²ΡΠΉ, ΡΠΊΠΎΠ½ΡΡΡΡΠΈΡΠΎΠ²Π°Π½ ΠΏΠΎ ΡΠΎΠΌΡ ΠΆΠ΅ ΠΏΡΠΈΠ½ΡΠΈΠΏΡ, ΡΡΠΎ ΠΈ ΠΏΡΠΈΠ²ΠΎΠ΄ ΡΠΏΡΠ°Π²Π»Π΅Π½ΠΈΡ ΠΌΠ΅Ρ Π°Π½ΠΈΡΠ΅ΡΠΊΠΎΠΉ ΠΊΠΎΡΠΎΠ±ΠΊΠΎΠΉ, Π½ΠΎ ΠΎΡΠ»ΠΈΡΠ°Π΅ΡΡΡ ΠΎΡ Π½Π΅Π³ΠΎ ΠΊΠΎΠ»ΠΈΡΠ΅ΡΡΠ²ΠΎΠΌ ΠΈ ΠΊΠΎΠ½ΡΡΡΡΠΊΡΠΈΠ΅ΠΉ Π΄Π΅ΡΠ°Π»Π΅ΠΉ. Π‘Π΅Π»Π΅ΠΊΡΠΎΡ Π°Π²ΡΠΎΠΌΠ°ΡΠΈΡΠ΅ΡΠΊΠΎΠΉ ΠΊΠΎΡΠΎΠ±ΠΊΠΈ ΠΏΠ΅ΡΠ΅Π΄Π°Ρ ΡΡΡΠ°Π½ΠΎΠ²Π»Π΅Π½ Π½Π° ΡΠΎΠΌ ΠΆΠ΅ ΠΌΠ΅ΡΡΠ΅ Π½Π° ΡΠΎΠ½Π½Π΅Π»Π΅ ΠΏΠΎΠ»Π°, ΡΡΠΎ ΠΈ ΡΡΡΠ°Π³ ΡΠΏΡΠ°Π²Π»Π΅Π½ΠΈΡ ΠΌΠ΅Ρ Π°Π½ΠΈΡΠ΅ΡΠΊΠΎΠΉ ΠΊΠΎΡΠΎΠ±ΠΊΠΎΠΉ, ΠΈ ΡΠΎΠ΅Π΄ΠΈΠ½Π΅Π½ Ρ Π±Π»ΠΎΠΊΠΎΠΌ ΡΠΏΡΠ°Π²Π»Π΅Π½ΠΈΡ Π½Π° ΠΊΠΎΡΠΎΠ±ΠΊΠ΅ ΠΏΠ΅ΡΠ΅Π΄Π°Ρ ΡΡΠΎΡΠΎΠΌ ΡΠΏΡΠ°Π²Π»Π΅Π½ΠΈΡ.
ΠΠΈΡΡΠ΅ΡΠ΅Π½ΡΠΈΠ°Π» Π°Π²ΡΠΎΠΌΠ°ΡΠΈΡΠ΅ΡΠΊΠΎΠΉ ΠΊΠΎΡΠΎΠ±ΠΊΠΈ ΠΏΠ΅ΡΠ΅Π΄Π°Ρ ΠΏΠΎ ΠΊΠΎΠ½ΡΡΡΡΠΊΡΠΈΠΈ ΠΏΠΎΠ»Π½ΠΎΡΡΡΡ Π°Π½Π°Π»ΠΎΠ³ΠΈΡΠ΅Π½ Π΄ΠΈΡΡΠ΅ΡΠ΅Π½ΡΠΈΠ°Π»Ρ ΠΌΠ΅Ρ Π°Π½ΠΈΡΠ΅ΡΠΊΠΎΠΉ ΠΊΠΎΡΠΎΠ±ΠΊΠΈ ΠΏΠ΅ΡΠ΅Π΄Π°Ρ.
Β

ΠΠ΅Ρ
Π°Π½ΠΈΡΠ΅ΡΠΊΠ°Ρ ΠΊΠΎΡΠΎΠ±ΠΊΠ° ΠΏΠ΅ΡΠ΅Π΄Π°Ρ Π€ΠΎΡΠ΄ Π€ΠΎΠΊΡΡ 2 (ΠΊΠΎΠΆΡΡ
ΠΌΠ΅Ρ
Π°Π½ΠΈΠ·ΠΌΠ° ΠΏΠ΅ΡΠ΅ΠΊΠ»ΡΡΠ΅Π½ΠΈΡ ΠΏΠ΅ΡΠ΅Π΄Π°Ρ ΡΠ½ΡΡ Π΄Π»Ρ Π½Π°Π³Π»ΡΠ΄Π½ΠΎΡΡΠΈ): 1 — ΠΊΡΡΡΠΊΠ° ΠΊΠ°ΡΡΠ΅ΡΠ° ΠΊΠΎΡΠΎΠ±ΠΊΠΈ ΠΏΠ΅ΡΠ΅Π΄Π°Ρ; 2 — ΠΊΠ°ΡΡΠ΅Ρ ΠΊΠΎΡΠΎΠ±ΠΊΠΈ ΠΏΠ΅ΡΠ΅Π΄Π°Ρ; 3 — ΡΡΡΠ°Π³ Π²ΡΠ±ΠΎΡΠ° ΠΏΠ΅ΡΠ΅Π΄Π°Ρ; 4 — ΠΊΡΠΎΠ½ΡΡΠ΅ΠΉΠ½ ΠΊΡΠ΅ΠΏΠ»Π΅Π½ΠΈΡ ΡΡΠΎΡΠΎΠ² ΡΠΏΡΠ°Π²Π»Π΅Π½ΠΈΡ ΠΊΠΎΡΠΎΠ±ΠΊΠΎΠΉ ΠΏΠ΅ΡΠ΅Π΄Π°Ρ; 5 — Π²ΡΠΊΠ»ΡΡΠ°ΡΠ΅Π»Ρ ΡΠ²Π΅ΡΠ° Π·Π°Π΄Π½Π΅Π³ΠΎ Ρ
ΠΎΠ΄Π°; 6 — ΠΊΠ°ΡΡΠ΅Ρ ΡΡΠ΅ΠΏΠ»Π΅Π½ΠΈΡ; 7 — ΠΏΠ΅ΡΠ΅Ρ
ΠΎΠ΄Π½ΠΈΠΊ ΡΠ°Π±ΠΎΡΠ΅Π³ΠΎ ΡΠΈΠ»ΠΈΠ½Π΄ΡΠ° ΠΏΡΠΈΠ²ΠΎΠ΄Π° Π²ΡΠΊΠ»ΡΡΠ΅Π½ΠΈΡ ΡΡΠ΅ΠΏΠ»Π΅Π½ΠΈΡ; 8 — ΡΠ°ΠΏΡΠ½; 9 — ΠΊΡΠΎΠ½ΡΡΠ΅ΠΉΠ½ ΠΊΡΠ΅ΠΏΠ»Π΅Π½ΠΈΡ ΡΡΡΠ±ΠΎΠΏΡΠΎΠ²ΠΎΠ΄Π° Π³ΠΈΠ΄ΡΠΎΠΏΡΠΈΠ²ΠΎΠ΄Π° Π²ΡΠΊΠ»ΡΡΠ΅Π½ΠΈΡ ΡΡΠ΅ΠΏΠ»Π΅Π½ΠΈΡ; 10 — ΡΡΡΠ°Π³ ΠΏΠ΅ΡΠ΅ΠΊΠ»ΡΡΠ΅Π½ΠΈΡ ΠΏΠ΅ΡΠ΅Π΄Π°Ρ; 11 — Π΄Π°ΡΡΠΈΠΊ ΡΠΊΠΎΡΠΎΡΡΠΈ; 12 — ΡΠ°Π»ΡΠ½ΠΈΠΊ ΠΏΠΎΠ»ΡΠΎΡΠΈ
Β

ΠΡΠΈΠ½ΡΠΈΠΏΠΈΠ°Π»ΡΠ½Π°Ρ ΡΡ
Π΅ΠΌΠ° ΠΏΡΡΠΈΡΡΡΠΏΠ΅Π½ΡΠ°ΡΠΎΠΉ ΠΌΠ΅Ρ
Π°Π½ΠΈΡΠ΅ΡΠΊΠΎΠΉ ΠΊΠΎΡΠΎΠ±ΠΊΠΈ ΠΏΠ΅ΡΠ΅Π΄Π°Ρ: 1 — Π·Π°Π΄Π½ΡΡ ΠΊΡΡΡΠΊΠ° ΠΊΠ°ΡΡΠ΅ΡΠ° ΠΊΠΎΡΠΎΠ±ΠΊΠΈ ΠΏΠ΅ΡΠ΅Π΄Π°Ρ; 2 — ΠΊΠ°ΡΡΠ΅Ρ ΠΊΠΎΡΠΎΠ±ΠΊΠΈ ΠΏΠ΅ΡΠ΅Π΄Π°Ρ; 3 — ΡΠ°ΠΏΡΠ½; 4 — ΡΠ°Π±ΠΎΡΠΈΠΉ ΡΠΈΠ»ΠΈΠ½Π΄Ρ Π³ΠΈΠ΄ΡΠΎΠΏΡΠΈΠ²ΠΎΠ΄Π° Π²ΡΠΊΠ»ΡΡΠ΅Π½ΠΈΡ ΡΡΠ΅ΠΏΠ»Π΅Π½ΠΈΡ; 5 — ΠΊΠ°ΡΡΠ΅Ρ ΡΡΠ΅ΠΏΠ»Π΅Π½ΠΈΡ; 6 — ΠΏΠΎΠ΄ΡΠΈΠΏΠ½ΠΈΠΊ Π²ΡΠΊΠ»ΡΡΠ΅Π½ΠΈΡ ΡΡΠ΅ΠΏΠ»Π΅Π½ΠΈΡ; 7 — ΠΏΠ΅ΡΠ²ΠΈΡΠ½ΡΠΉ Π²Π°Π»; 8 — Π²ΡΠΎΡΠΈΡΠ½ΡΠΉ Π²Π°Π»; 9 — Π³Π»Π°Π²Π½Π°Ρ ΠΏΠ΅ΡΠ΅Π΄Π°ΡΠ° ΠΈ Π΄ΠΈΡΡΠ΅ΡΠ΅Π½ΡΠΈΠ°Π»
www.fordclubrus.ru
Π‘ΠΎΠ΄Π΅ΡΠΆΠ°Π½ΠΈΠ΅ ΡΡΠ°ΡΡΠΈ:
0:371. ΠΠΠΠ IB5 ΠΈΠ·ΠΌΠ΅Π½Π΅Π½ΠΈΠ΅ ΠΏΠ΅ΡΠ΅Π΄Π°ΡΠΎΡΠ½ΡΡ ΡΠΈΡΠ΅Π» Π² Ford Focus 3
0:1292. ΠΠ°ΠΌΠ΅Π½Π° ΠΌΠ°ΡΠ»Π° Π² ΠΠΠΠ Ford Focus 3
0:1863. ΠΠ°ΠΌΠ΅Π½Π° ΠΠΠΠ Ford Focus 3 Π½Π° ΠΠΠΠ
0:243Π ΡΡΠΎΠΉ Π·Π°ΠΏΠΈΡΠΈ Ρ
ΠΎΡΠ΅Π» ΠΏΠΎΠ΄Π΅Π»ΠΈΡΡΡΡ ΠΈΠ½ΡΠΎΡΠΌΠ°ΡΠΈΠ΅ΠΉ, ΠΊΠΎΡΠΎΡΠΎΠΉ Π΄Π°ΠΆΠ΅ Π½Π΅Ρ Π½Π° ΠΎΡΠΈΡΠΈΠ°Π»ΡΠ½ΠΎΠΌ ΡΠ΅Ρ
Π½ΠΈΡΠ΅ΡΠΊΠΎΠΌ ΡΠ°ΠΉΡΠ΅ ΠΊΠΎΠΌΠΏΠ°Π½ΠΈΠΈ Π€ΠΎΡΠ΄ (ETIS). ΠΠ°ΠΊ ΠΌΠ½ΠΎΠ³ΠΈΠΌ ΠΈΠ· Π²Π°Ρ ΠΈΠ·Π²Π΅ΡΡΠ½ΠΎ, ΡΡΠΎ Π½Π° Π°Π²ΡΠΎΠΌΠΎΠ±ΠΈΠ»ΠΈ Π€Π€3 Ρ ΠΌΠΎΡΠΎΡΠΎΠΌ 1,6 Π»ΠΈΡΡΠ° ΡΡΡΠ°Π½Π°Π²Π»ΠΈΠ²Π°Π΅ΡΡΡ ΠΌΠ΅Ρ
Π°Π½ΠΈΡΠ΅ΡΠΊΠ°Ρ ΠΊΠΎΡΠΎΠ±ΠΊΠ° ΠΏΠ΅ΡΠ΅Π΄Π°Ρ IB5. Π’Π°ΠΊΠΆΠ΅ ΠΌΠ½ΠΎΠ³ΠΈΠΌ ΠΈΠ·Π²Π΅ΡΡΠ½ΠΎ, ΡΡΠΎ Π² ΠΏΡΠΎΡΠ΅ΡΡΠ΅ ΠΏΡΠΎΠΈΠ·Π²ΠΎΠ΄ΡΡΠ²Π° ΡΡΠΈΡ
Π°Π²ΡΠΎΠΌΠΎΠ±ΠΈΠ»Π΅ΠΉ ΠΏΡΠΎΠΈΠ·ΠΎΡΠ»ΠΈ ΠΈΠ·ΠΌΠ΅Π½Π΅Π½ΠΈΡ Π² ΠΏΠ΅ΡΠ΅Π΄Π°ΡΠΎΡΠ½ΡΡ
ΡΠΈΡΠ»Π°Ρ
Π³Π»Π°Π²Π½ΠΎΠΉ ΠΏΠ°ΡΡ ΠΠΠΠ. ΠΠ΅ΡΠ²ΡΠ΅ Π°Π²ΡΠΎΠΌΠΎΠ±ΠΈΠ»ΠΈ 2011 Π³ΠΎΠ΄Π° ΠΈΠΌΠ΅ΡΡ ΠΏΠ΅ΡΠ΅Π΄Π°ΡΠΎΡΠ½ΠΎΠ΅ ΡΠΈΡΠ»ΠΎ Π³Π»Π°Π²Π½ΠΎΠΉ ΠΏΠ°ΡΡ 3,82, Π°Π²ΡΠΎΠΌΠΎΠ±ΠΈΠ»ΠΈ 2012 Π³ΠΎΠ΄Π° β 4,06, Π°Π²ΡΠΎΠΌΠΎΠ±ΠΈΠ»ΠΈ Ρ 2013 Π³ΠΎΠ΄Π° β 4,25. ΠΠ°ΠΊ Π²ΠΈΠ΄Π½ΠΎ ΠΈΠ· Π΄Π°Π½Π½ΡΡ
ΠΏΠ΅ΡΠ΅Π΄Π°ΡΠΎΡΠ½ΡΠ΅ ΡΠΈΡΠ»Π° ΡΠΈΠ»ΡΠ½ΠΎ ΠΎΡΠ»ΠΈΡΠ°ΡΡΡΡ. ΠΠΎ Π²ΠΎΠ·Π½ΠΈΠΊΠ°Π΅Ρ Π²ΠΎΠΏΡΠΎΡ: » ΠΠΎΡΠ΅ΠΌΡ Π½Π΅Ρ ΠΏΡΠ°ΠΊΡΠΈΡΠ΅ΡΠΊΠΎΠ³ΠΎ ΡΠ°Π·Π»ΠΈΡΠΈΡ Π² Π΄ΠΈΠ½Π°ΠΌΠΈΠΊΠ΅ ΡΠ°Π·Π³ΠΎΠ½Π° ΠΈ Π·Π°Π²ΠΈΡΠΈΠΌΠΎΡΡΠΈ ΡΠΊΠΎΡΠΎΡΡΡ/ΠΎΠ±ΠΎΡΠΎΡΡ ΠΠΠ‘ Π½Π° Π°Π²ΡΠΎΠΌΠΎΠ±ΠΈΠ»ΡΡ
ΡΠ°Π·Π½ΡΡ
Π³ΠΎΠ΄ΠΎΠ² Π²ΡΠΏΡΡΠΊΠ°?»
ΠΡΠ²Π΅Ρ:» ΠΠΎΠ»ΠΆΠ½ΠΎ Π±ΡΡΡ ΠΈΠ·ΠΌΠ΅Π½ΠΈΠ»ΠΈ ΠΏΠ΅ΡΠ΅Π΄Π°ΡΠΎΡΠ½ΡΠ΅ ΡΠΈΡΠ»Π° ΡΠ°ΠΌΠΈΡ
ΠΏΠ΅ΡΠ΅Π΄Π°Ρ.» ΠΡΠΈ ΠΎΠ±ΡΠ°ΡΠ΅Π½ΠΈΠΈ Π² ETIS ΠΈΠ»ΠΈ ECAT Π½Π°Ρ
ΠΎΠ΄ΠΈΠΌ Π»ΠΈΡΡ ΠΏΠΎΠ΄ΡΠ²Π΅ΡΠΆΠ΄Π΅Π½ΠΈΠ΅ ΠΈΠ½ΡΠΎΡΠΌΠ°ΡΠΈΠΈ ΠΎ Π½Π°Π»ΠΈΡΠΈΠΈ ΡΡΠ΅Ρ
ΡΠ°Π·Π½ΡΡ
Π²ΠΈΠ΄ΠΎΠ² Π³Π»Π°Π²Π½ΡΡ
ΠΏΠ°Ρ, ΡΠ°Π·Π½ΡΡ
ΡΠ΅ΡΡΠ΅ΡΠ΅Π½ Π²ΡΠΎΡΠΈΡΠ½ΠΎΠ³ΠΎ Π²Π°Π»Π°, ΠΎΡΠ»ΠΈΡΠ°ΡΡΠΈΡ
ΡΡ ΠΊΠΎΠ»-Π²ΠΎΠΌ Π·ΡΠ±ΠΎΠ², Π½Ρ ΠΈ Π΄Π²ΡΡ
ΡΠΈΠΏΠΎΠ² ΠΏΠ΅ΡΠ²ΠΈΡΠ½ΡΡ
Π²Π°Π»ΠΎΠ² ΠΎ ΠΊΠΎΡΠΎΡΡΡ
ΠΎΠΏΠΈΡΠ°Π½ΠΈΠ΅ ΠΎΡΡΡΡΡΡΠ²ΡΠ΅Ρ. ΠΠ΅Π»Π°Π΅ΠΌ Π²ΡΠ²ΠΎΠ΄, ΡΡΠΎ ΠΏΠ΅ΡΠ΅Π΄Π°ΡΠΎΡΠ½ΡΠ΅ ΡΠΈΡΠ»Π° ΠΈΠ·ΠΌΠ΅Π½Π΅Π½Ρ, Π½ΠΎ, ΠΊ ΡΠΎΠΆΠ°Π»Π΅Π½ΠΈΡ, Π½Π΅Ρ ΠΈΠ½ΡΠΎΡΠΌΠ°ΡΠΈΠΈ ΠΎ ΡΠΎΠΌ ΠΊΠ°ΠΊΠΈΠ΅ ΡΡΠ΄Ρ ΡΡΡΠ°Π½Π°Π²Π»ΠΈΠ²Π°Π»ΠΈΡΡ Π² 2012 ΠΈ ΠΊΠ°ΠΊΠΈΠ΅ ΡΡΡΠ°Π½Π°Π²Π»ΠΈΠ²Π°ΡΡΡΡ ΡΠ΅ΠΉΡΠ°Ρ Ρ 2013 Π³ΠΎΠ΄Π°. Π ETIS Π΅ΡΡΡ ΠΈΠ½ΡΠΎΡΠΌΠ°ΡΠΈΡ, Π³Π΄Π΅ ΡΠΊΠ°Π·Π°Π½ ΡΡΠ΄ Ρ Π³Π»Π°Π²Π½ΠΎΠΉ ΠΏΠ°ΡΠΎΠΉ 3,82. ΠΠΎΡΠ»Π΅ Π΄ΠΎΠ»Π³ΠΈΡ
ΠΏΠΎΠΈΡΠΊΠΎΠ² ΠΈ ΠΆΠ΅Π»Π°Π½ΠΈΡ Π½Π°ΠΉΡΠΈ Π΄ΠΎΡΡΠΎΠ²Π΅ΡΠ½ΡΡ ΠΈΠ½ΡΠΎΡΠΌΠ°ΡΠΈΡ ΠΏΠΎ Π΄Π°Π½Π½ΠΎΠΌΡ Π²ΠΎΠΏΡΠΎΡΡ Π² ΡΡΠΊΠΈ ΠΏΠΎΠΏΠ°Π΄Π°Π΅Ρ ΠΠΠΠ Π€Π€3 1,6 2012 Π³ΠΎΠ΄Π° Π²ΡΠΏΡΡΠΊΠ° Ρ ΠΏΠΎΠ²ΡΠ΅ΠΆΠ΄Π΅Π½Π½ΡΠΌ ΠΊΠΎΡΠΏΡΡΠΎΠΌ, Π½ΠΎ ΡΠ΅Π»ΡΠΌΠΈ Π²Π°Π»Π°ΠΌΠΈ ΠΈ ΡΠ΅ΡΡΠ΅ΡΠ΅Π½ΠΊΠ°ΠΌΠΈ. ΠΠΎΡΠ»Π΅ Π΄ΠΎΠ»Π³ΠΈΡ
ΠΏΠΎΠ΄ΡΡΠ΅ΡΠΎΠ² ΠΊΠΎΠ»-Π²Π° Π·ΡΠ±ΠΎΠ² ΠΊΠ°ΠΆΠ΄ΠΎΠΉ ΡΠ΅ΡΡΠ΅ΡΠ½ΠΈ ΠΈ Π±ΡΡΡΡΡΡ
ΡΠ°ΡΡΠ΅ΡΠΎΠ² ΠΏΠ΅ΡΠ΅Π΄Π°ΡΠΎΡΠ½ΡΡ
ΡΠΈΡΠ΅Π» ΠΊΠ°ΠΆΠ΄ΠΎΠΉ ΠΏΠ΅ΡΠ΅Π΄Π°ΡΠΈ Π²ΡΡΡΠ½ΡΠ΅ΠΌ ΡΡΠΎ ΠΏΠ΅ΡΠ΅Π΄ Π½Π°ΠΌΠΈ ΠΠΠΠ Ρ ΠΏΠ΅ΡΠ΅Π΄Π°ΡΠΎΡΠ½ΡΠΌ ΡΠΈΡΠ»ΠΎΠΌ Π³Π»Π°Π²Π½ΠΎΠΉ ΠΏΠ°ΡΡ 4,06. ΠΠ°Π»ΡΡΠ΅ Π΅ΡΠ΅ ΠΈΠ½ΡΠ΅ΡΠ΅ΡΠ½Π΅ΠΉ. ΠΠ΅ΡΠ΅Π΄Π°ΡΠΎΡΠ½ΡΠ΅ ΡΠΈΡΠ»Π° ΠΏΠΎΠ»Π½ΠΎΡΡΡΡ ΡΠΎΠ²ΠΏΠ°Π΄Π°ΡΡ Ρ ΡΠΊΠ°Π·Π°Π½Π½ΡΠΌΠΈ Π² ETIS Π΄Π»Ρ Π³Π»Π°Π²Π½ΠΎΠΉ ΠΏΠ°ΡΡ 3,82. Π’Π°ΠΊΠΈΠΌ ΠΎΠ±ΡΠ°Π·ΠΎΠΌ Π΄Π΅Π»Π°Π΅ΠΌ Π²ΡΠ²ΠΎΠ΄, ΡΡΠΎ Π² 2012 Π³ΠΎΠ΄Ρ ΠΈΠ·ΠΌΠ΅Π½ΠΈΠ»ΠΈ Π’ΠΠΠ¬ΠΠ Π³Π»Π°Π²Π½ΡΡ ΠΏΠ°ΡΡ Ρ 3,82 Π½Π° 4,06. ΠΡΠΎ ΡΠ°ΠΊΠΆΠ΅ ΠΏΠΎΠ΄ΡΠ²Π΅ΡΠΆΠ΄Π°Π΅Ρ ECAT, ΠΏΡΠ΅Π΄Π»Π°Π³Π°Ρ Π½Π°ΠΌ ΠΎΠ΄Π½ΠΈ ΠΈ ΡΠ΅ ΠΆΠ΅ ΡΠ΅ΡΡΠ΅ΡΠ½ΠΈ ΠΈ ΠΏΠ΅ΡΠ²ΠΈΡΠ½ΡΠ΅ Π²Π°Π»Ρ Π½Π° ΡΡΠ΄Ρ (3,82) ΠΈ (4,06).
ΠΡ Π° ΡΡΠΎ ΠΆΠ΅ ΡΠΎΠ³Π΄Π° ΡΡΠΎΠΈΡ Π½Π° ΠΌΠΎΠ΅ΠΌ Π°Π²ΡΠΎΠΌΠΎΠ±ΠΈΠ»Π΅ 2013 Π³ΠΎΠ΄Π° Π²ΡΠΏΡΡΠΊΠ° Ρ Π³Π»Π°Π²Π½ΠΎΠΉ ΠΏΠ°ΡΠΎΠΉ 4,25? ΠΡΠΎΡ Π²ΠΎΠΏΡΠΎΡ Π½Π΅ Π΄Π°Π²Π°Π» ΠΌΠ½Π΅ ΠΏΠΎΠΊΠΎΡ, ΡΠ°ΠΊ ΠΊΠ°ΠΊ Ρ ΡΠΆΠ΅ ΠΏΠΎΠ½ΡΠ», ΡΡΠΎ Ρ ΠΌΠ΅Π½Ρ ΡΡΠΎΠΈΡ ΡΡΠ΄ Ρ ΠΌΠ΅Π½ΡΡΠΈΠΌΠΈ ΡΠΈΡΠ»ΠΎΠ²ΡΠΌΠΈ ΠΏΠΎΠΊΠ°Π·Π°ΡΠ΅Π»ΡΠΌΠΈ ΡΠ΅ΠΌ Ρ ΠΏΠ°ΡΠΎΠΉ (3,82) ΠΈ (4,06). Π, ΡΠΎΠΎΡΠ²Π΅ΡΡΡΠ²Π΅Π½Π½ΠΎ, ΡΡΡΠ°Π½ΠΎΠ²ΠΊΠ° ΠΏΠ°ΡΡ 4,25 Π½Π° ΠΌΠΎΠ΅ΠΌ Π²Π°ΡΠΈΠ°Π½ΡΠ΅ ΠΠΠ Π½Π΅ Π΄Π°Π΅Ρ Π΄ΠΎΠ»ΠΆΠ½ΠΎΠΉ ΠΏΡΠΈΠ±Π°Π²ΠΊΠΈ Π² Π΄ΠΈΠ½Π°ΠΌΠΈΠΊΠ΅ ΡΠ°Π·Π³ΠΎΠ½Π°, ΠΏΠ΅ΡΠ΅Π΄Π°ΡΠΈ Π²ΡΠ΅ ΡΠ°Π²Π½ΠΎ «Π΄Π»ΠΈΠ½Π½ΡΠ΅». ΠΡΠ»ΡΡΡ ΡΠ°ΠΊ Π³ΡΠ»ΡΡΡ. Π‘Π½ΠΈΠΌΠ°Π΅ΠΌ ΠΠΠΠ Ρ ΠΌΠΎΠ΅ΠΉ ΠΌΠ°ΡΠΈΠ½Ρ Π΄Π»Ρ ΠΏΠΎΠ»ΡΡΠ΅Π½ΠΈΡ ΠΈΠ½ΡΠΎΡΠΌΠ°ΡΠΈΠΈ, ΠΊΠΎΡΠΎΡΡΡ ΠΏΡΠΎΠΈΠ·Π²ΠΎΠ΄ΠΈΡΠ΅Π»Ρ ΠΊ Π±ΠΎΠ»ΡΡΠΎΠΌΡ ΡΠΎΠΆΠ°Π»Π΅Π½ΠΈΡ Π΄Π°ΠΆΠ΅ Π½Π΅ ΠΏΡΠ΅Π΄ΠΎΡΡΠ°Π²ΠΈΠ» ΠΎΡΠΈΡΠΈΠ°Π»ΡΠ½ΡΠΌ Π΄ΠΈΠ»Π΅ΡΠ°ΠΌ. ΠΠΎΡΠ»Π΅ ΠΏΠΎΠ΄ΡΡΠ΅ΡΠΎΠ² ΠΈ ΡΠ°ΡΡΠ΅ΡΠΎΠ² ΠΏΠΎΠ»ΡΡΠΈΠ»ΠΈ ΠΈΠ½ΡΠΎΡΠΌΠ°ΡΠΈΡ ΠΎ «ΠΌΠΎΠ΅ΠΌ» ΡΡΠ΄Π΅ Ρ ΠΏΠ°ΡΠΎΠΉ 4,25. ΠΠ½ΡΠΎΡΠΌΠ°ΡΠΈΡ Ρ ΡΠ²Π΅Π» Π² ΡΠ°Π±Π»ΠΈΡΡ, ΡΡΠΎΠ± Π»Π΅Π³ΡΠ΅ Π²ΠΎΡΠΏΡΠΈΠ½ΠΈΠΌΠ°Π»ΠΎΡΡ.
ΠΠΎΠ΄ Π²ΡΠΏΡΡΠΊΠ° Π°Π²ΡΠΎΠΌΠΎΠ±ΠΈΠ»Ρ 2011 2012 2013 -β¦
ΠΠ΅ΡΠ΅Π΄Π°ΡΠΎΡΠ½ΠΎΠ΅ ΡΠΈΡΠ»ΠΎ Π³Π»Π°Π²Π½ΠΎΠΉ ΠΏΠ΅ΡΠ΅Π΄Π°ΡΠΈ 3,82 4,06 4,25
ΠΠ΅ΡΠ΅Π΄Π°ΡΠΎΡΠ½ΠΎΠ΅ ΡΠΈΡΠ»ΠΎ ΠΏΠ΅ΡΠ²ΠΎΠΉ ΠΏΠ΅ΡΠ΅Π΄Π°ΡΠΈ 3,583 3,583 3,583
ΠΠ΅ΡΠ΅Π΄Π°ΡΠΎΡΠ½ΠΎΠ΅ ΡΠΈΡΠ»ΠΎ Π²ΡΠΎΡΠΎΠΉ ΠΏΠ΅ΡΠ΅Π΄Π°ΡΠΈ 2,038 2,038 1,926
ΠΠ΅ΡΠ΅Π΄Π°ΡΠΎΡΠ½ΠΎΠ΅ ΡΠΈΡΠ»ΠΎ ΡΡΠ΅ΡΡΠ΅ΠΉ ΠΏΠ΅ΡΠ΅Π΄Π°ΡΠΈ 1,414 1,414 1,281
ΠΠ΅ΡΠ΅Π΄Π°ΡΠΎΡΠ½ΠΎΠ΅ ΡΠΈΡΠ»ΠΎ ΡΠ΅ΡΠ²Π΅ΡΡΠΎΠΉ ΠΏΠ΅ΡΠ΅Π΄Π°ΡΠΈ 1,108 1,108 0,951
ΠΠ΅ΡΠ΅Π΄Π°ΡΠΎΡΠ½ΠΎΠ΅ ΡΠΈΡΠ»ΠΎ ΠΏΡΡΠΎΠΉ ΠΏΠ΅ΡΠ΅Π΄Π°ΡΠΈ 0,878 0,878 0,756
ΠΠ΅ΡΠ΅Π΄Π°ΡΠΎΡΠ½ΠΎΠ΅ ΡΠΈΡΠ»ΠΎ Π·Π°Π΄Π½Π΅ΠΉ ΠΏΠ΅ΡΠ΅Π΄Π°ΡΠΈ 3,615 3,615 3,615
Π’Π΅ΠΏΠ΅ΡΡ ΡΠ΅Π°Π»ΡΠ½ΠΎ Π²ΠΈΠ΄Π½ΠΎ ΡΡΠΎ ΠΈΠ·ΠΌΠ΅Π½ΠΈΠ»ΠΈ ΠΈ Π½Π° ΡΠΊΠΎΠ»ΡΠΊΠΎ ΠΈΠ·ΠΌΠ΅Π½ΠΈΠ»ΠΈ Π² ΠΠΠΠ IB5 Π°Π²ΡΠΎΠΌΠΎΠ±ΠΈΠ»Ρ Π€Π€3 Ρ ΠΌΠΎΡΠΎΡΠΎΠΌ 1,6 Π»ΠΈΡΡΠ°.
ΠΠ΅ΡΠ²Π°Ρ ΠΈ Π·Π°Π΄Π½ΡΡ ΠΏΠ΅ΡΠ΅Π΄Π°ΡΠΈ ΠΎΡΡΠ°Π»ΠΈΡΡ Π±Π΅Π· ΠΈΠ·ΠΌΠ΅Π½Π΅Π½ΠΈΠΉ. Π ΡΠ΄ 2011 ΠΈ 2012 Π³ΠΎΠ΄Π° ΠΎΠ΄ΠΈΠ½Π°ΠΊΠΎΠ²ΡΠΉ. Π ΡΠ΄ 2013 Π³ΠΎΠ΄Π° ΡΠΆΠ΅ «Π΄Π»ΠΈΠ½Π½Π΅Π΅» ΠΏΡΠ΅Π΄ΡΠ΄ΡΡΠΈΡ
. ΠΠΎΡ ΠΈ ΠΏΡΠ°ΠΊΡΠΈΡΠ΅ΡΠΊΠΎΠ΅ ΠΎΡΡΡΡΡΡΠ²ΠΈΠ΅ ΡΠ°Π·Π½ΠΈΡΡ Π² Π΄ΠΈΠ½Π°ΠΌΠΈΠΊΠ΅ ΡΠ°Π·Π³ΠΎΠ½Π° Π°Π²ΡΠΎΠΌΠΎΠ±ΠΈΠ»Ρ.
Π― ΠΏΡΠΈΠ½ΡΠ» ΡΠ΅ΡΠ΅Π½ΠΈΠ΅ ΡΡΡΠ°Π½ΠΎΠ²ΠΈΡΡ ΡΡΠ΄ 2011/2012 Π³ΠΎΠ΄Π° Ρ ΠΏΠ°ΡΠΎΠΉ 4,25, ΠΏΡΠΈ ΡΡΠΎΠΌ ΠΎΡΡΠ°Π²ΠΈΡΡ ΠΏΡΡΡΡ ΠΏΠ΅ΡΠ΅Π΄Π°ΡΡ (0,756) Π΄Π»Ρ ΡΠΎΡ
ΡΠ°Π½Π΅Π½ΠΈΡ ΠΌΠ°ΠΊΡΠΈΠΌΠ°Π»ΡΠ½ΠΎΠΉ ΡΠΊΠΎΡΠΎΡΡΠΈ ΠΈ ΡΠΎΠΏΠ»ΠΈΠ²Π½ΠΎΠΉ ΡΠΊΠΎΠ½ΠΎΠΌΠΈΡΠ½ΠΎΡΡΠΈ. Π’Π°ΠΊΠΈΠΌ ΠΎΠ±ΡΠ°Π·ΠΎΠΌ Ρ ΠΏΠΎΠ»ΡΡΠΈΠ» «ΡΠ²ΠΎΠΉ» ΡΡΠ΄:
ΠΠ΅ΡΠ΅Π΄Π°ΡΠΎΡΠ½ΠΎΠ΅ ΡΠΈΡΠ»ΠΎ Π³Π»Π°Π²Π½ΠΎΠΉ ΠΏΠ΅ΡΠ΅Π΄Π°ΡΠΈ 4,25
ΠΠ΅ΡΠ΅Π΄Π°ΡΠΎΡΠ½ΠΎΠ΅ ΡΠΈΡΠ»ΠΎ ΠΏΠ΅ΡΠ²ΠΎΠΉ ΠΏΠ΅ΡΠ΅Π΄Π°ΡΠΈ 3,583
ΠΠ΅ΡΠ΅Π΄Π°ΡΠΎΡΠ½ΠΎΠ΅ ΡΠΈΡΠ»ΠΎ Π²ΡΠΎΡΠΎΠΉ ΠΏΠ΅ΡΠ΅Π΄Π°ΡΠΈ 2,038
ΠΠ΅ΡΠ΅Π΄Π°ΡΠΎΡΠ½ΠΎΠ΅ ΡΠΈΡΠ»ΠΎ ΡΡΠ΅ΡΡΠ΅ΠΉ ΠΏΠ΅ΡΠ΅Π΄Π°ΡΠΈ 1,414
ΠΠ΅ΡΠ΅Π΄Π°ΡΠΎΡΠ½ΠΎΠ΅ ΡΠΈΡΠ»ΠΎ ΡΠ΅ΡΠ²Π΅ΡΡΠΎΠΉ ΠΏΠ΅ΡΠ΅Π΄Π°ΡΠΈ 1,108
ΠΠ΅ΡΠ΅Π΄Π°ΡΠΎΡΠ½ΠΎΠ΅ ΡΠΈΡΠ»ΠΎ ΠΏΡΡΠΎΠΉ ΠΏΠ΅ΡΠ΅Π΄Π°ΡΠΈ 0,756
ΠΠ΅ΡΠ΅Π΄Π°ΡΠΎΡΠ½ΠΎΠ΅ ΡΠΈΡΠ»ΠΎ Π·Π°Π΄Π½Π΅ΠΉ ΠΏΠ΅ΡΠ΅Π΄Π°ΡΠΈ 3,615
Π£ΡΡΠ°Π½ΠΎΠ²ΠΊΠ° Π΄Π΅ΡΠ°Π»Π΅ΠΉ ΠΏΡΠΎΡΠ»Π° Π±Π΅Π· ΠΏΡΠΎΠ±Π»Π΅ΠΌ Ρ ΡΠΎΠΎΡΠ²Π΅ΡΡΡΠ²ΠΈΠ΅ΠΌ ΡΠ΅Ρ
Π½ΠΎΠ»ΠΎΠ³ΠΈΠΈ ΠΊΠΎΠΌΠΏΠ°Π½ΠΈΠΈ Π€ΠΎΡΠ΄.
ΠΡΠΈ ΠΏΠ΅ΡΠ²ΠΎΠΉ ΠΏΠΎΠ΅Π·Π΄ΠΊΠ΅ ΠΏΠΎ Π³ΠΎΡΠΎΠ΄Ρ ΡΡΠ°Π·Ρ Π·Π°ΠΌΠ΅ΡΠ½Π° ΡΠ°Π·Π½ΠΈΡΠ°, ΠΎΡΠΎΠ±Π΅Π½Π½ΠΎ ΠΏΡΠΈ ΠΈΠ½ΡΠ΅Π½ΡΠΈΠ²Π½ΠΎΠΌ ΡΠ°Π·Π³ΠΎΠ½Π΅.
Π Π°ΡΠΊΡΡΡΠΈΠ²Π°Ρ ΠΌΠΎΡΠΎΡ Π΄ΠΎ ΠΎΡΡΠ΅ΡΠΊΠΈ (7500), ΠΏΠΎΡΠ»Π΅ ΠΏΠ΅ΡΠ΅ΠΊΠ»ΡΡΠ΅Π½ΠΈΡ ΡΠ΅ΡΠΊΠΎ ΠΏΠΎΠΏΠ°Π΄Π°Ρ Π½Π° «ΠΏΠΎΠ»ΠΊΡ» ΠΌΠ°ΠΊΡΠΈΠΌΠ°Π»ΡΠ½ΠΎΠ³ΠΎ ΠΌΠΎΠΌΠ΅Π½ΡΠ° (5000-5200), ΡΡΠΎ Π² ΡΠ²ΠΎΡ ΠΎΡΠ΅ΡΠ΅Π΄Ρ ΠΏΡΠΈ ΠΏΠ΅ΡΠ΅ΠΊΠ»ΡΡΠ΅Π½ΠΈΠΈ ΡΡΠΎ Π½Π° Π²ΡΠΎΡΠΎΠΉ, ΡΡΠΎ Π½Π° ΡΡΠ΅ΡΡΠ΅ΠΉ ΠΏΠ΅ΡΠ΅Π΄Π°ΡΠΈ ΡΡΠ°Π»ΠΎ Π΄Π°Π²Π°ΡΡ ΠΏΡΠΎΠ±ΡΠΊΡΠΎΠ²ΠΊΡ Π²Π΅Π΄ΡΡΠΈΡ
ΠΊΠΎΠ»Π΅Ρ. ΠΠΎΡΠΎΠ΄ΡΠΊΠΎΠΉ ΡΡΠ΅ΠΏΠ΅Π½Π½ΡΠΉ ΡΠ΅ΠΆΠΈΠΌ ΡΠ°ΠΊΠΆΠ΅ ΡΡΠ°Π» ΠΏΡΠΈΡΡΠ½Π΅Π΅ ΠΠΎΡΠΎΡΡ

ΡΠ»Π΅Π²Π° Π½Π°ΠΏΡΠ°Π²ΠΎ: Π²ΡΠΎΡΠΈΡΠ½ΡΠΉ Π²Π°Π», ΠΏΠ΅ΡΠ²ΠΈΡΠ½ΡΠΉ Π²Π°Π», ΡΠ΅ΡΡΠ΅ΡΠ½ΠΈ ΠΏΡΡΠΎΠΉ ΠΏΠ΅ΡΠ΅Π΄Π°ΡΠΈ.
1:1450
Π²ΡΠΎΡΠΈΡΠ½ΡΠΉ Π²Π°Π» Π² ΡΠ±ΠΎΡΠ΅
2:1998
ΠΏΠ΅ΡΠ²ΠΈΡΠ½ΡΠΉ Π²Π°Π»
3:532Π Π΅ΡΠΈΠ»ΡΡ Π½Π° Π·Π°ΠΌΠ΅Π½Ρ ΠΌΠ°ΡΠ»Π° Π² ΠΊΠΎΡΠΎΠ±ΠΊΠ΅. ΠΠ·ΡΠ» BP Energear HT 75w-90. ΠΡΠ΅Π³ΠΎ 3 Π»ΠΈΡΡΠ°. ΠΠΎΠ»ΠΆΠ½ΠΎ Ρ Π²Π°ΡΠΈΡΡ 2-Ρ , Π½ΠΎ Π²ΡΡΠΊΠΎΠ΅ Π±ΡΠ²Π°Π΅Ρβ¦
3:780
BP Energear
4:1300Π€ΠΎΡΠ΄ Π·Π°Π»ΠΈΠ²Π°Π΅Ρ ΠΌΠ°ΡΠ»ΠΎ Π² ΠΠΠ Π½Π° Π²Π΅ΡΡ ΡΡΠΎΠΊ ΡΠ»ΡΠΆΠ±Ρ. Π’.ΠΊ. ΡΡΠΎΠΊ ΡΠ»ΡΠΆΠ±Ρ ΠΌΠΎΠ΅ΠΉ ΠΊΠΎΡΠΎΠ±ΠΊΠΈ Ρ Π½ΠΎΡΠΌΠ°Π»ΡΠ½ΠΎΠ³ΠΎ Π½Π΅ΠΌΡΠ° Π±Ρ ΡΠΆΠ΅ Π΄Π°Π²Π½ΠΎ Π·Π°ΠΊΠΎΠ½ΡΠΈΠ»ΡΡ (290 ΡΡΡ. ΠΊΠ°ΠΊ-Π½ΠΈΠΊΠ°ΠΊ), ΡΠ΅ΡΠΈΠ» ΠΎΡΠ²Π΅ΠΆΠΈΡΡ.
4:1583Π‘Π»ΠΈΠ²Π½Π°Ρ ΠΈ Π·Π°Π»ΠΈΠ²Π½Π°Ρ ΠΏΡΠΎΠ±ΠΊΠΈ ΠΎΡΠΊΡΡΡΠΈΠ²Π°ΡΡΡΡ ΡΠ΅ΡΡΠΈΠ³ΡΠ°Π½Π½ΠΈΠΊΠ°ΠΌΠΈ (Π²ΡΠΎΠ΄Π΅ 4.5). ΠΠ°ΠΆΠΈΠΌΠ°ΡΡ ΡΠΈΠ»ΡΠ½ΠΎ Π±ΠΎΠ»Ρ Π½Π΅ ΡΡΠΎΠΈΡ, Π³ΡΠ°Π½ΠΈ ΠΏΠ»Π°ΡΡΠΈΠΊΠΎΠ²ΡΠ΅, ΠΏΠΎ ΠΌΠ°Π½ΡΠ°Π»Ρ Π½Π°Π΄ΠΎ Π²ΡΠ΅Π³ΠΎ 35 Hm.
4:1848
ΡΠ»ΠΈΠ²Π½Π°Ρ
5:17
Π·Π°Π»ΠΈΠ²Π½Π°Ρ
6:542Π‘Π»ΠΈΠ²Π°Π΅ΡΡΡ ΠΎΠΊΠΎΠ»ΠΎ Π΄Π²ΡΡ Π»ΠΈΡΡΠΎΠ² ΠΎΡΡΠ°Π±ΠΎΡΠΊΠΈ.
6:617
ΠΏΡΠΎΡΠ΅ΡΡ Π² Π΄Π΅ΠΉΡΡΠ²ΠΈΠΈ
7:1160ΠΠ»Ρ Π΄ΠΎΠΏ.ΠΎΡΡΠΎΡΠ° ΠΈΡΠΏΠΎΠ»ΡΠ·ΠΎΠ²Π°Π» ΡΠΏΡΠΈΡ Ρ ΠΏΠ»Π°ΡΡΠΈΠΊΠΎΠ²ΠΎΠΉ ΡΡΡΠ±ΠΊΠΎΠΉ. ΠΡΡΠΎΡΠ°Π» Π²ΡΠ΅Π³ΠΎ Π½Π° ΠΊΡΠ±ΠΈΠΊ, ΡΠ°ΠΊ ΡΡΠΎ Π²Π΅ΡΡ Π½Π΅ ΠΎΠ±ΡΠ·Π°ΡΠ΅Π»ΡΠ½Π°. ΠΠ°Π»ΠΈΠ» Π΄Π»Ρ ΠΏΡΠΎΠΌΡΠ²ΠΊΠΈ 150 Π³ΡΠ°ΠΌΠΌ ΠΌΠ°ΡΠ»Π°. Π’ΠΎΠΆΠ΅ Π½Π΅ ΠΎΠ±ΡΠ·Π°ΡΠ΅Π»ΡΠ½ΠΎ, ΡΠΈΡΡΠ°Ρ Π½Π° Π²ΡΡ ΠΎΠ΄Π΅ Π±ΡΠ»Π°.
7:1502
Π΄Π»Ρ ΠΏΠΎΠ»Π½ΠΎΠ³ΠΎ ΡΡΠΏΠΎΠΊΠΎΠ΅Π½ΠΈΡ
8:45ΠΠ°Π»ΠΈΠ²Π°Π» ΠΌΠ°ΡΠ»ΠΎ ΠΎΠΊΠΎΠ»ΠΎ 2-Ρ ΡΠ°ΡΠΎΠ², ΠΏΠΎΡΠΎΠΌΡ ΡΡΠΎ ΡΡΡΠ±ΠΊΠ° Π±ΡΠ»ΠΎ ΡΠΎΠ»ΡΠΊΠΎ ΡΠ°ΠΊΠ°Ρ:
8:169
ΡΠ»Π΅ΠΏΠΈΠ» ΠΈΠ· ΡΠΎΠ³ΠΎ, ΡΡΠΎ Π±ΡΠ»ΠΎ
9:721
ΠΈ ΠΏΡΡΡΡ Π²Π΅ΡΡ ΠΌΠΈΡ ΠΏΠΎΠ΄ΠΎΠΆΠ΄Π΅Ρ
10:12762 Π»ΠΈΡΡΠ° ΠΊΠ°ΠΊ ΡΠ°Π· ΠΈ Π²Π»Π΅Π·Π»ΠΎ. Π Π°Π·Π½ΠΈΡΡ ΠΎΡΠΎΠ±ΠΎΠΉ Π½Π΅ Π·Π°ΠΌΠ΅ΡΠΈΠ», Π½ΠΎ ΡΠ΅ΠΏΠ΅ΡΡ Π΄ΡΡΠ° ΡΠΏΠΎΠΊΠΎΠΉΠ½Π°.
10:1417ΠΠ·ΡΠ»ΡΡ Ρ Π·Π° Π·Π°ΠΌΠ΅Π½Ρ Π·Π½Π°ΠΌΠ΅Π½ΠΈΡΠΎΠΉ ΠΊΠΎΡΠΎΠ±ΠΊΠΈ ΠΏΠΎΠ²Π΅ΡΡΠΈΡΡ Π½Π° ΠΌΠ΅Ρ
Π°Π½ΠΈΠΊΡ.
Π§ΡΠΎ Π½Π΅ΠΎΠ±Ρ
ΠΎΠ΄ΠΈΠΌΠΎ Π΄Π»Ρ ΡΡΡΠ°Π½ΠΎΠ²ΠΊΠΈ ΠΠΠΠ Ford Focus 3:
1. ΠΠΎΡΠΎΠ±ΠΊΠ° ΠΌΠ΅Ρ
Π°Π½ΠΈΠΊΠ°
2. Π’ΡΠΎΡΡ ΠΎΡ ΠΌΠ΅Ρ
Π°Π½ΠΈΠΊΠΈ
3. ΠΡΠ»ΠΈΡΠ° ΠΠΠΠ Π²ΠΌΠ΅ΡΡΠ΅ Ρ ΠΏΠΎΠ΄ΠΈΡΠΌΠΎΠΌ
4. ΠΡΠΈΠ²ΠΎΠ΄Ρ Π² ΡΠ±ΠΎΡΠ΅ ΠΎΠ±Π°
5. ΠΡΠ΅ΠΏΠ»Π΅Π½ΠΈΠ΅ ΠΏΠΎΠ΄Π²Π΅ΡΠ½ΠΎΠ³ΠΎ ΠΏΠΎΠ΄ΡΠΈΠΏΠ½ΠΈΠΊΠ°
6. ΠΡΠ΅ΠΏΠ»Π΅Π½ΠΈΡ ΠΏΠΎΠ΄ΡΡΠ΅ΠΊ ΠΊΠΎΡΠΎΠ±ΠΊΠΈ ΠΎΠ±Π°
7. ΠΠΎΠ΄ΠΊΠ°ΠΏΠΎΡΠ½Π°Ρ ΠΏΡΠΎΠ²ΠΎΠ΄ΠΊΠ° ΠΌΠΎΡΠΎΡΠ° ΠΎΡ ΠΠΠΠ
8. ΠΠ½Π΅Π·Π΄ΠΎ ΠΏΠΎΠ΄ Π΄Π°ΡΡΠΈΠΊ ΠΊΠΎΠ»Π΅Π½Π²Π°Π»Π°
9. ΠΠ΅Π΄Π°Π»Ρ ΡΡΠ΅ΠΏΠ»Π΅Π½ΠΈΡ
10. ΠΠ°Ρ
ΠΎΠ²ΠΈΠΊ
11. Π‘ΡΠ΅ΠΏΠ»Π΅Π½ΠΈΠ΅
12. ΠΡΠΆΠΈΠΌΠ½ΠΎΠΉ ΠΏΠΎΠ΄ΡΠΈΠΏΠ½ΠΈΠΊ
13. ΠΠ»Π°Π²Π½ΡΠΉ ΡΠΈΠ»ΠΈΠ½Π΄Ρ ΡΡΠ΅ΠΏΠ»Π΅Π½ΠΈΡ
14. ΠΠ²Π° Π΄Π°ΡΡΠΈΠΊΠ° Π½Π° ΠΏΠ΅Π΄Π°Π»Ρ ΡΡΠ΅ΠΏΠ»Π΅Π½ΠΈΡ.
15. Π¨Π΅ΡΡΡ Π±ΠΎΠ»ΡΠΎΠ² ΠΊΡΠ΅ΠΏΠ»Π΅Π½ΠΈΡ ΡΡΠ΅ΠΏΠ»Π΅Π½ΠΈΡ.
ΠΠ°ΠΆΠ΅ΡΡΡ ΡΡΠΎ Π²ΡΠ΅. ΡΠ°Π±ΠΎΡΠ° ΡΠ°ΠΌΠ° Π·Π°Π½ΠΈΠΌΠ°Π΅Ρ Π²ΡΠ΅ΠΌΠ΅Π½ΠΈ ΠΎΠ΄ΠΈΠ½ Π΄Π²Π° Π΄Π½Ρ. ΠΠΎ ΡΠ°ΠΊ ΠΊΠ°ΠΊ Π½Π΅ Π±ΡΠ»ΠΎ ΠΈΠ½ΡΡ ΡΡΠΎ ΠΈΠΌΠ΅Π½Π½ΠΎ Π½ΡΠΆΠ½ΠΎ ΡΠΎ ΡΠ°Π±ΠΎΡΠ° Π·Π°ΡΡΠ½ΡΠ»Π°ΡΡ Π½Π° ΠΏΠΎΠ»ΡΠΎΡΠ° ΠΌΠ΅ΡΡΡΠ°. ΠΠ· ΠΊΠΎΡΠΎΡΡΡ
Ρ ΠΌΠ΅Π½Ρ ΠΌΠ΅ΡΡΡ ΠΏΠΎΡΡΠΈ ΡΡΠ΅Π» Π½Π° ΡΠΎ ΡΡΠΎΠ± ΠΏΠΎΠ½ΡΡΡ ΠΏΠΎΡΠ΅ΠΌΡ Π΄Π°ΡΡΠΈΠΊ ΠΊΠΎΠ»Π΅Π½Π²Π°Π»Π° Π½Π΅ ΡΡΠΈΡΡΠ²Π°Π» (Π½Π΅ Π·Π°Π²ΠΎΠ΄ΠΈΠ»Π°ΡΡ ΠΌΠ°ΡΠΈΠ½Π°).
https://www.drive2.ru/l/5318902/, https://www.drive2.ru/l/3584792/, https://www.drive2.ru/l/8685100/
10:103ΡΠ»Π΅Π΄ΡΡΡΠ°Ρ ΡΡΠ°ΡΡΡ:

ΠΠ΅ΠΏΠΎΠ»Π°Π΄ΠΊΠ°: Π΅Ρ Π°Π» ΠΏΠΎ ΡΡΠ°ΡΡΠ΅, Π² ΡΠΈΠ»ΡΠ½ΡΠΉ ΠΌΠΎΡΠΎΠ· ΠΈ Π½Π°ΡΠ°Π» Π·Π°ΠΌΠ΅ΡΠ°ΡΡ, ΡΡΠΎ ΠΏΠ΅Π΄Π°Π»Ρ ΡΡΠ΅ΠΏΠ»Π΅Π½ΠΈΡ Ford Focus 3 ΠΏΠΎΡΡΠ΅ΠΏΠ΅Π½Π½ΠΎ ΡΠ»Π°Π±Π΅Π΅Ρ ΠΈ ΠΎΡΠ΅Π½Ρ
11:937 24274www.spike.su
Π·Π°Π³ΡΡΠ·ΠΊΠ°…
ο»ΏΠΠΎΠΆΠ°Π»ΡΠΉΡΡΠ° Π²ΠΊΠ»ΡΡΠΈΡΠ΅ / Please enable JavaScript!
ΠΠ° Π°Π²ΡΠΎΠΌΠΎΠ±ΠΈΠ»ΠΈ Ford Focus II Π² Π±Π°Π·ΠΎΠ²ΠΎΠΉ ΠΊΠΎΠΌΠΏΠ»Π΅ΠΊΡΠ°ΡΠΈΠΈ ΡΡΡΠ°Π½Π°Π²Π»ΠΈΠ²Π°ΡΡ ΠΌΠ΅Ρ Π°Π½ΠΈΡΠ΅ΡΠΊΡΡ ΠΊΠΎΡΠΎΠ±ΠΊΡ ΠΏΠ΅ΡΠ΅Π΄Π°Ρ ΡΠΈΠΏΠ° iB5, ΠΠ’Π₯-75 ΠΈΠ»ΠΈ MΠΠ’6 (Π² Π·Π°Π²ΠΈΡΠΈΠΌΠΎΡΡΠΈ ΠΎΡ ΡΠΈΠΏΠ° ΠΏΡΠΈΠΌΠ΅Π½ΡΠ΅ΠΌΠΎΠ³ΠΎ Π΄Π²ΠΈΠ³Π°ΡΠ΅Π»Ρ). ΠΡΠ΅ ΠΌΠ΅Ρ Π°Π½ΠΈΡΠ΅ΡΠΊΠΈΠ΅ ΠΊΠΎΡΠΎΠ±ΠΊΠΈ ΠΏΠ΅ΡΠ΅Π΄Π°Ρ ΡΠ°Π·Π»ΠΈΡΠ°ΡΡΡΡ ΠΌΠ΅ΠΆΠ΄Ρ ΡΠΎΠ±ΠΎΠΉ ΠΏΠ΅ΡΠ΅Π΄Π°ΡΠΎΡΠ½ΡΠΌΠΈ ΡΠΈΡΠ»Π°ΠΌΠΈ ΠΈ ΠΊΠΎΠ½ΡΡΡΡΠΊΡΠΈΠ΅ΠΉ ΠΎΡΠ΄Π΅Π»ΡΠ½ΡΡ Π΄Π΅ΡΠ°Π»Π΅ΠΉ, Π½ΠΎ ΠΈΠΌΠ΅ΡΡ ΠΏΡΠΈΠ½ΡΠΈΠΏΠΈΠ°Π»ΡΠ½ΠΎ ΠΎΠ±ΡΡΡ ΠΊΠΎΠΌΠΏΠΎΠ½ΠΎΠ²ΠΊΡ (Ρ ΡΠ΅ΡΡΠΈΡΡΡΠΏΠ΅Π½ΡΠ°ΡΠΎΠΉ ΠΊΠΎΡΠΎΠ±ΠΊΠΈ MΠΠ’6 Π΅ΡΡΡ ΠΎΡΠ»ΠΈΡΠΈΡ Π² ΠΊΠΎΠΌΠΏΠΎΠ½ΠΎΠ²ΠΊΠ΅ ΠΈΠ·-Π·Π° Π½Π°Π»ΠΈΡΠΈΡ VI ΠΏΠ΅ΡΠ΅Π΄Π°ΡΠΈ) ΠΈ ΡΡΡΠ°Π½ΠΎΠ²ΠΎΡΠ½ΡΠ΅ ΡΠ°Π·ΠΌΠ΅ΡΡ. ΠΠΎ Π·Π°ΠΊΠ°Π·Ρ Π½Π° Π°Π²ΡΠΎΠΌΠΎΠ±ΠΈΠ»ΠΈ Ρ Π΄Π²ΠΈΠ³Π°ΡΠ΅Π»ΡΠΌΠΈ ΡΠ°Π±ΠΎΡΠΈΠΌ ΠΎΠ±ΡΠ΅ΠΌΠΎΠΌ 1,6 ΠΈ 2,0 Π» ΠΌΠΎΠ³ΡΡ Π±ΡΡΡ ΡΡΡΠ°Π½ΠΎΠ²Π»Π΅Π½Ρ ΠΏΡΡΠΈΡΡΡΠΏΠ΅Π½ΡΠ°ΡΡΠ΅ Π°Π²ΡΠΎΠΌΠ°ΡΠΈΡΠ΅ΡΠΊΠΈΠ΅ ΠΊΠΎΡΠΎΠ±ΠΊΠΈ ΠΏΠ΅ΡΠ΅Π΄Π°Ρ, ΡΡΡΠ°Π½ΠΎΠ²ΠΎΡΠ½ΡΠ΅ ΡΠ°Π·ΠΌΠ΅ΡΡ ΠΊΠΎΡΠΎΡΡΡ Π°Π½Π°Π»ΠΎΠ³ΠΈΡΠ½ΡΠ΅ ΡΠ°Π·ΠΌΠ΅ΡΠ°ΠΌ ΠΌΠ΅Ρ Π°Π½ΠΈΡΠ΅ΡΠΊΠΈΡ ΠΊΠΎΡΠΎΠ±ΠΎΠΊ. Π ΡΠ²ΡΠ·ΠΈ Ρ ΡΡΠΈΠΌ Π² Π΄Π°Π½Π½ΠΎΠΌ ΡΠ°Π·Π΄Π΅Π»Π΅ ΡΠ½ΡΡΠΈΠ΅ ΠΈ ΡΡΡΠ°Π½ΠΎΠ²ΠΊΠ° ΠΎΠΏΠΈΡΠ°Π½Ρ Π½Π° ΠΏΡΠΈΠΌΠ΅ΡΠ΅ ΡΠΎΠ»ΡΠΊΠΎ ΠΌΠ΅Ρ Π°Π½ΠΈΡΠ΅ΡΠΊΠΎΠΉ ΠΊΠΎΡΠΎΠ±ΠΊΠΈ ΠΏΠ΅ΡΠ΅Π΄Π°Ρ iB5. ΠΡΡΠ°Π»ΡΠ½ΡΠ΅ ΠΊΠΎΡΠΎΠ±ΠΊΠΈ ΠΏΠ΅ΡΠ΅Π΄Π°Ρ ΡΠ½ΠΈΠΌΠ°ΡΡ ΠΈ ΡΡΡΠ°Π½Π°Π²Π»ΠΈΠ²Π°ΡΡ ΠΏΡΠ°ΠΊΡΠΈΡΠ΅ΡΠΊΠΈ Π°Π½Π°Π»ΠΎΠ³ΠΈΡΠ½ΠΎ.
ΠΠ΅Ρ Π°Π½ΠΈΡΠ΅ΡΠΊΠ°Ρ ΠΊΠΎΡΠΎΠ±ΠΊΠ° ΠΏΠ΅ΡΠ΅Π΄Π°Ρ Π²ΡΠΏΠΎΠ»Π½Π΅Π½Π° ΠΏΠΎ Π΄Π²ΡΡ Π²Π°Π»ΡΠ½ΠΎΠΉ ΡΡ Π΅ΠΌΠ΅ Ρ ΠΏΡΡΡΡ (Ρ ΠΊΠΎΡΠΎΠ±ΠΊΠΈ ΠΏΠ΅ΡΠ΅Π΄Π°Ρ MΠΠ’6 β Ρ ΡΠ΅ΡΡΡΡ) ΡΠΈΠ½Ρ ΡΠΎΠ½ΠΈΠ·ΠΈΡΠΎΠ²Π°Π½Π½ΡΠΌΠΈ ΠΏΠ΅ΡΠ΅Π΄Π°ΡΠ°ΠΌΠΈ ΠΏΠ΅ΡΠ΅Π΄Π½Π΅Π³ΠΎ Ρ ΠΎΠ΄Π°. ΠΠΎΡΠΎΠ±ΠΊΠ° ΠΏΠ΅ΡΠ΅Π΄Π°Ρ ΠΈ Π³Π»Π°Π²Π½Π°Ρ ΠΏΠ΅ΡΠ΅Π΄Π°ΡΠ° Ρ Π΄ΠΈΡΡΠ΅ΡΠ΅Π½ΡΠΈΠ°Π»ΠΎΠΌ ΠΈΠΌΠ΅ΡΡ ΠΎΠ±ΡΠΈΠΉ ΠΊΠ°ΡΡΠ΅Ρ 2 (ΡΠΈΡ. 6.4 ΠΈ 6.5). Π ΠΏΠ΅ΡΠ΅Π΄Π½Π΅ΠΉ ΡΠ°ΡΡΠΈ ΠΊΠ°ΡΡΠ΅ΡΠ° ΠΊΠΎΡΠΎΠ±ΠΊΠΈ ΠΏΠ΅ΡΠ΅Π΄Π°Ρ ΠΏΡΠΈΡΠΎΠ΅Π΄ΠΈΠ½Π΅Π½ ΠΊΠ°ΡΡΠ΅Ρ ΡΡΠ΅ΠΏΠ»Π΅Π½ΠΈΡ 6 (ΡΠΌ. ΡΠΈΡ. 6.4) ΠΈ 5 (ΡΠΌ. ΡΠΈΡ. 6.5). ΠΠ° Π·Π°Π΄Π½ΡΡ ΡΠ°ΡΡΡ ΠΊΠ°ΡΡΠ΅ΡΠ° ΠΊΠΎΡΠΎΠ±ΠΊΠΈ ΠΏΠ΅ΡΠ΅Π΄Π°Ρ ΡΡΡΠ°Π½ΠΎΠ²Π»Π΅Π½Π° ΡΡΠ°Π»ΡΠ½Π°Ρ ΡΡΠ°ΠΌΠΏΠΎΠ²Π°Π½Π½Π°Ρ ΠΊΡΡΡΠΊΠ° 1| Π ΠΈΡ. 6.4. ΠΠ΅Ρ Π°Π½ΠΈΡΠ΅ΡΠΊΠ°Ρ ΠΊΠΎΡΠΎΠ±ΠΊΠ° ΠΏΠ΅ΡΠ΅Π΄Π°Ρ (ΠΊΠΎΠΆΡΡ ΠΌΠ΅Ρ Π°Π½ΠΈΠ·ΠΌΠ° ΠΏΠ΅ΡΠ΅ΠΊΠ»ΡΡΠ΅Π½ΠΈΡ ΠΏΠ΅ΡΠ΅Π΄Π°Ρ ΡΠ½ΡΡ Π΄Π»Ρ Π½Π°Π³Π»ΡΠ΄Π½ΠΎΡΡΠΈ): 1 β ΠΊΡΡΡΠΊΠ° ΠΊΠ°ΡΡΠ΅ΡΠ° ΠΊΠΎΡΠΎΠ±ΠΊΠΈ ΠΏΠ΅ΡΠ΅Π΄Π°Ρ; 2 β ΠΊΠ°ΡΡΠ΅Ρ ΠΊΠΎΡΠΎΠ±ΠΊΠΈ ΠΏΠ΅ΡΠ΅Π΄Π°Ρ; 3 β ΡΡΡΠ°Π³ Π²ΡΠ±ΠΎΡΠ° ΠΏΠ΅ΡΠ΅Π΄Π°Ρ; 4 β ΠΊΡΠΎΠ½ΡΡΠ΅ΠΉΠ½ ΠΊΡΠ΅ΠΏΠ»Π΅Π½ΠΈΡ ΡΡΠΎΡΠΎΠ² ΡΠΏΡΠ°Π²Π»Π΅Π½ΠΈΡ ΠΊΠΎΡΠΎΠ±ΠΊΠΎΠΉ ΠΏΠ΅ΡΠ΅Π΄Π°Ρ; 5 β Π²ΡΠΊΠ»ΡΡΠ°ΡΠ΅Π»Ρ ΡΠ²Π΅ΡΠ° Π·Π°Π΄Π½Π΅Π³ΠΎ Ρ ΠΎΠ΄Π°; 6 β ΠΊΠ°ΡΡΠ΅Ρ ΡΡΠ΅ΠΏΠ»Π΅Π½ΠΈΡ; 7 β ΠΏΠ΅ΡΠ΅Ρ ΠΎΠ΄Π½ΠΈΠΊ ΡΠ°Π±ΠΎΡΠ΅Π³ΠΎ ΡΠΈΠ»ΠΈΠ½Π΄ΡΠ° ΠΏΡΠΈΠ²ΠΎΠ΄Π° Π²ΡΠΊΠ»ΡΡΠ΅Π½ΠΈΡ ΡΡΠ΅ΠΏΠ»Π΅Π½ΠΈΡ; 8 β ΡΠ°ΠΏΡΠ½; 9 β ΠΊΡΠΎΠ½ΡΡΠ΅ΠΉΠ½ ΠΊΡΠ΅ΠΏΠ»Π΅Π½ΠΈΡ ΡΡΡΠ±ΠΎΠΏΡΠΎΠ²ΠΎΠ΄Π° Π³ΠΈΠ΄ΡΠΎΠΏΡΠΈΠ²ΠΎΠ΄Π° Π²ΡΠΊΠ»ΡΡΠ΅Π½ΠΈΡ ΡΡΠ΅ΠΏΠ»Π΅Π½ΠΈΡ; 10 β ΡΡΡΠ°Π³ ΠΏΠ΅ΡΠ΅ΠΊΠ»ΡΡΠ΅Π½ΠΈΡ ΠΏΠ΅ΡΠ΅Π΄Π°Ρ; 11 β Π΄Π°ΡΡΠΈΠΊ ΡΠΊΠΎΡΠΎΡΡΠΈ; 12 β ΡΠ°Π»ΡΠ½ΠΈΠΊ ΠΏΠΎΠ»ΡΠΎΡΠΈ |
| Π ΠΈΡ. 6.5. ΠΡΠΈΠ½ΡΠΈΠΏΠΈΠ°Π»ΡΠ½Π°Ρ ΡΡ Π΅ΠΌΠ° ΠΏΡΡΠΈΡΡΡΠΏΠ΅Π½ΡΠ°ΡΠΎΠΉ ΠΌΠ΅Ρ Π°Π½ΠΈΡΠ΅ΡΠΊΠΎΠΉ ΠΊΠΎΡΠΎΠ±ΠΊΠΈ ΠΏΠ΅ΡΠ΅Π΄Π°Ρ: 1 β Π·Π°Π΄Π½ΡΡ ΠΊΡΡΡΠΊΠ° ΠΊΠ°ΡΡΠ΅ΡΠ° ΠΊΠΎΡΠΎΠ±ΠΊΠΈ ΠΏΠ΅ΡΠ΅Π΄Π°Ρ; 2 β ΠΊΠ°ΡΡΠ΅Ρ ΠΊΠΎΡΠΎΠ±ΠΊΠΈ ΠΏΠ΅ΡΠ΅Π΄Π°Ρ; 3 β ΡΠ°ΠΏΡΠ½; 4 β ΡΠ°Π±ΠΎΡΠΈΠΉ ΡΠΈΠ»ΠΈΠ½Π΄Ρ Π³ΠΈΠ΄ΡΠΎΠΏΡΠΈΠ²ΠΎΠ΄Π° Π²ΡΠΊΠ»ΡΡΠ΅Π½ΠΈΡ ΡΡΠ΅ΠΏΠ»Π΅Π½ΠΈΡ; 5 β ΠΊΠ°ΡΡΠ΅Ρ ΡΡΠ΅ΠΏΠ»Π΅Π½ΠΈΡ; 6 β ΠΏΠΎΠ΄ΡΠΈΠΏΠ½ΠΈΠΊ Π²ΡΠΊΠ»ΡΡΠ΅Π½ΠΈΡ ΡΡΠ΅ΠΏΠ»Π΅Π½ΠΈΡ; 7 β ΠΏΠ΅ΡΠ²ΠΈΡΠ½ΡΠΉ Π²Π°Π»; 8 β Π²ΡΠΎΡΠΈΡΠ½ΡΠΉ Π²Π°Π»; 9 β Π³Π»Π°Π²Π½Π°Ρ ΠΏΠ΅ΡΠ΅Π΄Π°ΡΠ° ΠΈ Π΄ΠΈΡΡΠ΅ΡΠ΅Π½ΡΠΈΠ°Π» |
ΠΡΠΎΡΠΈΡΠ½ΡΠΉ Π²Π°Π» 8 ΠΈΠ·Π³ΠΎΡΠΎΠ²Π»Π΅Π½ Π²ΠΌΠ΅ΡΡΠ΅ Ρ Π²Π΅Π΄ΡΡΠ΅ΠΉ ΡΠ΅ΡΡΠ΅ΡΠ½Π΅ΠΉ Π³Π»Π°Π²Π½ΠΎΠΉ ΠΏΠ΅ΡΠ΅Π΄Π°ΡΠΈ 9. ΠΡΠΎΠΌΠ΅ ΡΡΠΎΠ³ΠΎ Π½Π° Π²Π°Π»Ρ ΡΡΡΠ°Π½ΠΎΠ²Π»Π΅Π½Ρ ΡΠ²ΠΎΠ±ΠΎΠ΄Π½ΠΎ Π²ΡΠ°ΡΠ°ΡΡΠΈΠ΅ΡΡ Π½Π° ΠΏΠΎΠ΄ΡΠΈΠΏΠ½ΠΈΠΊΠ°Ρ ΡΠΊΠΎΠ»ΡΠΆΠ΅Π½ΠΈΡ Π²Π΅Π΄ΠΎΠΌΡΠ΅ ΡΠ΅ΡΡΠ΅ΡΠ½ΠΈ I, II, III, IV ΠΈ V ΠΏΠ΅ΡΠ΅Π΄Π°Ρ.
ΠΠ΅ΡΠ΅Π΄Π°ΡΠΈ ΠΏΠ΅ΡΠ΅Π΄Π½Π΅Π³ΠΎ Ρ ΠΎΠ΄Π° Π²ΠΊΠ»ΡΡΠ°ΡΡΡΡ ΠΎΡΠ΅Π²ΡΠΌ ΠΏΠ΅ΡΠ΅ΠΌΠ΅ΡΠ΅Π½ΠΈΠ΅ΠΌ ΠΌΡΡΡ Π΄Π²ΡΡ ΡΠΈΠ½Ρ ΡΠΎΠ½ΠΈΠ·Π°ΡΠΎΡΠΎΠ² IβII ΠΈ IIIβIV ΠΏΠ΅ΡΠ΅Π΄Π°Ρ ΠΈ ΠΌΡΡΡΡ ΡΠΈΠ½Ρ ΡΠΎΠ½ΠΈΠ·Π°ΡΠΎΡΠ° V ΠΏΠ΅ΡΠ΅Π΄Π°ΡΠΈ, ΡΡΡΠ°Π½ΠΎΠ²Π»Π΅Π½Π½ΡΡ Π½Π° Π²ΡΠΎΡΠΈΡΠ½ΠΎΠΌ Π²Π°Π»Ρ. ΠΠ΅Ρ Π°Π½ΠΈΠ·ΠΌ ΠΏΠ΅ΡΠ΅ΠΊΠ»ΡΡΠ΅Π½ΠΈΡ ΠΏΠ΅ΡΠ΅Π΄Π°Ρ ΡΠ°ΡΠΏΠΎΠ»ΠΎΠΆΠ΅Π½ Π²Π½ΡΡΡΠΈ ΠΊΠ°ΡΡΠ΅ΡΠ° ΠΊΠΎΡΠΎΠ±ΠΊΠΈ ΠΏΠ΅ΡΠ΅Π΄Π°Ρ Ρ Π΅Π³ΠΎ Π»Π΅Π²ΠΎΠΉ ΡΡΠΎΡΠΎΠ½Ρ. Π‘Π½Π°ΡΡΠΆΠΈ Π½Π°Ρ ΠΎΠ΄ΡΡΡΡ Π΄Π²Π° ΡΡΡΠ°Π³Π° ΠΌΠ΅Ρ Π°Π½ΠΈΠ·ΠΌΠ°: ΡΡΡΠ°Π³ 3 (ΡΠΌ. ΡΠΈΡ. 6.4) Π²ΡΠ±ΠΎΡΠ° ΠΏΠ΅ΡΠ΅Π΄Π°ΡΠΈ ΠΈ ΡΡΡΠ°Π³ 10 ΠΏΠ΅ΡΠ΅ΠΊΠ»ΡΡΠ΅Π½ΠΈΡ.ΠΡΠΈΠ²ΠΎΠ΄ ΡΠΏΡΠ°Π²Π»Π΅Π½ΠΈΡ ΠΌΠ΅Ρ Π°Π½ΠΈΡΠ΅ΡΠΊΠΎΠΉ ΠΊΠΎΡΠΎΠ±ΠΊΠΎΠΉ ΠΏΠ΅ΡΠ΅Π΄Π°Ρ ΡΠΎΡΡΠΎΠΈΡ ΠΈΠ· ΠΊΡΠ»ΠΈΡΡ ΡΡΡΠ°Π³Π° ΠΏΠ΅ΡΠ΅ΠΊΠ»ΡΡΠ΅Π½ΠΈΡ ΠΏΠ΅ΡΠ΅Π΄Π°Ρ Ρ ΡΠ°ΡΠΎΠ²ΠΎΠΉ ΠΎΠΏΠΎΡΠΎΠΉ, ΡΡΡΠ°Π½ΠΎΠ²Π»Π΅Π½Π½ΠΎΠΉ Π½Π° ΠΎΡΠ½ΠΎΠ²Π°Π½ΠΈΠΈ ΠΊΡΠ·ΠΎΠ²Π°, Π΄Π²ΡΡ ΡΡΠΎΡΠΎΠ² ΠΏΠ΅ΡΠ΅ΠΊΠ»ΡΡΠ΅Π½ΠΈΡ ΠΈ Π²ΡΠ±ΠΎΡΠ° ΠΏΠ΅ΡΠ΅Π΄Π°Ρ, Π° ΡΠ°ΠΊΠΆΠ΅ ΠΌΠ΅Ρ Π°Π½ΠΈΠ·ΠΌΠ°, ΡΡΡΠ°Π½ΠΎΠ²Π»Π΅Π½Π½ΠΎΠ³ΠΎ Π² ΠΊΠ°ΡΡΠ΅ΡΠ΅ ΠΊΠΎΡΠΎΠ±ΠΊΠΈ ΠΏΠ΅ΡΠ΅Π΄Π°Ρ. ΠΠ»Ρ ΠΎΠ±Π΅ΡΠΏΠ΅ΡΠ΅Π½ΠΈΡ ΡΠ΅ΡΠΊΠΎΠ³ΠΎ Π²ΠΊΠ»ΡΡΠ΅Π½ΠΈΡ ΠΏΠ΅ΡΠ΅Π΄Π°Ρ ΡΡΡΠ°Π³ 10 ΠΏΠ΅ΡΠ΅ΠΊΠ»ΡΡΠ΅Π½ΠΈΡ ΠΏΠ΅ΡΠ΅Π΄Π°Ρ ΠΌΠ΅Ρ Π°Π½ΠΈΠ·ΠΌΠ° ΠΏΠ΅ΡΠ΅ΠΊΠ»ΡΡΠ΅Π½ΠΈΡ ΠΈΠ·Π³ΠΎΡΠΎΠ²Π»Π΅Π½ Π·Π° ΠΎΠ΄Π½ΠΎ ΡΠ΅Π»ΠΎΠ΅ Ρ ΠΌΠ°ΡΡΠΈΠ²Π½ΡΠΌ ΠΏΡΠΎΡΠΈΠ²ΠΎΠ²Π΅ΡΠΎΠΌ. Π’ΡΠΎΡΡ Π²ΡΠ±ΠΎΡΠ° ΠΈ ΠΏΠ΅ΡΠ΅ΠΊΠ»ΡΡΠ΅Π½ΠΈΡ ΠΏΠ΅ΡΠ΅Π΄Π°Ρ ΠΊΠΎΠ½ΡΡΡΡΠΊΡΠΈΠ²Π½ΠΎ ΠΎΡΠ»ΠΈΡΠ°ΡΡΡΡ Π΄ΡΡΠ³ ΠΎΡ Π΄ΡΡΠ³Π° ΠΈ Π½Π΅Π²Π·Π°ΠΈΠΌΠΎΠ·Π°ΠΌΠ΅Π½ΡΠ΅ΠΌΡ.
ΠΠ»Π°Π²Π½Π°Ρ ΠΏΠ΅ΡΠ΅Π΄Π°ΡΠ° Π²ΡΠΏΠΎΠ»Π½Π΅Π½Π° Π² Π²ΠΈΠ΄Π΅ ΠΏΠ°ΡΡ ΡΠΈΠ»ΠΈΠ½Π΄ΡΠΈΡΠ΅ΡΠΊΠΈΡ ΡΠ΅ΡΡΠ΅ΡΠ΅Π½, ΠΏΠΎΠ΄ΠΎΠ±ΡΠ°Π½Π½ΡΡ ΠΏΠΎ ΡΡΠΌΡ. ΠΡΡΡΡΡΠΈΠΉ ΠΌΠΎΠΌΠ΅Π½Ρ ΠΏΠ΅ΡΠ΅Π΄Π°Π΅ΡΡΡ ΠΎΡ Π²Π΅Π΄ΠΎΠΌΠΎΠΉ ΡΠ΅ΡΡΠ΅ΡΠ½ΠΈ Π³Π»Π°Π²Π½ΠΎΠΉ ΠΏΠ΅ΡΠ΅Π΄Π°ΡΠΈ Π½Π° Π΄ΠΈΡΡΠ΅ΡΠ΅Π½ΡΠΈΠ°Π» ΠΈ Π΄Π°Π»Π΅Π΅ Π½Π° ΠΏΡΠΈΠ²ΠΎΠ΄Ρ ΠΏΠ΅ΡΠ΅Π΄Π½ΠΈΡ ΠΊΠΎΠ»Π΅Ρ.
ΠΠΈΡΡΠ΅ΡΠ΅Π½ΡΠΈΠ°Π» ΠΊΠΎΠ½ΠΈΡΠ΅ΡΠΊΠΈΠΉ, Π΄Π²ΡΡ ΡΠ°ΡΠ΅Π»Π»ΠΈΡΠ½ΡΠΉ. ΠΠ΅ΡΠΌΠ΅ΡΠΈΡΠ½ΠΎΡΡΡ ΡΠΎΠ΅Π΄ΠΈΠ½Π΅Π½ΠΈΡ Π²Π½ΡΡΡΠ΅Π½Π½ΠΈΡ ΡΠ°ΡΠ½ΠΈΡΠΎΠ² ΠΏΡΠΈΠ²ΠΎΠ΄ΠΎΠ² ΠΏΠ΅ΡΠ΅Π΄Π½ΠΈΡ ΠΊΠΎΠ»Π΅Ρ Ρ ΡΠ΅ΡΡΠ΅ΡΠ½ΡΠΌΠΈ Π΄ΠΈΡΡΠ΅ΡΠ΅Π½ΡΠΈΠ°Π»Π° ΠΎΠ±Π΅ΡΠΏΠ΅ΡΠΈΠ²Π°Π΅ΡΡΡ ΡΠ°Π»ΡΠ½ΠΈΠΊΠ°ΠΌΠΈ 12.
ΠΠ²ΡΠΎΠΌΠ°ΡΠΈΡΠ΅ΡΠΊΠ°Ρ ΠΊΠΎΡΠΎΠ±ΠΊΠ° ΠΏΠ΅ΡΠ΅Π΄Π°Ρ Ρ Π°Π΄Π°ΠΏΡΠΈΠ²Π½ΠΎΠΉ ΡΠΈΡΡΠ΅ΠΌΠΎΠΉ ΡΠΏΡΠ°Π²Π»Π΅Π½ΠΈΡ ΠΎΠ±Π΅ΡΠΏΠ΅ΡΠΈΠ²Π°Π΅Ρ Π²ΡΠ±ΠΎΡ ΠΎΠΏΡΠΈΠΌΠ°Π»ΡΠ½ΠΎΠ³ΠΎ ΡΠ΅ΠΆΠΈΠΌΠ° ΠΏΠ΅ΡΠ΅ΠΊΠ»ΡΡΠ΅Π½ΠΈΡ ΠΏΠ΅ΡΠ΅Π΄Π°Ρ ΠΏΡΠ°ΠΊΡΠΈΡΠ΅ΡΠΊΠΈ Π΄Π»Ρ Π»ΡΠ±ΡΡ ΡΡΠΈΠ»Π΅ΠΉ Π²ΠΎΠΆΠ΄Π΅Π½ΠΈΡ ΠΈ Π΄ΠΎΡΠΎΠΆΠ½ΡΡ ΡΡΠ»ΠΎΠ²ΠΈΠΉ. ΠΠ²ΡΠΎΠΌΠ°ΡΠΈΡΠ΅ΡΠΊΠΈΠ΅ ΠΊΠΎΡΠΎΠ±ΠΊΠΈ ΠΏΠ΅ΡΠ΅Π΄Π°Ρ, ΡΡΡΠ°Π½Π°Π²Π»ΠΈΠ²Π°Π΅ΠΌΡΠ΅ Ρ Π΄Π²ΠΈΠ³Π°ΡΠ΅Π»ΡΠΌΠΈ ΡΠ°Π±ΠΎΡΠΈΠΌ ΠΎΠ±ΡΠ΅ΠΌΠΎΠΌ 1,6 ΠΈ 2,0 Π», ΠΎΠ΄ΠΈΠ½Π°ΠΊΠΎΠ²Ρ ΠΏΠΎ ΠΊΠΎΠ½ΡΡΡΡΠΊΡΠΈΠΈ ΠΈ ΡΠ°Π·Π»ΠΈΡΠ°ΡΡΡΡ ΡΠΎΠ»ΡΠΊΠΎ ΠΏΠ΅ΡΠ΅Π΄Π°ΡΠΎΡΠ½ΡΠΌΠΈ ΡΠΈΡΠ»Π°ΠΌΠΈ.
ΠΠ²ΡΠΎΠΌΠ°ΡΠΈΡΠ΅ΡΠΊΠ°Ρ ΠΊΠΎΡΠΎΠ±ΠΊΠ° ΠΏΠ΅ΡΠ΅Π΄Π°Ρ ΡΠΊΠΎΠΌΠΏΠΎΠ½ΠΎΠ²Π°Π½Π° ΠΏΠΎ ΡΡΠ°Π΄ΠΈΡΠΈΠΎΠ½Π½ΠΎΠΉ ΠΏΠ»Π°Π½Π΅ΡΠ°ΡΠ½ΠΎΠΉ ΡΡ Π΅ΠΌΠ΅ Ρ ΡΠΎΡΠΌΠΎΠΆΠ΅Π½ΠΈΠ΅ΠΌ ΡΡΠΈΠΊΡΠΈΠΎΠ½Π°ΠΌΠΈ ΠΈ ΡΠΎΠ΅Π΄ΠΈΠ½Π΅Π½Π° Ρ ΠΊΠΎΠ»Π΅Π½ΡΠ°ΡΡΠΌ Π²Π°Π»ΠΎΠΌ Π΄Π²ΠΈΠ³Π°ΡΠ΅Π»Ρ ΡΠ΅ΡΠ΅Π· Π³ΠΈΠ΄ΡΠΎΡΡΠ°Π½ΡΡΠΎΡΠΌΠ°ΡΠΎΡ. ΠΡΠΎΠ±Π΅Π½Π½ΠΎΡΡΡΡ ΠΊΠΎΡΠΎΠ±ΠΊΠΈ Π°Π²ΡΠΎΠΌΠΎΠ±ΠΈΠ»Π΅ΠΉ Ford Focus II ΠΏΠΎ ΡΡΠ°Π²Π½Π΅Π½ΠΈΡ Ρ Π°Π²ΡΠΎΠΌΠ°ΡΠΈΡΠ΅ΡΠΊΠΈΠΌΠΈ ΠΊΠΎΡΠΎΠ±ΠΊΠ°ΠΌΠΈ ΠΏΠ΅ΡΠ΅Π΄Π°Ρ ΠΏΡΠ΅Π΄ΡΠ΄ΡΡΠΈΡ ΠΏΠΎΠΊΠΎΠ»Π΅Π½ΠΈΠΉ ΡΠ²Π»ΡΠ΅ΡΡΡ Π²ΠΎΠ·ΠΌΠΎΠΆΠ½ΠΎΡΡΡ ΠΏΠ΅ΡΠ΅Ρ ΠΎΠ΄Π° ΠΈΠ· ΠΏΠΎΠ»Π½ΠΎΡΡΡΡ Π°Π²ΡΠΎΠΌΠ°ΡΠΈΡΠ΅ΡΠΊΠΎΠ³ΠΎ ΡΠ΅ΠΆΠΈΠΌΠ° ΡΠΏΡΠ°Π²Π»Π΅Π½ΠΈΡ Π² ΡΡΡΠ½ΠΎΠΉ ΡΠ΅ΠΆΠΈΠΌ (ΡΠ°ΠΊ Π½Π°Π·ΡΠ²Π°Π΅ΠΌΠ°Ρ ΡΠ΅ΠΊΠ²Π΅Π½ΡΠ°Π»ΡΠ½Π°Ρ ΠΊΠΎΡΠΎΠ±ΠΊΠ° ΠΏΠ΅ΡΠ΅Π΄Π°Ρ), ΠΏΡΠΈ ΠΊΠΎΡΠΎΡΠΎΠΌ Π²ΠΎΠ΄ΠΈΡΠ΅Π»Ρ Π²ΠΎ Π²ΡΠ΅ΠΌΡ ΡΠ°Π·Π³ΠΎΠ½Π° Π°Π²ΡΠΎΠΌΠΎΠ±ΠΈΠ»Ρ ΡΠ°ΠΌΠΎΡΡΠΎΡΡΠ΅Π»ΡΠ½ΠΎ Π²ΡΠ±ΠΈΡΠ°Π΅Ρ ΠΌΠΎΠΌΠ΅Π½Ρ ΠΏΠ΅ΡΠ΅ΠΊΠ»ΡΡΠ΅Π½ΠΈΡ Π½Π° ΠΏΠΎΠ²ΡΡΠ°ΡΡΡΡ ΠΏΠ΅ΡΠ΅Π΄Π°ΡΡ. ΠΡΠΎ ΠΏΠΎΠ·Π²ΠΎΠ»ΡΠ΅Ρ ΠΏΡΠΈ ΠΆΠ΅Π»Π°Π½ΠΈΠΈ Π΄ΠΎΠ±ΠΈΡΡΡΡ Π±ΠΎΠ»Π΅Π΅ ΠΈΠ½ΡΠ΅Π½ΡΠΈΠ²Π½ΠΎΠ³ΠΎ ΡΠ°Π·Π³ΠΎΠ½Π° ΠΏΠΎ ΡΡΠ°Π²Π½Π΅Π½ΠΈΡ Ρ Π°Π²ΡΠΎΠΌΠ°ΡΠΈΡΠ΅ΡΠΊΠΈΠΌ ΡΠ΅ΠΆΠΈΠΌΠΎΠΌ, ΠΈΡΠΊΡΡΡΡΠ²Π΅Π½Π½ΠΎ Π·Π°Π΄Π΅ΡΠΆΠΈΠ²Π°Ρ ΠΏΠ΅ΡΠ΅ΠΊΠ»ΡΡΠ΅Π½ΠΈΠ΅ Π½Π° ΠΏΠΎΠ²ΡΡΠ°ΡΡΡΡ ΠΏΠ΅ΡΠ΅Π΄Π°ΡΡ, ΡΡΠΎ ΠΏΠΎΠ·Π²ΠΎΠ»ΡΠ΅Ρ Π΄ΠΎΠ²Π΅ΡΡΠΈ ΡΠ°ΡΡΠΎΡΡ Π²ΡΠ°ΡΠ΅Π½ΠΈΡ ΠΊΠΎΠ»Π΅Π½ΡΠ°ΡΠΎΠ³ΠΎ Π²Π°Π»Π° Π΄Π²ΠΈΠ³Π°ΡΠ΅Π»Ρ Π΄ΠΎ Π΄ΠΈΠ°ΠΏΠ°Π·ΠΎΠ½Π° Π½Π°ΠΈΠ±ΠΎΠ»ΡΡΠ΅Π³ΠΎ ΠΊΡΡΡΡΡΠ΅Π³ΠΎ ΠΌΠΎΠΌΠ΅Π½ΡΠ°. Π ΡΠΎ ΠΆΠ΅ Π²ΡΠ΅ΠΌΡ ΡΠ»Π΅ΠΊΡΡΠΎΠ½Π½Π°Ρ ΡΠΈΡΡΠ΅ΠΌΠ° ΡΠΏΡΠ°Π²Π»Π΅Π½ΠΈΡ ΠΏΠΎΡΡΠΎΡΠ½Π½ΠΎ ΠΊΠΎΠ½ΡΡΠΎΠ»ΠΈΡΡΠ΅Ρ ΡΠΊΠΎΡΠΎΡΡΡ Π°Π²ΡΠΎΠΌΠΎΠ±ΠΈΠ»Ρ ΠΈ Π½Π°Π³ΡΡΠ·ΠΊΡ Π΄Π²ΠΈΠ³Π°ΡΠ΅Π»Ρ, ΠΈΡΠΊΠ»ΡΡΠ°Π΅Ρ ΠΎΡΠΈΠ±ΠΊΠΈ Π²ΠΎΠ΄ΠΈΡΠ΅Π»Ρ, Π½Π΅ ΠΏΠΎΠ·Π²ΠΎΠ»ΡΡ Π΅ΠΌΡ Π²ΠΊΠ»ΡΡΠΈΡΡ Π±ΠΎΠ»Π΅Π΅ Π²ΡΡΠΎΠΊΡΡ ΠΏΠ΅ΡΠ΅Π΄Π°ΡΡ ΠΏΡΠΈ ΠΌΠ°Π»ΠΎΠΉ ΡΠΊΠΎΡΠΎΡΡΠΈ Π΄Π²ΠΈΠΆΠ΅Π½ΠΈΡ, ΡΡΠΎΠ±Ρ ΠΈΠ·Π±Π΅ΠΆΠ°ΡΡ ΠΏΠ΅ΡΠ΅Π³ΡΡΠ·ΠΊΠΈ Π΄Π²ΠΈΠ³Π°ΡΠ΅Π»Ρ, Π° ΡΠ°ΠΊΠΆΠ΅ Π½Π΅ ΠΏΠΎΠ·Π²ΠΎΠ»ΡΡ Π²ΠΊΠ»ΡΡΠΈΡΡ ΠΏΠΎΠ½ΠΈΠΆΠ°ΡΡΡΡ ΠΏΠ΅ΡΠ΅Π΄Π°ΡΡ Π½Π° ΡΠ»ΠΈΡΠΊΠΎΠΌ Π±ΠΎΠ»ΡΡΠΎΠΉ ΡΠΊΠΎΡΠΎΡΡΠΈ, ΡΡΠΎ ΠΈΡΠΊΠ»ΡΡΠ°Π΅Ρ Π²ΠΎΠ·ΠΌΠΎΠΆΠ½ΠΎΡΡΡ ΠΏΡΠ΅Π²ΡΡΠ΅Π½ΠΈΡ ΠΌΠ°ΠΊΡΠΈΠΌΠ°Π»ΡΠ½ΠΎ Π΄ΠΎΠΏΡΡΡΠΈΠΌΠΎΠΉ ΡΠ°ΡΡΠΎΡΡ Π²ΡΠ°ΡΠ΅Π½ΠΈΡ ΠΊΠΎΠ»Π΅Π½ΡΠ°ΡΠΎΠ³ΠΎ Π²Π°Π»Π° Π΄Π²ΠΈΠ³Π°ΡΠ΅Π»Ρ. ΠΡΠΈ ΡΠ½ΠΈΠΆΠ΅Π½ΠΈΠΈ ΡΠΊΠΎΡΠΎΡΡΠΈ Π°Π²ΡΠΎΠΌΠΎΠ±ΠΈΠ»Ρ ΠΏΠ΅ΡΠ΅Π΄Π°ΡΠΈ Π°Π²ΡΠΎΠΌΠ°ΡΠΈΡΠ΅ΡΠΊΠΈ ΠΏΠ΅ΡΠ΅ΠΊΠ»ΡΡΠ°ΡΡΡΡ Π½Π° Π±ΠΎΠ»Π΅Π΅ Π½ΠΈΠ·ΠΊΠΈΠ΅ Π±Π΅Π· ΡΡΠ°ΡΡΠΈΡ Π²ΠΎΠ΄ΠΈΡΠ΅Π»Ρ. Π ΠΌΠΎΠΌΠ΅Π½Ρ ΠΏΠΎΠ»Π½ΠΎΠΉ ΠΎΡΡΠ°Π½ΠΎΠ²ΠΊΠΈ Π°Π²ΡΠΎΠΌΠΎΠ±ΠΈΠ»Ρ Π°Π²ΡΠΎΠΌΠ°ΡΠΈΡΠ΅ΡΠΊΠΈ Π²ΠΊΠ»ΡΡΠ°Π΅ΡΡΡ I ΠΏΠ΅ΡΠ΅Π΄Π°ΡΠ°.
ΠΡΠΈΠ²ΠΎΠ΄ ΡΠΏΡΠ°Π²Π»Π΅Π½ΠΈΡ Π°Π²ΡΠΎΠΌΠ°ΡΠΈΡΠ΅ΡΠΊΠΎΠΉ ΠΊΠΎΡΠΎΠ±ΠΊΠΎΠΉ ΠΏΠ΅ΡΠ΅Π΄Π°Ρ ΡΡΠΎΡΠΎΠ²ΡΠΉ, ΡΠΊΠΎΠ½ΡΡΡΡΠΈΡΠΎΠ²Π°Π½ ΠΏΠΎ ΡΠΎΠΌΡ ΠΆΠ΅ ΠΏΡΠΈΠ½ΡΠΈΠΏΡ, ΡΡΠΎ ΠΈ ΠΏΡΠΈΠ²ΠΎΠ΄ ΡΠΏΡΠ°Π²Π»Π΅Π½ΠΈΡ ΠΌΠ΅Ρ Π°Π½ΠΈΡΠ΅ΡΠΊΠΎΠΉ ΠΊΠΎΡΠΎΠ±ΠΊΠΎΠΉ, Π½ΠΎ ΠΎΡΠ»ΠΈΡΠ°Π΅ΡΡΡ ΠΎΡ Π½Π΅Π³ΠΎ ΠΊΠΎΠ»ΠΈΡΠ΅ΡΡΠ²ΠΎΠΌ ΠΈ ΠΊΠΎΠ½ΡΡΡΡΠΊΡΠΈΠ΅ΠΉ Π΄Π΅ΡΠ°Π»Π΅ΠΉ. Π‘Π΅Π»Π΅ΠΊΡΠΎΡ Π°Π²ΡΠΎΠΌΠ°ΡΠΈΡΠ΅ΡΠΊΠΎΠΉ ΠΊΠΎΡΠΎΠ±ΠΊΠΈ ΠΏΠ΅ΡΠ΅Π΄Π°Ρ ΡΡΡΠ°Π½ΠΎΠ²Π»Π΅Π½ Π½Π° ΡΠΎΠΌ ΠΆΠ΅ ΠΌΠ΅ΡΡΠ΅ Π½Π° ΡΠΎΠ½Π½Π΅Π»Π΅ ΠΏΠΎΠ»Π°, ΡΡΠΎ ΠΈ ΡΡΡΠ°Π³ ΡΠΏΡΠ°Π²Π»Π΅Π½ΠΈΡ ΠΌΠ΅Ρ Π°Π½ΠΈΡΠ΅ΡΠΊΠΎΠΉ ΠΊΠΎΡΠΎΠ±ΠΊΠΎΠΉ, ΠΈ ΡΠΎΠ΅Π΄ΠΈΠ½Π΅Π½ Ρ Π±Π»ΠΎΠΊΠΎΠΌ ΡΠΏΡΠ°Π²Π»Π΅Π½ΠΈΡ Π½Π° ΠΊΠΎΡΠΎΠ±ΠΊΠ΅ ΠΏΠ΅ΡΠ΅Π΄Π°Ρ ΡΡΠΎΡΠΎΠΌ ΡΠΏΡΠ°Π²Π»Π΅Π½ΠΈΡ.
ΠΠΈΡΡΠ΅ΡΠ΅Π½ΡΠΈΠ°Π» Π°Π²ΡΠΎΠΌΠ°ΡΠΈΡΠ΅ΡΠΊΠΎΠΉ ΠΊΠΎΡΠΎΠ±ΠΊΠΈ ΠΏΠ΅ΡΠ΅Π΄Π°Ρ ΠΏΠΎ ΠΊΠΎΠ½ΡΡΡΡΠΊΡΠΈΠΈ ΠΏΠΎΠ»Π½ΠΎΡΡΡΡ Π°Π½Π°Π»ΠΎΠ³ΠΈΡΠ΅Π½ Π΄ΠΈΡΡΠ΅ΡΠ΅Π½ΡΠΈΠ°Π»Ρ ΠΌΠ΅Ρ Π°Π½ΠΈΡΠ΅ΡΠΊΠΎΠΉ ΠΊΠΎΡΠΎΠ±ΠΊΠΈ ΠΏΠ΅ΡΠ΅Π΄Π°Ρ.
ΠΠ»Ρ ΡΠ΅ΠΌΠΎΠ½ΡΠ° ΠΊΠΎΡΠΎΠ±ΠΊΠΈ ΠΏΠ΅ΡΠ΅Π΄Π°Ρ, ΠΎΡΠΎΠ±Π΅Π½Π½ΠΎ Π°Π²ΡΠΎΠΌΠ°ΡΠΈΡΠ΅ΡΠΊΠΎΠΉ ΠΊΠΎΡΠΎΠ±ΠΊΠΈ, ΡΡΠ΅Π±ΡΠ΅ΡΡΡ Π±ΠΎΠ»ΡΡΠΎΠΉ Π½Π°Π±ΠΎΡ ΡΠΏΠ΅ΡΠΈΠ°Π»ΡΠ½ΠΎΠ³ΠΎ ΠΈΠ½ΡΡΡΡΠΌΠ΅Π½ΡΠ° ΠΈ ΡΠΎΠΎΡΠ²Π΅ΡΡΡΠ²ΡΡΡΠ°Ρ ΠΏΠΎΠ΄Π³ΠΎΡΠΎΠ²ΠΊΠ° ΠΈΡΠΏΠΎΠ»Π½ΠΈΡΠ΅Π»Ρ, ΠΏΠΎΡΡΠΎΠΌΡ Π² Π΄Π°Π½Π½ΠΎΠΌ ΡΠ°Π·Π΄Π΅Π»Π΅ ΡΠ°ΡΡΠΌΠΎΡΡΠ΅Π½Ρ ΡΠΎΠ»ΡΠΊΠΎ ΡΠ½ΡΡΠΈΠ΅ ΠΈ ΡΡΡΠ°Π½ΠΎΠ²ΠΊΠ° ΠΊΠΎΡΠΎΠ±ΠΊΠΈ ΠΏΠ΅ΡΠ΅Π΄Π°Ρ, Π·Π°ΠΌΠ΅Π½Π° Π΅Π΅ ΡΠΏΠ»ΠΎΡΠ½Π΅Π½ΠΈΠΉ, ΡΠ΅ΠΌΠΎΠ½Ρ ΠΏΡΠΈΠ²ΠΎΠ΄Π°. Π ΡΠ»ΡΡΠ°Π΅ Π½Π΅ΠΎΠ±Ρ ΠΎΠ΄ΠΈΠΌΠΎΡΡΠΈ Π²ΡΠΏΠΎΠ»Π½ΡΠΉΡΠ΅ ΡΠ΅ΠΌΠΎΠ½Ρ ΠΊΠΎΡΠΎΠ±ΠΊΠΈ ΠΏΠ΅ΡΠ΅Π΄Π°Ρ Π½Π° ΡΠΏΠ΅ΡΠΈΠ°Π»ΠΈΠ·ΠΈΡΠΎΠ²Π°Π½Π½ΠΎΠΌ ΡΠ΅ΡΠ²ΠΈΡΠ΅.
vnx.su
9.1. Π£ΡΡΠ°Π½ΠΎΠ²ΠΊΠ° ΠΌΠ΅Ρ Π°Π½ΠΈΠ·ΠΌΠ° ΡΠΏΡΠ°Π²Π»Π΅Π½ΠΈΡ ΠΊΠΎΡΠΎΠ±ΠΊΠΈ ΠΏΠ΅ΡΠ΅Π΄Π°Ρ iB5
9.2. Π Π΅Π³ΡΠ»ΠΈΡΠΎΠ²ΠΊΠ° ΠΌΠ΅Ρ Π°Π½ΠΈΠ·ΠΌΠ° ΡΠΏΡΠ°Π²Π»Π΅Π½ΠΈΡ ΠΊΠΎΡΠΎΠ±ΠΊΠΈ ΠΏΠ΅ΡΠ΅Π΄Π°Ρ MTX-75
9.3. Π Π΅Π³ΡΠ»ΠΈΡΠΎΠ²ΠΊΠ° ΠΌΠ΅Ρ Π°Π½ΠΈΠ·ΠΌΠ° ΡΠΏΡΠ°Π²Π»Π΅Π½ΠΈΡ Π°Π²ΡΠΎΠΌΠ°ΡΠΈΡΠ΅ΡΠΊΠΎΠΉ ΠΊΠΎΡΠΎΠ±ΠΊΠΈ ΠΏΠ΅ΡΠ΅Π΄Π°Ρ 4F27E
9.4.Β ΠΠ΅Ρ Π°Π½ΠΈΡΠ΅ΡΠΊΠ°Ρ ΡΠ°Π·Π±Π»ΠΎΠΊΠΈΡΠΎΠ²ΠΊΠ° ΡΠ΅Π»Π΅ΠΊΡΠΎΡΠ° Π°Π²ΡΠΎΠΌΠ°ΡΠΈΡΠ΅ΡΠΊΠΎΠΉ ΠΊΠΎΡΠΎΠ±ΠΊΠΈ ΠΏΠ΅ΡΠ΅Π΄Π°Ρ 4F27E
9.5. ΠΡΠΎΠ²Π΅ΡΠΊΠ° ΡΡΠΎΠ²Π½Ρ ΠΌΠ°ΡΠ»Π° Π² ΠΊΠΎΡΠΎΠ±ΠΊΠ΅ ΠΏΠ΅ΡΠ΅Π΄Π°Ρ
Β 9.5.1. ΠΠ΅Ρ Π°Π½ΠΈΡΠ΅ΡΠΊΠ°Ρ ΠΊΠΎΡΠΎΠ±ΠΊΠ° ΠΏΠ΅ΡΠ΅Π΄Π°Ρ
Β 9.5.2. ΠΡΠΎΠ²Π΅ΡΠΊΠ° ΡΡΠΎΠ²Π½Ρ ΡΠ°Π±ΠΎΡΠ΅ΠΉ ΠΆΠΈΠ΄ΠΊΠΎΡΡΠΈ Π½Π° Π°Π²ΡΠΎΠΌΠ°ΡΠΈΡΠ΅ΡΠΊΠΎΠΉ ΠΊΠΎΡΠΎΠ±ΠΊΠ΅ ΠΏΠ΅ΡΠ΅Π΄Π°Ρ 4F27E
9.6. Π‘Π½ΡΡΠΈΠ΅ ΠΈ ΡΡΡΠ°Π½ΠΎΠ²ΠΊΠ° ΠΊΠΎΡΠΎΠ±ΠΊΠΈ ΠΏΠ΅ΡΠ΅Π΄Π°Ρ iB5
9.7. Π‘Π½ΡΡΠΈΠ΅ ΠΈ ΡΡΡΠ°Π½ΠΎΠ²ΠΊΠ° ΠΊΠΎΡΠΎΠ±ΠΊΠΈ ΠΏΠ΅ΡΠ΅Π΄Π°Ρ ΠΠ’Π₯-75
|
Π’ΠΈΠΏ |
ΠΠ΅Ρ Π°Π½ΠΈΡΠ΅ΡΠΊΠ°Ρ, ΡΡΠ΅Ρ Ρ ΠΎΠ΄ΠΎΠ²Π°Ρ, Π΄Π²ΡΡ Π²Π°Π»ΡΠ½Π°Ρ, ΠΏΡΡΠΈΡΡΡΠΏΠ΅Π½ΡΠ°ΡΠ°Ρ, Ρ ΡΡΠΎΡΡΠΎΠ²ΡΠΌ ΡΠΏΡΠ°Π²Π»Π΅Π½ΠΈΠ΅ΠΌ |
||
|
ΠΠΎΠ΄Π΅Π»Ρ ΠΊΠΎΡΠΎΠ±ΠΊΠΈ ΠΏΠ΅ΡΠ΅Π΄Π°ΡΒ Β Β Β Β Β Β Β Β Β Β Β Β Β |
iB5 |
MTX-75 (Π±Π΅Π½Π·ΠΈΠ½ΠΎΠ²ΡΠΉ Π΄Π²ΠΈΠ³Π°ΡΠ΅Π»Ρ) |
MTX-75 (Π΄ΠΈΠ·Π΅Π»ΡΠ½ΡΠΉ Π΄Π²ΠΈΠ³Π°ΡΠ΅Π»Ρ) |
|
ΠΠ΅ΡΠ΅Π΄Π°ΡΠΎΡΠ½ΡΠ΅ ΡΠΈΡΠ»Π° 1-Ρ ΠΏΠ΅ΡΠ΅Π΄Π°ΡΠ°Β Β Β Β Β Β Β Β Β Β Β Β Β 2-Ρ ΠΏΠ΅ΡΠ΅Π΄Π°ΡΠ°Β Β Β Β Β Β Β Β Β Β Β Β Β 3-Ρ ΠΏΠ΅ΡΠ΅Π΄Π°ΡΠ°Β Β Β Β Β Β Β Β Β Β Β Β Β 4-Ρ ΠΏΠ΅ΡΠ΅Π΄Π°ΡΠ°Β Β Β Β Β Β Β Β Β Β Β Β Β 5-Ρ ΠΏΠ΅ΡΠ΅Π΄Π°ΡΠ°Β Β Β Β Β Β Β Β Β Β Β Β Β Π·Π°Π΄Π½Π΅Π³ΠΎ Ρ ΠΎΠ΄Π°Β Β Β Β Β Β Β Β Β Β Β Β Β ΠΠ»Π°Π²Π½Π°Ρ ΠΏΠ΅ΡΠ΅Π΄Π°ΡΠ°Β Β Β Β |
Β
3,58 1,93 1,28 0,95 0,76 3,62 4,06*/3,16** |
Β
3,42 2,14 1,45 1,03 0,77 3,46 4,06 |
Β
3,67 2,05 1,25 0,87 0,67 3,56 3,41*/3,56** |
* Π‘ Π½ΠΎΡΠ±ΡΡ 1999 Π³.; ** ΠΠΎ Π½ΠΎΡΠ±ΡΡ 1999 Π³
|
iB5 |
MTX-75(Π±Π΅Π½Π·ΠΈΠ½ΠΎΠ²ΡΠΉ Π΄Π²ΠΈΠ³Π°ΡΠ΅Π»Ρ) |
MTX-75(Π΄ΠΈΠ·Π΅Π»ΡΠ½ΡΠΉ Π΄Π²ΠΈΠ³Π°ΡΠ΅Π»Ρ) |
ΠΠ²ΡΠΎΠΌΠ°ΡΠΈΡΠ΅ΡΠΊΠ°Ρ ΠΊΠΎΡΠΎΠ±ΠΊΠ° ΠΏΠ΅ΡΠ΅Π΄Π°Ρ |
|
|
ΠΠ±ΡΠ΅ΠΌ Π·Π°Π»ΠΈΠ²Π°Π΅ΠΌΠΎΠ³ΠΎ ΠΌΠ°ΡΠ»Π°, Π» |
2,3 |
1,9 |
1,9 |
4,5 |
|
ΠΠ°ΡΠΊΠ° ΠΌΠ°ΡΠ»Π° |
WSD-M2C200-C |
ESD-M2C186-A |
WSD-M2C200-C |
WSS-M2C202-B |
Β
|
Π ΠΈΡ. 221. ΠΠΎΡΠΎΠ±ΠΊΠ° ΠΏΠ΅ΡΠ΅Π΄Π°Ρ iB5: 1 β ΡΠ°Π±ΠΎΡΠΈΠΉ ΡΠΈΠ»ΠΈΠ½Π΄Ρ ΡΡΠ΅ΠΏΠ»Π΅Π½ΠΈΡ; 2 β ΡΠ°ΠΏΡΠ½; 3 β ΠΏΠ΅ΡΠ²ΠΈΡΠ½ΡΠΉ Π²Π°Π»; 4 β Π²ΡΠΎΡΠΈΡΠ½ΡΠΉ Π²Π°Π»; 5 β Π΄ΠΈΡΡΠ΅ΡΠ΅Π½ΡΠΈΠ°Π» Β |
Π Π·Π°Π²ΠΈΡΠΈΠΌΠΎΡΡΠΈ ΠΎΡ Π²Π°ΡΠΈΠ°Π½ΡΠΎΠ² ΡΡΡΠ°Π½Π°Π²Π»ΠΈΠ²Π°Π΅ΠΌΡΡ Π½Π° Π°Π²ΡΠΎΠΌΠΎΠ±ΠΈΠ»ΠΈ Focus Π΄Π²ΠΈΠ³Π°ΡΠ΅Π»Π΅ΠΉ ΡΠΎΠΎΡΠ²Π΅ΡΡΡΠ²Π΅Π½Π½ΠΎ ΡΡΡΠ°Π½Π°Π²Π»ΠΈΠ²Π°ΡΡΡΡ ΠΈ ΡΠ°Π·Π»ΠΈΡΠ½ΡΠ΅ Π²Π°ΡΠΈΠ°Π½ΡΡ ΠΊΠΎΡΠΎΠ±ΠΎΠΊ ΠΏΠ΅ΡΠ΅Π΄Π°Ρ. ΠΠΎΡΠΎΠ±ΠΊΠ° ΠΏΠ΅ΡΠ΅Π΄Π°Ρ iB5 ΡΡΡΠ°Π½Π°Π²Π»ΠΈΠ²Π°Π΅ΡΡΡ Ρ Π΄Π²ΠΈΠ³Π°ΡΠ΅Π»ΡΠΌΠΈ 1,4 Π» Zetec-SE, 1,6 Π» Zetec-SE ΠΈ 1,8 Π» Zetec-E ( ΡΠΈΡ. 221). Π‘ Π΄Π²ΠΈΠ³Π°ΡΠ΅Π»Π΅ΠΌ 2,0 Π» Zetec-E ΠΈ ΠΎΠ±ΠΎΠΈΠΌΠΈ Π΄ΠΈΠ·Π΅Π»ΡΠ½ΡΠΌΠΈ Π΄Π²ΠΈΠ³Π°ΡΠ΅Π»ΡΠΌΠΈ ΡΡΡΠ°Π½Π°Π²Π»ΠΈΠ²Π°Π΅ΡΡΡ ΠΊΠΎΡΠΎΠ±ΠΊΠ° ΠΏΠ΅ΡΠ΅Π΄Π°Ρ ΠΠ’Π₯-75.
Β
|
Π ΠΈΡ. 222. ΠΠ²ΡΠΎΠΌΠ°ΡΠΈΡΠ΅ΡΠΊΠ°Ρ ΠΊΠΎΡΠΎΠ±ΠΊΠ° ΠΏΠ΅ΡΠ΅Π΄Π°Ρ 4F27E: 1 β Π»Π΅Π½ΡΠΎΡΠ½ΡΠΉ ΡΠΎΡΠΌΠΎΠ·; 2 β ΠΏΠ»Π°Π½Π΅ΡΠ°ΡΠ½ΡΠΉ ΠΌΠ΅Ρ Π°Π½ΠΈΠ·ΠΌ; 3, 4, 12 ΠΈ 13 β ΠΌΠ½ΠΎΠ³ΠΎΠ΄ΠΈΡΠΊΠΎΠ²ΡΠ΅ ΡΡΠΈΠΊΡΠΈΠΎΠ½Ρ; 5 β ΠΌΠ°ΡΠ»ΡΠ½ΡΠΉ Π½Π°ΡΠΎΡ; 6 β Π³ΠΈΠ΄ΡΠΎΡΡΠ°Π½ΡΡΠΎΡΠΌΠ°ΡΠΎΡ; 7 β Π²Ρ ΠΎΠ΄Π½ΠΎΠΉ Π²Π°Π»; 8 β ΠΏΡΠΎΠΌΠ΅ΠΆΡΡΠΎΡΠ½Π°Ρ ΡΠ΅ΡΡΠ΅ΡΠ½Ρ; 9 β Π΄ΠΈΡΡΠ΅ΡΠ΅Π½ΡΠΈΠ°Π»; 10 β ΡΠ΅ΡΡΠ΅ΡΠ½Ρ; 11 β ΠΌΡΡΡΠ° ΡΠ²ΠΎΠ±ΠΎΠ΄Π½ΠΎΠ³ΠΎ Ρ ΠΎΠ΄Π° Β |
ΠΠ²ΡΠΎΠΌΠ°ΡΠΈΡΠ΅ΡΠΊΠ°Ρ ΠΊΠΎΡΠΎΠ±ΠΊΠ° ΠΏΠ΅ΡΠ΅Π΄Π°Ρ Ρ ΠΎΠ±ΠΎΠ·Π½Π°ΡΠ΅Π½ΠΈΠ΅ΠΌ 4F27E Ford ΡΡΡΠ°Π½Π°Π²Π»ΠΈΠ²Π°Π΅ΡΡΡ Ρ Π΄Π²ΠΈΠ³Π°ΡΠ΅Π»Π΅ΠΌ 1,6 Π» Zetec-SE. Π ΡΠ°Π·ΡΠ°Π±ΠΎΡΠΊΠ΅ ΡΡΠΎΠΉ ΠΊΠΎΡΠΎΠ±ΠΊΠΈ ΠΏΡΠΈΠ½ΠΈΠΌΠ°Π»Π° ΡΡΠ°ΡΡΠΈΠ΅ . ΠΠΎΡΠΎΠ±ΠΊΠ° ΠΏΠ΅ΡΠ΅Π΄Π°Ρ ΠΈΠΌΠ΅Π΅Ρ ΡΠ»Π΅ΠΊΡΡΠΎΠ½Π½ΠΎΠ΅ ΡΠΏΡΠ°Π²Π»Π΅Π½ΠΈΠ΅ ΠΈ ΡΡΠ½ΠΊΡΠΈΡ Π±Π»ΠΎΠΊΠΈΡΠΎΠ²ΠΊΠΈ Π³ΠΈΠ΄ΡΠΎΡΡΠ°Π½ΡΡΠΎΡΠΌΠ°ΡΠΎΡΠ°. ΠΠΌΠ΅ΡΡΠΈΠ΅ΡΡ Π² ΠΊΠΎΡΠΎΠ±ΠΊΠ΅ ΠΏΠ΅ΡΠ΅Π΄Π°Ρ Π΄Π²Π° ΠΏΠ»Π°Π½Π΅ΡΠ°ΡΠ½ΡΡ ΡΡΠ΄Π° ΡΠΎΠ·Π΄Π°ΡΡ ΡΠ°Π·Π»ΠΈΡΠ½ΡΠ΅ Π²Π°ΡΠΈΠ°Π½ΡΡ ΠΏΠ΅ΡΠ΅Π΄Π°ΡΠΎΡΠ½ΡΡ ΠΎΡΠ½ΠΎΡΠ΅Π½ΠΈΠΉ ( ΡΠΈΡ. 222).
Π‘ΡΠΎΠΊ ΡΠ»ΡΠΆΠ±Ρ ΡΠΎΠ²ΡΠ΅ΠΌΠ΅Π½Π½ΡΡ ΠΊΠΎΡΠΎΠ±ΠΎΠΊ ΠΏΠ΅ΡΠ΅Π΄Π°Ρ ΡΠΎΠΎΡΠ²Π΅ΡΡΡΠ²ΡΠ΅Ρ ΡΡΠΎΠΊΡ ΡΠ»ΡΠΆΠ±Ρ Π°Π²ΡΠΎΠΌΠΎΠ±ΠΈΠ»Ρ. ΠΠ»Ρ ΡΠ΅ΠΌΠΎΠ½ΡΠ° ΠΊΠΎΡΠΎΠ±ΠΎΠΊ ΠΏΠ΅ΡΠ΅Π΄Π°Ρ ΡΡΠ΅Π±ΡΠ΅ΡΡΡ ΡΠΏΠ΅ΡΠΈΠ°Π»ΡΠ½ΡΠΉ ΠΈΠ½ΡΡΡΡΠΌΠ΅Π½Ρ, ΠΏΠΎΡΡΠΎΠΌΡ ΠΈΡ ΡΠ΅ΠΌΠΎΠ½Ρ ΠΌΡ ΡΠ΅ΠΊΠΎΠΌΠ΅Π½Π΄ΡΠ΅ΠΌ ΠΏΡΠΎΠ²ΠΎΠ΄ΠΈΡΡ Π² ΡΠΏΠ΅ΡΠΈΠ°Π»ΠΈΠ·ΠΈΡΠΎΠ²Π°Π½Π½ΡΡ ΠΌΠ°ΡΡΠ΅ΡΡΠΊΠΈΡ . Π Π΄Π°Π½Π½ΠΎΠΌ ΡΠ°Π·Π΄Π΅Π»Π΅ ΠΏΡΠΈΠ²ΠΎΠ΄ΠΈΡΡΡ ΠΎΠΏΠΈΡΠ°Π½ΠΈΠ΅ ΡΠ΅Π³ΡΠ»ΠΈΡΠΎΠ²ΠΎΡΠ½ΡΡ ΡΠ°Π±ΠΎΡ, Π° ΡΠ°ΠΊΠΆΠ΅ ΡΠ°Π±ΠΎΡ ΠΏΠΎ ΡΠ½ΡΡΠΈΡ ΠΈ ΡΡΡΠ°Π½ΠΎΠ²ΠΊΠ΅ ΡΠ°Π·Π½ΡΡ Π²Π°ΡΠΈΠ°Π½ΡΠΎΠ² ΠΊΠΎΡΠΎΠ±ΠΎΠΊ ΠΏΠ΅ΡΠ΅Π΄Π°Ρ.
ΠΠΎΠ·ΠΌΠΎΠΆΠ½ΠΎ, Π²Π°ΠΌ Π±ΡΠ΄Π΅Ρ ΠΈΠ½ΡΠ΅ΡΠ΅ΡΠ½ΠΎ:
Π‘ΠΊΠ°ΡΠ°ΡΡ ΠΈΠ½ΡΠΎΡΠΌΠ°ΡΠΈΡ ΡΠΎ ΡΡΡΠ°Π½ΠΈΡΡΒ
1. ΠΠ²Π΅Π΄Π΅Π½ΠΈΠ΅
1.0 ΠΠ±ΡΠΈΠ΅ ΡΠ²Π΅Π΄Π΅Π½ΠΈΡ ΠΎ ΡΠ΅ΠΌΠΎΠ½ΡΠ΅
1.1 ΠΡΠ±ΠΎΡ Π΄ΠΎΠΏΠΎΠ»Π½ΠΈΡΠ΅Π»ΡΠ½ΡΡ
ΠΎΠΏΡΠΈΠΉ
1.2 ΠΠ°ΠΊ ΠΏΠΎΠ»ΡΠ·ΠΎΠ²Π°ΡΡΡΡ Π΄Π°Π½Π½ΡΠΌ ΡΡΠΊΠΎΠ²ΠΎΠ΄ΡΡΠ²ΠΎΠΌ ΠΏΠΎ ΡΠ΅ΠΌΠΎΠ½ΡΡ
1.3. Π Π°Π±ΠΎΡΠ΅Π΅ ΠΌΠ΅ΡΡΠΎ Π΄Π»Ρ ΡΠ΅ΠΌΠΎΠ½ΡΠ°
1.4. Π Π΅ΠΊΠΎΠΌΠ΅Π½Π΄Π°ΡΠΈΠΈ ΠΏΠΎ ΠΏΠΎΡΠ΅ΡΠ΅Π½ΠΈΡ ΠΌΠ°ΡΡΠ΅ΡΡΠΊΠΎΠΉ
1.5 ΠΠ΅Π·ΠΎΠΏΠ°ΡΠ½ΠΎΡΡΡ β Π³Π»Π°Π²Π½ΠΎΠ΅ ΠΏΡΠΈ ΡΠ΅ΠΌΠΎΠ½ΡΠ΅
1.6. ΠΠ½ΡΡΡΡΠΌΠ΅Π½Ρ
1.7 Π‘ΠΎΠ²Π΅ΡΡ ΠΏΡΠΎΡΠ΅ΡΡΠΈΠΎΠ½Π°Π»ΠΎΠ² ΠΏΡΠΈ ΡΠ°Π±ΠΎΡΠ΅ Ρ ΡΠ΅Π·ΡΠ±ΠΎΠ²ΡΠΌ ΡΠΎΠ΅Π΄ΠΈΠ½Π΅Π½ΠΈΠ΅ΠΌ
1.8. ΠΠΎΠ΄ΡΠ΅ΠΌ Π°Π²ΡΠΎΠΌΠΎΠ±ΠΈΠ»Ρ Ρ ΠΏΠΎΠΌΠΎΡΡΡ Π΄ΠΎΠΌΠΊΡΠ°ΡΠ°
1.9. ΠΠ΅ΡΠΈΠΎΠ΄ΠΈΡΠ΅ΡΠΊΠΎΠ΅ ΠΎΠ±ΡΠ»ΡΠΆΠΈΠ²Π°Π½ΠΈΠ΅ ΠΈ ΡΡ
ΠΎΠ΄ Π·Π° Π°Π²ΡΠΎΠΌΠΎΠ±ΠΈΠ»Π΅ΠΌ
1.10. ΠΠΎΠ΄Π΅Π»ΡΠ½ΡΠΉ ΡΡΠ΄ Π°Π²ΡΠΎΠΌΠΎΠ±ΠΈΠ»Π΅ΠΉ Ford Focus
2. ΠΠ²ΠΈΠ³Π°ΡΠ΅Π»ΠΈ
2.0 ΠΠ²ΠΈΠ³Π°ΡΠ΅Π»ΠΈ
2.1. ΠΡΠ½ΠΎΠ²Π½ΡΠ΅ ΡΠ»Π΅ΠΌΠ΅Π½ΡΡ ΠΊΠΎΠ½ΡΡΡΡΠΊΡΠΈΠΈ Π΄Π²ΠΈΠ³Π°ΡΠ΅Π»Ρ
2.2. ΠΠ°ΡΠΈΠ°Π½ΡΡ Π΄Π²ΠΈΠ³Π°ΡΠ΅Π»Π΅ΠΉ Ford Focus
2.3. Π Π°Π·Π±ΠΎΡΠΊΠ° Π΄Π²ΠΈΠ³Π°ΡΠ΅Π»Ρ
2.4. Π£ΡΡΠ°Π½ΠΎΠ²ΠΊΠ° ΡΠΈΠ»ΠΎΠ²ΠΎΠ³ΠΎ Π°Π³ΡΠ΅Π³Π°ΡΠ°
2.5. Π‘Π±ΠΎΡΠΊΠ° ΠΈ ΡΠ°Π·Π±ΠΎΡΠΊΠ° Π΄Π²ΠΈΠ³Π°ΡΠ΅Π»Ρ
2.6. ΠΡΠ½ΠΎΠ²Π½ΡΠ΅ ΠΏΡΠΎΠ²Π΅ΡΠΊΠΈ Π΄Π΅ΡΠ°Π»Π΅ΠΉ ΠΈ ΡΠ·Π»ΠΎΠ² Π΄Π²ΠΈΠ³Π°ΡΠ΅Π»Ρ
2.7. ΠΠ°ΠΌΠ΅Ρ ΠΊΠΎΠΌΠΏΡΠ΅ΡΡΠΈΠΈ
3. Π‘ΠΈΡΡΠ΅ΠΌΠ° ΡΠΌΠ°Π·ΠΊΠΈ Π΄Π²ΠΈΠ³Π°ΡΠ΅Π»Ρ
3.0 Π‘ΠΈΡΡΠ΅ΠΌΠ° ΡΠΌΠ°Π·ΠΊΠΈ Π΄Π²ΠΈΠ³Π°ΡΠ΅Π»Ρ
3.1 ΠΠ±ΡΠΈΠ΅ ΡΠ²Π΅Π΄Π΅Π½ΠΈΡ ΠΎ ΡΠΈΡΡΠ΅ΠΌΠ΅ ΡΠΌΠ°Π·ΠΊΠΈ Π΄Π²ΠΈΠ³Π°ΡΠ΅Π»Π΅ΠΉ
3.2 Π¦ΠΈΡΠΊΡΠ»ΡΡΠΈΡ ΠΌΠ°ΡΠ»Π° ΠΏΠΎΠ΄ Π΄Π°Π²Π»Π΅Π½ΠΈΠ΅ΠΌ
3.3 ΠΠΎΠ½ΡΡΠΎΠ»ΡΠ½Π°Ρ Π»Π°ΠΌΠΏΠ° Π°Π²Π°ΡΠΈΠΉΠ½ΠΎΠ³ΠΎ Π΄Π°Π²Π»Π΅Π½ΠΈΡ ΠΌΠ°ΡΠ»Π°
3.4. ΠΠΎΡΠΎΡΠ½ΠΎΠ΅ ΠΌΠ°ΡΠ»ΠΎ
3.5 ΠΡΠΎΠ²Π΅ΡΠΊΠ° ΡΡΠΎΠ²Π΅Π½Ρ ΠΌΠ°ΡΠ»Π°
3.6 ΠΠ°ΠΌΠ΅Π½Π° ΠΌΠ°ΡΠ»Π°
4. Π‘ΠΈΡΡΠ΅ΠΌΠ° ΠΎΡ
Π»Π°ΠΆΠ΄Π΅Π½ΠΈΡ
4.0 ΠΠΏΠΈΡΠ°Π½ΠΈΠ΅ ΡΠΈΡΡΠ΅ΠΌΡ ΠΎΡ
Π»Π°ΠΆΠ΄Π΅Π½ΠΈΡ
4.1. ΠΠ°Π½Π½ΡΠ΅
4.2 ΠΠ΅ΡΠ°Π»ΠΈ ΡΠΈΡΡΠ΅ΠΌΡ ΠΎΡ
Π»Π°ΠΆΠ΄Π΅Π½ΠΈΡ
4.3 ΠΡ
Π»Π°ΠΆΠ΄Π°ΡΡΠ°Ρ ΠΆΠΈΠ΄ΠΊΠΎΡΡΡ
4.4 ΠΡΠΎΠ²Π΅ΡΠΊΠ° ΡΠΈΡΡΠ΅ΠΌΡ ΠΎΡ
Π»Π°ΠΆΠ΄Π΅Π½ΠΈΡ Π½Π° Π³Π΅ΡΠΌΠ΅ΡΠΈΡΠ½ΠΎΡΡΡ
4.5 ΠΡΠΎΠ²Π΅ΡΠΊΠ° ΡΡΠΎΠ²Π½Ρ ΠΎΡ
Π»Π°ΠΆΠ΄Π°ΡΡΠ΅ΠΉ ΠΆΠΈΠ΄ΠΊΠΎΡΡΠΈ
4.6 ΠΠ°ΠΌΠ΅Π½Π° Π°Π½ΡΠΈΡΡΠΈΠ·Π°
4.7 Π‘Π±ΠΎΡΠΊΠ° ΠΈ ΡΠ°Π·Π±ΠΎΡΠΊΠ° Π²Π΅Π½ΡΠΈΠ»ΡΡΠΎΡΠ° ΠΎΡ
Π»Π°ΠΆΠ΄Π΅Π½ΠΈΡ
4.8 Π‘Π½ΡΡΠΈΠ΅, ΡΡΡΠ°Π½ΠΎΠ²ΠΊΠ° ΠΈ Π·Π°ΠΌΠ΅Π½Π° ΡΠ°Π΄ΠΈΠ°ΡΠΎΡΠ°
4.9 ΠΠ°ΠΌΠ΅Π½Π° ΡΠ»Π°Π½Π³ΠΎΠ² ΡΠΈΡΡΠ΅ΠΌΡ ΠΎΡ
Π»Π°ΠΆΠ΄Π΅Π½ΠΈΡ
4.10. ΠΠΎΠ΄ΡΠ½ΠΎΠΉ Π½Π°ΡΠΎΡ
4.11. Π’Π΅ΡΠΌΠΎΡΡΠ°Ρ
5. Π‘ΠΈΡΡΠ΅ΠΌΠ° ΠΏΠΈΡΠ°Π½ΠΈΡ
5.0 Π‘ΠΈΡΡΠ΅ΠΌΠ° ΠΏΠΈΡΠ°Π½ΠΈΡ
5.1 Π‘ΠΈΡΡΠ΅ΠΌΠ° Π²Π΅Π½ΡΠΈΠ»ΡΡΠΈΠΈ
5.2 ΠΡΠ½ΠΎΠ²Π½ΡΠ΅ ΠΊΠΎΠΌΠΏΠΎΠ½Π΅Π½ΡΡ ΡΠΈΡΡΠ΅ΠΌΡ ΠΏΠΈΡΠ°Π½ΠΈΡ
5.3 ΠΡΡΠΎΡΠΎΠΆΠ½ΠΎΠ΅ ΠΎΠ±ΡΠ°ΡΠ΅Π½ΠΈΠ΅ Ρ ΡΠΎΠΏΠ»ΠΈΠ²ΠΎΠΌ
5.4 ΠΡΠΎΠ²Π΅ΡΠΊΠ° Π²Π΅Π½ΡΠΈΠ»ΡΡΠΈΠΈ Π±Π°ΠΊΠ°
5.5 ΠΠ°ΠΌΠ΅Π½Π° ΡΠΎΠΏΠ»ΠΈΠ²Π½ΠΎΠ³ΠΎ ΡΠΈΠ»ΡΡΡΠ°
5.6 ΠΠΈΠ·Π΅Π»ΡΠ½ΠΎΠ΅ ΡΠΎΠΏΠ»ΠΈΠ²ΠΎ ΠΈ ΠΊΠΎΠ½Π΄Π΅Π½ΡΠ°Ρ
5.7 Π‘Π½ΡΡΠΈΠ΅ ΡΡΡΠ±ΠΎΠΏΡΠΎΠ²ΠΎΠ΄ΠΎΠ² ΠΈ ΡΠ»Π°Π½Π³ΠΎΠ²
5.8 ΠΠΎΠΈΡΠΊ Π½Π΅ΠΈΡΠΏΡΠ°Π²Π½ΠΎΡΡΠ΅ΠΉ ΡΠΎΠΏΠ»ΠΈΠ²Π½ΠΎΠ³ΠΎ Π½Π°ΡΠΎΡΠ°
5.9 Π‘Π½ΡΡΠΈΠ΅ ΠΈ ΡΡΡΠ°Π½ΠΎΠ²ΠΊΠ° ΡΠΎΠΏΠ»ΠΈΠ²Π½ΠΎΠ³ΠΎ Π½Π°ΡΠΎΡΠ° Π½Π° Π°Π²ΡΠΎΠΌΠΎΠ±ΠΈΠ»Π΅ Ρ Π±Π΅Π½Π·ΠΈΠ½ΠΎΠ²ΡΠΌ Π΄Π²ΠΈΠ³Π°ΡΠ΅Π»Π΅ΠΌ
5.11. ΠΠΎΠ·Π΄ΡΡΠ½ΡΠΉ ΡΠΈΠ»ΡΡΡ
6. Π£ΠΏΡΠ°Π²Π»Π΅Π½ΠΈΠ΅ ΡΠΈΠ»ΠΎΠ²ΡΠΌ Π°Π³ΡΠ΅Π³Π°ΡΠΎΠΌ ΠΈ ΠΎΡΡΠ°Π±ΠΎΡΠ°Π²ΡΠΈΠΌΠΈ Π³Π°Π·Π°ΠΌΠΈ
6.0 Π‘ΠΈΡΡΠ΅ΠΌΠ° Π²ΠΏΡΡΡΠΊΠ°
6.1. ΠΠ»ΠΎΠΊ ΡΠΏΡΠ°Π²Π»Π΅Π½ΠΈΡ EEC-V Π²ΠΏΡΡΡΠΊΠΎΠΌ
6.2. Π‘Π°ΠΌΠΎΡΡΠΎΡΡΠ΅Π»ΡΠ½Π°Ρ ΡΠ°Π±ΠΎΡΠ° Ρ ΡΠΈΡΡΠ΅ΠΌΠΎΠΉ Π²ΠΏΡΡΡΠΊΠ° ΠΌΠΎΠΆΠ΅Ρ Π±ΡΡΡ ΠΎΠ³ΡΠ°Π½ΠΈΡΠ΅Π½Π°
6.3. Π‘ΠΈΡΡΠ΅ΠΌΠ° ΠΏΠΈΡΠ°Π½ΠΈΡ Π΄ΠΈΠ·Π΅Π»Ρ β Π±Π°Π·ΠΎΠ²Π°Ρ ΠΊΠΎΠ½ΡΡΡΡΠΊΡΠΈΡ
6.4 Π ΠΎΡΠΎΡ Π΄Π°ΡΡΠΈΠΊΠ° ΡΠΏΡΠ°Π²Π»ΡΡΡΠΈΡ
ΠΈΠΌΠΏΡΠ»ΡΡΠΎΠ² ΠΈ Π΄Π°ΡΡΠΈΠΊ ΡΠ³Π»Π° ΠΏΠΎΠ²ΠΎΡΠΎΡΠ°
6.5 Π£ΡΡΡΠΎΠΉΡΡΠ²ΠΎ Ρ
ΠΎΠ»ΠΎΠ΄Π½ΠΎΠ³ΠΎ ΠΏΡΡΠΊΠ°
6.6 Π€ΠΎΡΡΡΠ½ΠΊΠΈ
6.7. Π Π΅ΠΌΠΎΠ½Ρ ΠΈ ΠΊΠΎΡΡΠ΅ΠΊΡΠΈΡΠΎΠ²ΠΊΠ° ΡΠΈΡΡΠ΅ΠΌΡ Π²ΠΏΡΡΡΠΊΠ° Π΄ΠΈΠ·Π΅Π»Ρ β ΡΠ»ΡΡΠ°ΠΉ Π΄Π»Ρ ΡΠΊΡΠΏΠ΅ΡΡΠΎΠ²
7. Π‘ΠΈΡΡΠ΅ΠΌΠ° Π·Π°ΠΆΠΈΠ³Π°Π½ΠΈΡ
7.0 Π‘ΠΈΡΡΠ΅ΠΌΠ° Π·Π°ΠΆΠΈΠ³Π°Π½ΠΈΡ
7.1. ΠΠ±ΡΠΈΠ΅ ΡΠ²Π΅Π΄Π΅Π½ΠΈΡ
7.2 ΠΠ°ΡΡΡΠΊΠ° Π·Π°ΠΆΠΈΠ³Π°Π½ΠΈΡ
7.3. Π‘Π²Π΅ΡΠΈ Π·Π°ΠΆΠΈΠ³Π°Π½ΠΈΡ
7.4. Π Π°Π±ΠΎΡΠ° Ρ ΡΠΈΡΡΠ΅ΠΌΠΎΠΉ Π·Π°ΠΆΠΈΠ³Π°Π½ΠΈΡ
8. Π‘ΡΠ΅ΠΏΠ»Π΅Π½ΠΈΠ΅
8.0 Π‘ΡΠ΅ΠΏΠ»Π΅Π½ΠΈΠ΅
8.1 ΠΠ΅ΡΠ°Π»ΠΈ ΡΡΠ΅ΠΏΠ»Π΅Π½ΠΈΡ
8.2 ΠΡΠΈΠ²ΠΎΠ΄ ΡΡΠ΅ΠΏΠ»Π΅Π½ΠΈΡ
8.3. Π Π°Π±ΠΎΡΠ° ΡΡΠ΅ΠΏΠ»Π΅Π½ΠΈΡ
8.4 ΠΠ΅ΠΏΠΎΠ»Π½ΠΎΠ΅ Π²ΡΠΊΠ»ΡΡΠ΅Π½ΠΈΠ΅ ΡΡΠ΅ΠΏΠ»Π΅Π½ΠΈΡ
8.5 ΠΠ²ΠΈΠΆΠ΅Π½ΠΈΠ΅ Π°Π²ΡΠΎΠΌΠΎΠ±ΠΈΠ»Ρ Ρ ΠΏΠΎΡΡΠΎΡΠ½Π½ΠΎ Π²ΠΊΠ»ΡΡΠ΅Π½Π½ΡΠΌ ΡΡΠ΅ΠΏΠ»Π΅Π½ΠΈΠ΅ΠΌ
8.6 ΠΠ°ΠΌΠ΅Π½Π° ΡΡΠ΅ΠΏΠ»Π΅Π½ΠΈΡ Π² ΡΠ»ΡΡΠ°Π΅, ΠΊΠΎΠ³Π΄Π° Π½Π° Π°Π²ΡΠΎΠΌΠΎΠ±ΠΈΠ»Π΅ ΡΡΡΠ°Π½ΠΎΠ²Π»Π΅Π½Π° ΠΊΠΎΡΠΎΠ±ΠΊΠ° ΠΏΠ΅ΡΠ΅Π΄Π°Ρ iB5
8.7 ΠΠ»Π°Π²Π½ΡΠΉ ΡΠΈΠ»ΠΈΠ½Π΄Ρ ΡΡΠ΅ΠΏΠ»Π΅Π½ΠΈΡ
9. ΠΠΎΡΠΎΠ±ΠΊΠ° ΠΏΠ΅ΡΠ΅Π΄Π°Ρ
9.0 ΠΠΎΡΠΎΠ±ΠΊΠ° ΠΏΠ΅ΡΠ΅Π΄Π°Ρ
9.1 Π£ΡΡΠ°Π½ΠΎΠ²ΠΊΠ° ΠΌΠ΅Ρ
Π°Π½ΠΈΠ·ΠΌΠ° ΡΠΏΡΠ°Π²Π»Π΅Π½ΠΈΡ ΠΊΠΎΡΠΎΠ±ΠΊΠΈ ΠΏΠ΅ΡΠ΅Π΄Π°Ρ iB5
9.2 Π Π΅Π³ΡΠ»ΠΈΡΠΎΠ²ΠΊΠ° ΠΌΠ΅Ρ
Π°Π½ΠΈΠ·ΠΌΠ° ΡΠΏΡΠ°Π²Π»Π΅Π½ΠΈΡ ΠΊΠΎΡΠΎΠ±ΠΊΠΈ ΠΏΠ΅ΡΠ΅Π΄Π°Ρ MTX-75
9.3 Π Π΅Π³ΡΠ»ΠΈΡΠΎΠ²ΠΊΠ° ΠΌΠ΅Ρ
Π°Π½ΠΈΠ·ΠΌΠ° ΡΠΏΡΠ°Π²Π»Π΅Π½ΠΈΡ Π°Π²ΡΠΎΠΌΠ°ΡΠΈΡΠ΅ΡΠΊΠΎΠΉ ΠΊΠΎΡΠΎΠ±ΠΊΠΈ ΠΏΠ΅ΡΠ΅Π΄Π°Ρ 4F27E
9.4 ΠΠ΅Ρ
Π°Π½ΠΈΡΠ΅ΡΠΊΠ°Ρ ΡΠ°Π·Π±Π»ΠΎΠΊΠΈΡΠΎΠ²ΠΊΠ° ΡΠ΅Π»Π΅ΠΊΡΠΎΡΠ° Π°Π²ΡΠΎΠΌΠ°ΡΠΈΡΠ΅ΡΠΊΠΎΠΉ ΠΊΠΎΡΠΎΠ±ΠΊΠΈ ΠΏΠ΅ΡΠ΅Π΄Π°Ρ 4F27E
9.5. ΠΡΠΎΠ²Π΅ΡΠΊΠ° ΡΡΠΎΠ²Π½Ρ ΠΌΠ°ΡΠ»Π° Π² ΠΊΠΎΡΠΎΠ±ΠΊΠ΅ ΠΏΠ΅ΡΠ΅Π΄Π°Ρ
9.6 Π‘Π½ΡΡΠΈΠ΅ ΠΈ ΡΡΡΠ°Π½ΠΎΠ²ΠΊΠ° ΠΊΠΎΡΠΎΠ±ΠΊΠΈ ΠΏΠ΅ΡΠ΅Π΄Π°Ρ iB5
9.7 Π‘Π½ΡΡΠΈΠ΅ ΠΈ ΡΡΡΠ°Π½ΠΎΠ²ΠΊΠ° ΠΊΠΎΡΠΎΠ±ΠΊΠΈ ΠΏΠ΅ΡΠ΅Π΄Π°Ρ ΠΠ’Π₯-75
10. ΠΡΠΈΠ²ΠΎΠ΄ ΠΏΠ΅ΡΠ΅Π΄Π½ΠΈΡ
ΠΊΠΎΠ»Π΅Ρ
10.0 ΠΡΠΈΠ²ΠΎΠ΄ ΠΏΠ΅ΡΠ΅Π΄Π½ΠΈΡ
ΠΊΠΎΠ»Π΅Ρ
10.1 ΠΡΠΎΠ²Π΅ΡΠΊΠ° Π³ΡΡΠ·Π΅Π·Π°ΡΠΈΡΠ½ΡΡ
ΡΠ΅Ρ
Π»ΠΎΠ² ΠΏΡΠΈΠ²ΠΎΠ΄Π° ΠΊΠΎΠ»Π΅Ρ
10.2. Π‘Π½ΡΡΠΈΠ΅ ΠΏΡΠΈΠ²ΠΎΠ΄Π° ΠΏΠ΅ΡΠ΅Π΄Π½ΠΈΡ
ΠΊΠΎΠ»Π΅Ρ
10.3. ΠΠ°ΠΌΠ΅Π½Π° Π³ΡΡΠ·Π΅Π·Π°ΡΠΈΡΠ½ΡΡ
ΡΠ΅Ρ
Π»ΠΎΠ² ΠΏΡΠΈΠ²ΠΎΠ΄Π° ΠΏΠ΅ΡΠ΅Π΄Π½ΠΈΡ
ΠΊΠΎΠ»Π΅Ρ
11. ΠΠ΅ΠΈΡΠΏΡΠ°Π²Π½ΠΎΡΡΠΈ ΠΏΠ΅ΡΠ΅Π΄Π½Π΅ΠΉ ΠΏΠΎΠ΄Π²Π΅ΡΠΊΠΈ
11.0 ΠΠ΅ΡΠ΅Π΄Π½ΡΡ ΠΏΠΎΠ΄Π²Π΅ΡΠΊΠ°
11.1. Π£Π³Π»Ρ ΡΡΡΠ°Π½ΠΎΠ²ΠΊΠΈ ΠΊΠΎΠ»Π΅Ρ
11.2 ΠΠ΅ΡΠ°Π»ΠΈ ΠΈ ΡΠ·Π»Ρ ΠΏΠ΅ΡΠ΅Π΄Π½Π΅ΠΉ ΠΏΠΎΠ΄Π²Π΅ΡΠΊΠΈ
11.3. ΠΠ°ΠΌΠ΅Π½Π° ΠΊΡΠ»Π°ΠΊΠ°
11.4. ΠΠ°ΠΌΠ΅Π½Π° ΡΡΡΠ°Π³Π°
11.5. ΠΠΌΠΎΡΡΠΈΠ·Π°ΡΠΎΡΠ½Π°Ρ ΡΡΠΎΠΉΠΊΠ°
11.6. Π Π°Π·Π±ΠΎΡΠΊΠ° ΠΈ ΡΠ±ΠΎΡΠΊΠ° Π°ΠΌΠΎΡΡΠΈΠ·Π°ΡΠΎΡΠ½ΠΎΠΉ ΡΡΠΎΠΉΠΊΠΈ
11.7 Π£Π³Π»Ρ ΡΡΡΠ°Π½ΠΎΠ²ΠΊΠΈ ΠΏΠ΅ΡΠ΅Π΄Π½ΠΈΡ
ΠΊΠΎΠ»Π΅Ρ
12. ΠΠ°Π΄Π½ΡΡ ΠΏΠΎΠ΄Π²Π΅ΡΠΊΠ°
12.0 ΠΠ°Π΄Π½ΡΡ ΠΏΠΎΠ΄Π²Π΅ΡΠΊΠ°
12.1 Π Π΅ΠΌΠΎΠ½Ρ Π·Π°Π΄Π½Π΅ΠΉ ΠΏΠΎΠ΄Π²Π΅ΡΠΊΠΈ
12.2. ΠΠΎΠΏΠ΅ΡΠ΅ΡΠ½Π°Ρ Π±Π°Π»ΠΊΠ°
12.3. Π‘ΡΡΠΏΠΈΡΠ° ΠΊΠΎΠ»Π΅ΡΠ°
12.4. ΠΠΎΠ΄ΡΠΈΠΏΠ½ΠΈΠΊ ΡΡΡΠΏΠΈΡΡ ΠΊΠΎΠ»Π΅ΡΠ°
12.5. ΠΠΎΠΏΠ΅ΡΠ΅ΡΠ½ΡΠΉ ΡΡΡΠ°Π³ Π½ΠΈΠΆΠ½ΠΈΠΉ (ΠΏΠ΅ΡΠ΅Π΄Π½ΠΈΠΉ)
12.6. ΠΠΎΠΏΠ΅ΡΠ΅ΡΠ½ΡΠΉ ΡΡΡΠ°Π³ Π½ΠΈΠΆΠ½ΠΈΠΉ (Π·Π°Π΄Π½ΠΈΠΉ)
12.7. ΠΠ΅ΡΡ
Π½ΠΈΠΉ ΠΏΠΎΠΏΠ΅ΡΠ΅ΡΠ½ΡΠΉ ΡΡΡΠ°Π³
12.8. Π‘ΡΠ°Π±ΠΈΠ»ΠΈΠ·Π°ΡΠΎΡ ΠΏΠΎΠΏΠ΅ΡΠ΅ΡΠ½ΠΎΠΉ ΡΡΡΠΎΠΉΡΠΈΠ²ΠΎΡΡΠΈ
12.9. ΠΡΠΎΠ΄ΠΎΠ»ΡΠ½ΡΠΉ ΡΡΡΠ°Π³
12.10. ΠΠΎΠ²ΠΎΡΠΎΡΠ½ΡΠΉ ΠΊΡΠ»Π°ΠΊ
12.11 ΠΠΌΠΎΡΡΠΈΠ·Π°ΡΠΎΡ
12.12. ΠΡΡΠΆΠΈΠ½Π°
13. Π ΡΠ»Π΅Π²ΠΎΠ΅ ΡΠΏΡΠ°Π²Π»Π΅Π½ΠΈΠ΅
13.0 Π ΡΠ»Π΅Π²ΠΎΠ΅ ΡΠΏΡΠ°Π²Π»Π΅Π½ΠΈΠ΅
13.1 Π’Π΅Ρ
Π½ΠΈΡΠ΅ΡΠΊΠΎΠ΅ ΡΠΎΡΡΠΎΡΠ½ΠΈΠ΅ ΡΡΠ»Π΅Π²ΠΎΠ³ΠΎ ΡΠΏΡΠ°Π²Π»Π΅Π½ΠΈΡ ΠΈ ΠΏΠ΅ΡΠ΅Π΄Π½Π΅ΠΉ ΠΏΠΎΠ΄Π²Π΅ΡΠΊΠΈ
13.2 ΠΡΠΎΠ²Π΅ΡΠΊΠ° Π·Π°Π·ΠΎΡΠΎΠ² Π² ΡΡΠ»Π΅Π²ΠΎΠΌ ΡΠΏΡΠ°Π²Π»Π΅Π½ΠΈΠΈ
13.3 ΠΡΠΎΠ²Π΅ΡΠΊΠ° Π·Π°ΡΠΈΡΠ½ΡΡ
ΡΠ΅Ρ
Π»ΠΎΠ² Π·ΡΠ±ΡΠ°ΡΠΎΠΉ ΡΠ΅ΠΉΠΊΠΈ
13.4 ΠΡΠΎΠ²Π΅ΡΠΊΠ° Π½Π°ΠΊΠΎΠ½Π΅ΡΠ½ΠΈΠΊΠΎΠ² ΡΡΠ»Π΅Π²ΡΡ
ΡΡΠ³ ΠΈ Π³ΡΡΠ·Π΅Π·Π°ΡΠΈΡΠ½ΡΡ
ΡΠ΅Ρ
Π»ΠΎΠ²
13.5 ΠΠ°ΠΌΠ΅Π½Π° Π½Π°ΠΊΠΎΠ½Π΅ΡΠ½ΠΈΠΊΠΎΠ² ΡΡΠ»Π΅Π²ΡΡ
ΡΡΠ³
13.6 ΠΠ°ΠΌΠ΅Π½Π° Π³ΡΡΠ·Π΅Π·Π°ΡΠΈΡΠ½ΡΡ
ΡΠ΅Ρ
Π»ΠΎΠ² ΡΡΠ»Π΅Π²ΠΎΠ³ΠΎ ΠΌΠ΅Ρ
Π°Π½ΠΈΠ·ΠΌΠ°
13.7 Π Π°Π·Π±ΠΎΡΠΊΠ° ΠΈ ΡΠ±ΠΎΡΠΊΠ° ΡΡΠ»Π΅Π²ΠΎΠ³ΠΎ ΠΌΠ΅Ρ
Π°Π½ΠΈΠ·ΠΌΠ°
13.8 Π£Π΄Π°Π»Π΅Π½ΠΈΠ΅ Π²ΠΎΠ·Π΄ΡΡ
Π° ΠΈΠ· Π³ΠΈΠ΄ΡΠ°Π²Π»ΠΈΡΠ΅ΡΠΊΠΎΠΉ ΡΠΈΡΡΠ΅ΠΌΡ Π³ΠΈΠ΄ΡΠΎΡΡΠΈΠ»ΠΈΡΠ΅Π»Ρ ΡΡΠ»Π΅Π²ΠΎΠ³ΠΎ ΡΠΏΡΠ°Π²Π»Π΅Π½ΠΈΡ
13.9 ΠΠ°ΠΌΠ΅Π½Π° Π½Π°ΡΠΎΡΠ° Π³ΠΈΠ΄ΡΠΎΡΡΠΈΠ»ΠΈΡΠ΅Π»Ρ ΡΡΠ»Π΅Π²ΠΎΠ³ΠΎ ΡΠΏΡΠ°Π²Π»Π΅Π½ΠΈΡ
14. Π’ΠΎΡΠΌΠΎΠ·Π½Π°Ρ ΡΠΈΡΡΠ΅ΠΌΠ°
14.0 Π’ΠΎΡΠΌΠΎΠ·Π½Π°Ρ ΡΠΈΡΡΠ΅ΠΌΠ°
14.1 ΠΡΠΎΠ²Π΅ΡΠΊΠ° ΡΡΠΎΠ²Π½Ρ ΡΠΎΡΠΌΠΎΠ·Π½ΠΎΠΉ ΠΆΠΈΠ΄ΠΊΠΎΡΡΠΈ
14.2 ΠΡΠΎΠ²Π΅ΡΠΊΠ° ΡΠΎΡΡΠΎΡΠ½ΠΈΡ ΡΠΎΡΠΌΠΎΠ·Π½ΠΎΠΉ ΡΠΈΡΡΠ΅ΠΌΡ
14.3 ΠΡΠΎΠ²Π΅ΡΠΊΠ° Π²Π°ΠΊΡΡΠΌΠ½ΠΎΠ³ΠΎ ΡΡΠΈΠ»ΠΈΡΠ΅Π»Ρ ΡΠΎΡΠΌΠΎΠ·ΠΎΠ²
14.4. ΠΡΠΎΠ²Π΅ΡΠΊΠ° ΡΠ°Π±ΠΎΡΠΎΡΠΏΠΎΡΠΎΠ±Π½ΠΎΡΡΠΈ ΡΠΎΡΠΌΠΎΠ·ΠΎΠ²
14.5 Π£Π΄Π°Π»Π΅Π½ΠΈΠ΅ Π²ΠΎΠ·Π΄ΡΡ
Π° ΠΈΠ· ΡΠΎΡΠΌΠΎΠ·Π½ΠΎΠΉ ΡΠΈΡΡΠ΅ΠΌΡ
14.6 ΠΠ°ΠΌΠ΅Π½Π° ΡΠΎΡΠΌΠΎΠ·Π½ΠΎΠΉ ΠΆΠΈΠ΄ΠΊΠΎΡΡΠΈ
14.7 ΠΠ°ΠΌΠ΅Π½Π° ΠΏΠΈΡΠ°ΡΡΠ΅Π³ΠΎ Π±Π°ΡΠΊΠ° Ρ Π³Π»Π°Π²Π½ΠΎΠ³ΠΎ ΡΠΎΡΠΌΠΎΠ·Π½ΠΎΠ³ΠΎ ΡΠΈΠ»ΠΈΠ½Π΄ΡΠ°
14.8. ΠΠ»Π°Π²Π½ΡΠΉ ΡΠΎΡΠΌΠΎΠ·Π½ΠΎΠΉ ΡΠΈΠ»ΠΈΠ½Π΄Ρ
14.9. ΠΠ°ΠΊΡΡΠΌΠ½ΡΠΉ ΡΡΠΈΠ»ΠΈΡΠ΅Π»Ρ ΡΠΎΡΠΌΠΎΠ·ΠΎΠ²
14.11. ΠΠ°ΠΌΠ΅Π½Π° ΡΠΎΡΠΌΠΎΠ·Π½ΡΡ
Π½Π°ΠΊΠ»Π°Π΄ΠΎΠΊ
14.12. Π‘Π½ΡΡΠΈΠ΅ ΠΈ ΡΡΡΠ°Π½ΠΎΠ²ΠΊΠ° ΡΠΎΡΠΌΠΎΠ·Π½ΡΡ
Π΄ΠΈΡΠΊΠΎΠ²
14.13. Π’ΠΎΡΠΌΠΎΠ·Π½Π°Ρ ΡΠΊΠΎΠ±Π° ΠΈ ΠΏΠΎΡΡΠ½ΠΈ ΡΠΎΡΠΌΠΎΠ·Π½ΡΡ
ΡΠΈΠ»ΠΈΠ½Π΄ΡΠΎΠ²
14.14. Π‘ΡΡΠΏΠΈΡΠ° Π·Π°Π΄Π½Π΅Π³ΠΎ ΠΊΠΎΠ»Π΅ΡΠ°
14.15. Π‘ΡΠΎΡΠ½ΠΎΡΠ½ΡΠΉ ΡΠΎΡΠΌΠΎΠ·
15. ΠΠ»Π΅ΠΊΡΡΠΎΠΎΠ±ΠΎΡΡΠ΄ΠΎΠ²Π°Π½ΠΈΠ΅
15.0 ΠΠ»Π΅ΠΊΡΡΠΎΠΎΠ±ΠΎΡΡΠ΄ΠΎΠ²Π°Π½ΠΈΠ΅
15.1. ΠΡΠ½ΠΎΠ²Π½ΡΠ΅ ΠΏΠΎΠ½ΡΡΠΈΡ
15.2. ΠΠΊΠΊΡΠΌΡΠ»ΡΡΠΎΡΠ½Π°Ρ Π±Π°ΡΠ°ΡΠ΅Ρ
15.3 Π Π΅ΠΌΠΎΠ½Ρ ΡΡΠ°ΡΡΠ΅ΡΠ°
15.4. ΠΠ΅Π½Π΅ΡΠ°ΡΠΎΡ
15.5. Π Π΅ΠΌΠ΅Π½Ρ ΠΏΡΠΈΠ²ΠΎΠ΄Π° Π²ΡΠΏΠΎΠΌΠΎΠ³Π°ΡΠ΅Π»ΡΠ½ΡΡ
Π°Π³ΡΠ΅Π³Π°ΡΠΎΠ²
15.6 Π‘Π½ΡΡΠΈΠ΅ ΡΡΠ°ΡΡΠ΅ΡΠ°
15.7. ΠΠ»Π΅ΠΊΡΡΠΎΠ΄Π²ΠΈΠ³Π°ΡΠ΅Π»Ρ ΡΡΠ΅ΠΊΠ»ΠΎΠΎΡΠΈΡΡΠΈΡΠ΅Π»Ρ Π²Π΅ΡΡΠΎΠ²ΠΎΠ³ΠΎ ΡΡΠ΅ΠΊΠ»Π°
15.8 ΠΠ»Π΅ΠΊΡΡΠΎΠ΄Π²ΠΈΠ³Π°ΡΠ΅Π»Ρ ΡΡΠ΅ΠΊΠ»ΠΎΠΎΡΠΈΡΡΠΈΡΠ΅Π»Ρ Π·Π°Π΄Π½Π΅Π³ΠΎ ΡΡΠ΅ΠΊΠ»Π°
15.9. ΠΠ°ΡΡΠΆΠ½ΠΎΠ΅ ΠΎΡΠ²Π΅ΡΠ΅Π½ΠΈΠ΅
16. Π‘ΠΈΡΡΠ΅ΠΌΠ° Π²ΡΠΏΡΡΠΊΠ° ΠΎΡΡΠ°Π±ΠΎΡΠ°Π²ΡΠΈΡ
Π³Π°Π·ΠΎΠ²
16.0 Π‘ΠΈΡΡΠ΅ΠΌΠ° Π²ΡΠΏΡΡΠΊΠ° ΠΎΡΡΠ°Π±ΠΎΡΠ°Π²ΡΠΈΡ
Π³Π°Π·ΠΎΠ²
16.1. ΠΡΡΠ°Π±ΠΎΡΠ°Π²ΡΠΈΠ΅ Π³Π°Π·Ρ
16.2 ΠΡΠ°ΠΊΡΠΈΡΠ΅ΡΠΊΠΈΠ΅ ΡΠΎΠ²Π΅ΡΡ Π΄Π»Ρ ΡΠ°Π±ΠΎΡΡ Ρ ΡΠΈΡΡΠ΅ΠΌΠΎΠΉ Π²ΡΠΏΡΡΠΊΠ° ΠΎΡΡΠ°Π±ΠΎΡΠ°Π²ΡΠΈΡ
Π³Π°Π·ΠΎΠ²
16.3 ΠΡΠΎΠ²Π΅ΡΠΊΠ° ΡΠΈΡΡΠ΅ΠΌΡ Π²ΡΠΏΡΡΠΊΠ° ΠΎΡΡΠ°Π±ΠΎΡΠ°Π²ΡΠΈΡ
Π³Π°Π·ΠΎΠ²
16.4. ΠΠ°ΠΌΠ΅Π½Π° ΡΠΈΡΡΠ΅ΠΌΡ Π²ΡΠΏΡΡΠΊΠ° ΠΎΡΡΠ°Π±ΠΎΡΠ°Π²ΡΠΈΡ
Π³Π°Π·ΠΎΠ²
17. ΠΠΎΠ»Π΅ΡΠ° ΠΈ ΡΠΈΠ½Ρ
17.0 ΠΠΎΠ»Π΅ΡΠ° ΠΈ ΡΠΈΠ½Ρ
17.1. ΠΠΎΠ»Π΅ΡΠ° ΠΈ ΡΠΈΠ½Ρ
17.2. ΠΠ°ΠΌΠ΅Π½Π° ΠΊΠΎΠ»Π΅Ρ
18. ΠΡΠΈΠ»ΠΎΠΆΠ΅Π½ΠΈΠ΅
18.0 ΠΡΠΈΠ»ΠΎΠΆΠ΅Π½ΠΈΠ΅
18.1. ΠΠΎΠΌΠ΅Π½ΡΡ Π·Π°ΡΡΠΆΠΊΠΈ ΡΠ·Π»ΠΎΠ² ΠΈ Π΄Π΅ΡΠ°Π»Π΅ΠΉ Π°Π²ΡΠΎΠΌΠΎΠ±ΠΈΠ»Ρ, ΠΒ·ΠΌ
19. Π‘Ρ
Π΅ΠΌΡ ΡΠ»Π΅ΠΊΡΡΠΈΡΠ΅ΡΠΊΠΈΡ
ΡΠΎΠ΅Π΄ΠΈΠ½Π΅Π½ΠΈΠΉ
19.0 Π‘Ρ
Π΅ΠΌΡ ΡΠ»Π΅ΠΊΡΡΠΈΡΠ΅ΡΠΊΠΈΡ
ΡΠΎΠ΅Π΄ΠΈΠ½Π΅Π½ΠΈΠΉ
19.1 ΠΠΎΡΡΡΠΎΠ΅Π½ΠΈΠ΅ ΡΡ
Π΅ΠΌ ΡΠ»Π΅ΠΊΡΡΠΈΡΠ΅ΡΠΊΠΈΡ
ΡΠΎΠ΅Π΄ΠΈΠ½Π΅Π½ΠΈΠΉ
19.2. ΠΡΠ΅Π΄ΠΎΡ
ΡΠ°Π½ΠΈΡΠ΅Π»ΠΈ ΠΈ ΡΠ΅Π»Π΅
19.3 Π£ΡΠ»ΠΎΠ²Π½ΡΠ΅ ΠΎΠ±ΠΎΠ·Π½Π°ΡΠ΅Π½ΠΈΡ ΠΊ ΡΠ»Π΅ΠΊΡΡΠΈΡΠ΅ΡΠΊΠΈΠΌ ΡΡ
Π΅ΠΌΠ°ΠΌ
19.4. Π‘Ρ
Π΅ΠΌΡ
automend.ru